早期简单矿石收音机发展成为电子管收音机时曾被称为电子技术中“天之骄子”的电子管,后来又被小小的晶体管所取代。今天,晶体管收音机几乎占领了过去电子管收音机的全部领域。随着集成电路的发展,晶体管也势必要被集成电路收音机所淘汰。
如果说从矿石机到电子管收音机和从电子管收音机发展为晶体管收音机,是收音机技术的二次飞跃,则集成电路收音机对晶体管收音机可称为一次技术革命。因为集成电路除了能充当过去收音机中的线性电路以外,还把数字电路带进了收音机。例如分离元件收音机中的频率刻度盘,几十年来都是大同小异的机械传动机构,而今天新型收音机中,已由数字集成电路组成的数字频率显示器所取代,从而全部取消了过去收音机度盘的机械传动部分,使频率的指示以百倍的精度高于传统的机械式频率度盘。集成电路进入收音机领域后,将会出现多种类型的收音机,如:集成电路数字时钟收音机、集成电路数字频率显示收音机、集成电路立体声收音机、集成电路扫描式收音机、集成电路收音——对讲二用机,以及集成电路收音——录音两用机也必将大量出现,将为收音机的发展带来革命性的变革。本文将对只具有收音一种功能的集成电路收音机作一些介绍,并以国外集成电路为例来说明。
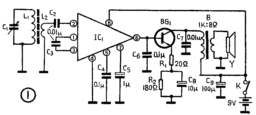
当你打开一台高放式集成电路收音机时,就会发现这台收音机的电路简单得令人难以相信。机中除了必不可少的喇叭、磁性天线和干电池外,只有一片手指盖大小的集成电路和一个晶体三极管,还有几个电阻、电容器。图1就是这种收音机的全部电路。

图1中的L\(_{1}\)和C1组成了调谐回路。L\(_{2}\)是天线信号输入到集成电路IC1的输入线圈,C\(_{2}\)是交连电容。集成电路IC1虽小,但其内部却包含有:放大兼自动增益控制电路、高频放大电路、检波电路等几部分。所以集成电路IC\(_{1}\)的第⑥端子输出的信号,就是经过高频放大和检波后的音频信号了。由IC1输出的音频信号再经过一只功放晶体三极管BG\(_{1}\),就能推动扬声器Y放声了。
图2虚线中的部分,就是集成电路IC\(_{1}\)中的各个部分。图中的C2、C\(_{3}\)是外接的交连电容,其他均为外接的退耦和旁路电容器。图中IC1的常用型号是LM172,此集成电路片子的电流消耗为1.9毫安。图1电路的总消耗电流为10毫安。

图3是一个高输入阻抗集成电路收音机的电路图(低放部分省略)。选用高输入阻抗集成电路的优点是可以省去天线的次级线圈,而能使集成电路的输入端直接与天线调谐回路连接。图3中的集成电路IC\(_{2}\)的特点是各高放级的交连电容器均由集成片子来完成,而无需外接电容器。所以集成电路片子的引出线极少。使电路更为简化。图4是集成电路IC2的内部构造。它由高阻抗输入级(可以保证L\(_{1}\)、C1调谐回路的Q值)、三个高频放大级、一个检波级组成。图3中R\(_{2}\)是负载电阻,并与R1、C\(_{2}\)组成控制IC2高阻输入级的自动增益控制电路。集成电路IC\(_{2}\)的型号是ZN414,所需电源电压可在1.1~1.5伏之间选取,一般工作电压为1.3伏,其内部构造如图5,其中的一个晶体三极管的构造如图6。



以上介绍的两种集成电路,IC\(_{1}\)是低阻输入式的;IC2是高阻输入式的。这二种集成电路各有特色,前者输出功率较大,后者使用简单,但输出功率较小。
关于超外差式集成电路收音机,其电路根据集成化的程度不同,常见的可分以下三种。
第一种是按电路功能分级集成化,也就是各级均有专用的集成电路片子。例如变频级集成电路片子有μPC30C等;中放级集成电路片子有MC1550、TA7105P等;低放级集成电路片子有TAA611/B等。设计收音机时,只要选用不同功能的集成电路片子进行组合就行了。但是由于这种形式用的片子较多,所以是一种集成度较低的方式。
第二种是一种比前者集成度为高的方法。它是将混频与本振(或变频)、中放级(可以是多级)、检波级等合并制造在一片集成电路片子内,但功放前级单独由另一片集成电路来完成。这种从混频到检波的集成电路常用的型号有TBA651等,而低放前级的集成电路型号有TAA611/B等。
第三种是高度集成化的电路,即一个集成电路片子内包括了:混频、本振、中放(多级)、检波、低放等全部功能。这种类型常用的集成电路片子型号有TAD100等。
但是,当前上述三种类型的集成电路收音机中有一个共同特点,就是功放级大多采用分离元件晶体三极管来担任,小至几十毫瓦,大至几十瓦输出功率的都是如此。
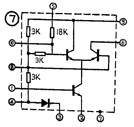
集成电路收音机所用的集成电路片子的特点之一是:尽量不用或少用电容器。由于集成电路制造工艺的限制,供收音机用的集成电路片子的特点之一是:尽量不用或少用电容器。由于集成电路制造工艺的限制,供收音机用的集成电路,大部分是用电阻耦合的差分放大电路和复合管电路。以集成电路片子TBA651为例,就是一个等效于17个NPN型晶体三极管和21个电阻的组合单元电路。所以在集成电路收音机中,必需应用电容器的地方,常采用外接的办法。例如MC1550型中放集成电路片子内部没有电容器(见图7),有关的电容器都接在外部(见图8)。


集成电路收音机的特点之二是不怕多用管子。在分离元件的收音机中,一台收音机所用管子(电子管或晶体管)的数量常是衡量整机性能的间接标志。为了节省一只管子,电路设计人员常常费尽脑子想方设法,甚至不怕电路复杂而采用来复式电路等。集成电路收音机就完全不同了,与分离元件正相反,只要简化集成片子以外的电路,在集成电路片子内部多用一些管子是不大计较的。这是因为今天在一个几毫米见方的小硅片上加工出几千只三极管已非难事。
特点之三是对于电感元件的处理与电容器相似,也是以外接形式来连接的。对于中频变压器的处理,在集成度较高的收音机中,是采用集中高Q带通滤波器的方式实现的。图9就是收音机采用TAD100型集成电路时的中频变压器组件图。

特点之四是功率放大级,多数采用NPN和PNP互补推挽电路。(俊涛)