小明:老师,我对无线电制作活动很感兴趣,您能介绍我做点小实验吗?
老师:好!你就和大勇一起做几个“点亮小电灯”的实验吧!
小明:那我知道,把小灯泡和开关、电池串联起来,开关一接通灯泡就会亮起来。
老师:对!那是用开关控制了电灯中电流的通断。我们也可以把一只三极管当开关,用来控制电路的通断。你看,大勇同学刚做了一个小玩具(手指图1a那样的小盒),只要用手一摸这个盒子上的两个铜片,小电珠就会亮起来。

小明:咦!这两个铜片并没有接通啊,大勇,这是什么道理?
大勇:(指着图1b)这是我做的玩具的电路,手摸在铜片上时,铜片虽然没有接触,电流却能通过我们手指头的电阻从三极管里流过。
小明:手指头电阻挺大的,电压又低,这个电流一定很小吧?
大勇:对,只有20微安左右,可是它是流过三极管基极和发射极的。你们记得书上介绍的三极管工作的基本原理吗?
小明:啊,我懂了,书上说的三极管的基本工作原理是“通过三极管基极电流的微小变化能引起集电极电流的极大变化。现在基极有了几十微安的电流,三极管集电极电流就很大,能使和它串联的小电珠发光。
老师:对,这就是三极管的放大作用。
小明:那么为什么要用两只三极管这样连在一起呢?
老师:这是“复合管”的形式,这样一来三极管的放大能力可以大大增加。
大勇:我看过书上的计算公式,复合管的电流放大倍数等于两只管子放大倍数的乘积。这只小电珠要用100毫安电流通过就能发光的。普通手电筒电珠却要300毫安才行,不合用。
老师:你们计算一下现在这个复合管放大倍数是多少?
小明:那就用100毫安除以20微安,哟,得几千倍呢?
大勇:是的,我挑两只放大倍数是100左右的管子就行了。BG\(_{1}\)管可选用3DG6,BG2管可选用3DG12。
小明:用别的型号的管子行吗?
大勇:BG\(_{1}\)管可用3DK2、3DK3代替,BG2管可用3DK4、3DK8、3DK9等代替。
小明:老师,是不是只要在这两个铜片位置上随便连一个电阻,都能使灯泡正常发光。
大勇:(插话)那可不行。电阻太大了,三极管电流太小,电珠根本不亮,而有—次我不小心把两个铜片连在了一起,就等于接进去一个很小的电阻,只见灯光猛一闪,把三极管烧坏了。
老师:对,这是因为三极管基极电流太大的缘故,实验时要小心。不过小明的想法也有道理,要是我们在这个位置接一个电阻值能改变的元件,那就能通过它来控制三极管的通断,使电珠亮或灭。这就是三极管的开关作用。
小明:用什么元件呢?
大勇:老师,书上说半导体材料的电阻大小会随光的照射而改变,这是它的光敏性。
老师:对呀,利用这种特性有关工厂生产“光电管”。我们做小实验时可用3AG21型晶体管改制成光电管。具体制作方法是,找一个3AG21型晶体管,用锉刀把管子外壳顶部锉掉,使光能照进去,如图2所示。用万用表电阻档一量就会发现只要一有光照到管子里,发射极和集电极之间的电阻马上会变小,这就能当一支“光电管”用了。

小明:噢,把它接到这个电路里,不就成了一个自动控制的电灯了吗?用光一照,小电珠就亮,真有意思!
老师:小明的想法很好,不过还得实际试一试才行。你就回家做这个实验吧。
(一星期以后,小明拿着一个小盒来找老师)
小明:老师,实验做成了(指着图3),这是我的光控小实验电路。

老师:好极了,让我试试(把小盒内的“光电管”放在太阳光下照,小电珠就发亮),这个小实验你做成了。小明,你再想一想,如要想在没有光照到上面时小电珠发亮,而用光一照这个“光电管”,小电珠就不亮,你看怎么改动才好呢?
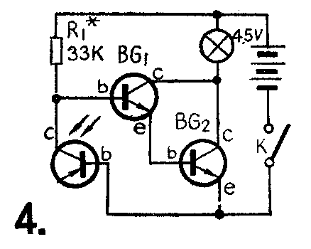
小明:啊,想出来了。我马上改一下电路,只要把“光电管”接到三极管的发射极和基极之间(手指图4),它和上面这个电阻起分压作用,一有光照时,“光电管”的电阻减小,它上面的电压降也减小,三极管基极电压降低,基极电流变小,小电珠就不亮了。老师,您看对吗?

老师:对的。你是怎样调整R\(_{1}\)的阻值的?
小明:R\(_{1}\)的阻值可这样来调整:电路连接好后,接上电源,在光电管无光照射时,小电珠就应亮,如果电珠发光很暗,甚至不发光,这时可适当减小R1阻值,直至小电珠发亮。R\(_{1}\)调整好后,用手电筒的光或用太阳光直接照在光电管上,小电珠即熄灭,小实验就成功了。

我把有关的元器件安装在75×40的胶木板上。此板上已预先打好小孔,每孔上下、左右间隔均为10毫米,并铆上铆钉。我把胶木板与三节电池都装入刮脸刀盒内(手指图6a那样小盒),在盒盖与盒底接缝处用胶布封住。

老师:小明,你肯动脑筋,又做了实验,这样就能学到不少知识。(陈鹏飞)