封三所列陶瓷滤波器为上海无线电一厂的产品。
陶瓷滤波器是由一个或多个压电陶瓷振子为主所组成的一种滤波器,与其他滤波器相比,有体积小、重量轻、成本低、稳定可靠等特点。
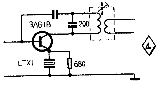
LTX1陶瓷滤波器(包括LTX1A与LTX1B),它的旧型号为2L465,它的结构示意图见图①,其中图1(a)为压电陶瓷振子的外形,图1(b)为等效电路图。LTX1陶瓷滤波器是使用在调幅晶体管收音机里,它在中放级晶体管发射极上代替旁路电容,如图4所示。


3L465陶瓷滤波器使用在调幅晶体管收音机里,它能直接取代中放级的1~2只中频变压器。
LTBl0.7陶瓷滤波器的结构示意图见图2,它使用在调频晶体管收音机中作中放选择性回路。

LT465H多级组合型陶瓷滤波器的结构示意图见图3。此滤波器具有频带宽、选择性高的特点,适用于中、高级调幅晶体管收音机中作集中选择性回路。现将封三表格中的几项参数简述如下:

1.最大输出频率(f\(_{M}\)):通带中衰耗最小点的频率。
2.中心频率(f\(_{o}\)):在通带边界上相对衰耗达到规定值(一般为-3dB、-6dB)的两个截止频率的几何平均值。实际上常用算术平均值已够准确。
3.通带宽度(△f):相对衰耗等于或小于规定值(一般为-3dB、-6dB)的频率间隔。如曲线(六)所示。
4.通带插入衰耗(B):滤波器接入传输系统中而产生的衰耗。
5.通带波动(△B):在通带中最大衰耗与最小衰耗之差。
6.阻带宽度(△f):相对衰耗等于或小于规定值(一般为-40dB、-50dB、-60dB)的频率间隔。
7.阻带防卫度(B\(_{Z}\)):在规定的阻带内,最小相对衰耗。
8.输入阻抗(Z\(_{sr}\)):当滤波器终端接有规定的负载阻抗时,它对信号源所呈现的阻抗。
9.输出阻抗(Z\(_{sc}\)):当滤波器始端接规定的信号源阻抗时,它对负载所呈现的阻抗。(沈荣章)
