四、激励级(BG\(_{3}\))的计算:
1.决定BG\(_{3}\)的集电极电流Ic3。BG\(_{3}\)是一个普通的甲类放大器。当R10较大时,它的交流负载近似为BG\(_{4}\)、BG5的输入阻抗。为了使信号不失真,可取I\(_{c3}\)≈3ib4max=3i\(_{b5max}\)=3ic4max/h\(_{fe4}\)。
2.决定BG\(_{3}\)的集电极电阻。由于BG3集电极对地直流电压约为零伏,所以R\(_{c3}\)≈Ec/I\(_{c3}\)。Rc3由R\(_{9}\)、R10、W\(_{2}\)及D1、D\(_{2}\)的正向电阻共同组成。因W2及D\(_{1}\)、D2的正向电阻很小,通常可认为R\(_{c3}\)≈R9+R\(_{1}\)0。对交流信号来说,R9与扬声器并联,如果R\(_{9}\)太小,会消耗过多的输出功率。但R9也不能太大,否则将使BG\(_{3}\)有效负载变小,影响BG3的电压增益。通常取\(\frac{1}{3}\)R\(_{c3}\)>R9>20R\(_{L}\)。确定R9后,便可求出R\(_{1}\)0≈Rc3-R\(_{9}\)。
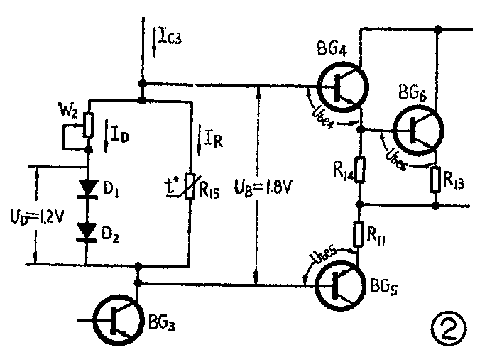
3.决定R\(_{15}\)、W2、D\(_{1}\)、D2。由图2可见,R\(_{15}\)、W2、D\(_{1}\)、D2构成BG\(_{4}\)、BG5的基极偏置电路,则U\(_{B}\)≈Ube4+U\(_{be6}\)+Ube5。硅管的U\(_{be}\)=0.6~0.7伏,锗管的Ube=0.2~0.3伏。当互补管用硅管时,D\(_{1}\)、D2也要用硅二极管;如果互补管中有一只或两只是锗管,则D\(_{1}\)、D2也要有一只或两只改用锗管。硅二极管的正向压降约0.6伏,锗二极管的正向压降约0.2伏。由图2可见:I\(_{c3}\)≈ID+I\(_{R}\)。

为了能得到满意的补偿,I\(_{D}\)与IR需有合适的比例。我们实验的结果是:要使2CP型二极管有较好的稳压效果,I\(_{D}\)需在3毫安以上。但ID也不能太大,因为这会使I\(_{R}\)减小、R15加大,如果R\(_{15}\)超过1千欧,温度补偿便不够。Ic3通常为5~10毫安,较合适的比例是:I\(_{D}\)∶IRe≈2∶1。
确定I\(_{D}\)与IR后,便可计算出R\(_{15}\)和W2的使用值:R\(_{15}\)=UB/I\(_{R}\),W2=(U\(_{B}\)-UD)/I\(_{D}\)。
4.计算自举电容器C\(_{5}\)。C5在通频带内的容抗只有远小于R\(_{9}\),才能保证BG4、BG\(_{5}\)对BG3的输出端来说处于共射组态。因此可取:C\(_{5}\)=(3~10)/2πf低R\(_{9}\)。式中f低为放大器的低频下限频率。
5.选择BG\(_{3}\)。由于BG3的c-e结之间直流电压约为E\(_{c}\),在最大输出时,其集电极上叠加有峰值接近于Ec的信号电压。所以要求BG\(_{3}\)的BVceo>2E\(_{c}\);Pcm》E\(_{c}\)·Ic3。
五、差动放大级(BG\(_{1}\)、BG2)的计算。
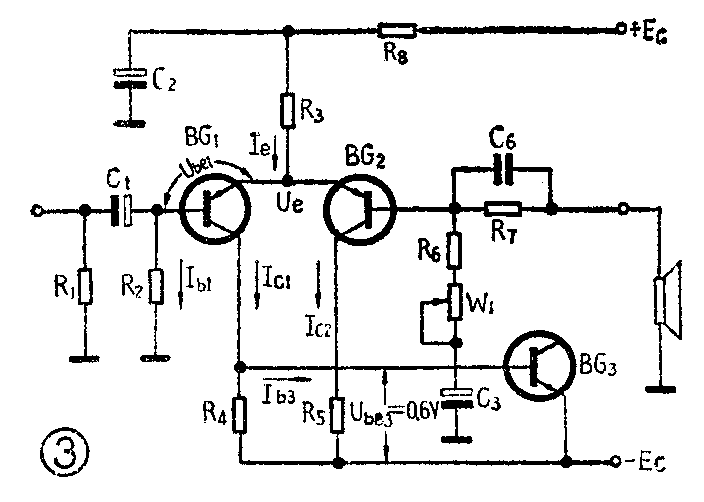
1.决定BG\(_{1}\)、BG2的集电极电流:BG\(_{1}\)、BG2集电极电流的大小对放大器的失真影响不大,一般可取I\(_{c1}\)=Ic2=0.5~2毫安。电流过大,晶体管功耗加大;电流过小,又会降低放大器的开环增益。
2.求发射极电阻R\(_{e}\):由图3可知,Ue=U\(_{be1}\)+Ib4·R\(_{2}\),其值很小,计算Re时可视U\(_{e}\)为零伏。所以Re≈E\(_{c}\)/Ie≈E\(_{c}\)/(Ic1+I\(_{c2}\))。Re由R\(_{8}\)、R3串联而成,R\(_{8}\)起退耦作用,一般可取R8≈(0.1~0.33)R\(_{e}\),R3=R\(_{e}\)-R8。

3.计算退耦电容C\(_{2}\):可取C2≥(3~10)/2πf\(_{低}\)R8。
4.计算集电极电阻R\(_{4}\)、R5。R\(_{4}\)=Ube3/(I\(_{c1}\)-Ib3)≈U\(_{be3}\)/Ic1。当BG\(_{3}\)为硅管时,Ube3=0.6伏。R\(_{5}\)=R4。
5.选择基极电阻R\(_{2}\)、R7;R\(_{2}\)的大小决定整个放大器的输入阻抗,常在15~47千欧范围内选择。为了使Ic1与I\(_{c2}\)尽量接近,可取R7=R\(_{2}\)。但如想获得更强的直流负反馈,R7也可小于R\(_{2}\)。
6.选择BG\(_{1}\)、BG2:由于BG\(_{1}\)或BG2的U\(_{ce}\)约等于Ec,所以其集电极功耗P\(_{c1}\)=Pc2≈I\(_{c1}\)·Ec。
为了使差动放大器能稳定工作,BG\(_{1}\)、BG2应选取P\(_{cm}\)≥5Pc1、BVceo>1.2E\(_{c}\)。
BG\(_{1}\)、BG2反向电流越小越好,并应按U\(_{be}\)、hfe配对。从稳定性考虑,BG\(_{1}\)、BG2用硅管比用锗管好。
六、其它元件的计算:
1.负反馈电路:(R\(_{6}\)十W1)的数值由电路所要求的电压增益来决定。电压增益K\(_{u}\)=U出/U\(_{入}\)=\(\sqrt{P}\)omax·R\(_{L}\)/U入。对于负反馈放大器来说,K\(_{u}\)=Kuo/(1+K\(_{uo}\)·F),式中Kuo为放大器的开环电压增益, F为反馈系数。由于OCL电路有很深的负反馈,即K\(_{uo}\)·F》1,1+Kuo·F≈K\(_{uo}\)·F,因此Ku≈K\(_{uo}\)/Kuo·F=1/F。而F=(R\(_{6}\)+W1)/(R\(_{7}\)+R6+W\(_{1}\)),当R7》R\(_{6}\)+W1时,上式可简化为F≈(R\(_{6}\)+W1)/R\(_{7}\),所以Ku≈1/F≈R\(_{7}\)/(R6+W\(_{1}\))。由此可以估算出R6+W\(_{1}\)≈R7/K\(_{u}\)。W1用来微调放大器增益,如对K\(_{u}\)无严格要求,R6+W\(_{1}\)可用一只固定电阻代替。C9的大小由下式决定:C\(_{3}\)≥(3~10)/2πf低·(R\(_{6}\)+W1)。
2.输入电路的计算:R\(_{1}\)的大小以不明显降低放大器的输入阻抗为前提,一般选R1=(3~5)R\(_{2}\);C1=(3~10)/2πf\(_{低}\)·R2。C\(_{1}\)最好不用电解电容,如果选用,应使耐压高一些。
3. R\(_{12}\)、C7、C\(_{4}\)、C6的选取:如果R\(_{12}\)、C7要对负载阻抗作出完全补偿,便应满足R\(_{12}\)=ry和L\(_{y}\)/C7= r\(_{y}\)\(^{2}\),这里ry和L\(_{y}\)分别是扬声器的电阻分量和电感分量。但这样一来,C7的容量将很大(几微法到几十微法),R\(_{12}\)要消耗大量的信号功率,扬声器也得不到高音信号。因此,不能单根据补偿条件确定R12和C\(_{7}\),还应照顾到不影响高音输出和少消耗有用信号功率。
为了使放大器在高频时仍有适当负载,可取R\(_{12}\)≈RL;如果让C\(_{7}\)在通频带之外才起作用,则C7=1/2πf\(_{高}\)·R12,式中f\(_{高}\)是放大器的高频上限频率。
C\(_{4}\)、C6可从0~220微微法范围选取,其数值大小影响到晶体管的f\(_{T}\)和电路的反馈深度,常通过实验来决定具体数值。在调试中如发现电路有自激振荡或高频响应差,可增减C4、C\(_{6}\)的容量。没有自激时可取消C4。
4.在放大器输出端加装保险丝BX,能对扬声器起保护作用,保险丝容量可参考i\(_{c6max}\)来选取。
另外,在+E\(_{c}\)和-Ec处,也可串入保险丝,其容量可根据I\(_{c6max}\)(或Ic7max)来决定,以保护整流器。
七、电源整流部分的计算:这部分的设计方法与普通电源电路相同,不再介绍。需要注意的是,变压器的容量要富裕些,漆包线的线径要取大些,电流密度可用到2安/毫米\(^{2}\)以下。
计算举例
给定条件:P\(_{omax}\)=50瓦,RL=8欧,输入信号电压1伏,频率响应10赫~100千赫+0-3分贝,末级输出管的h\(_{fe}\)=50。
一、决定电源电压:取η=0.7, 则E\(_{c}\)=1η·\(\sqrt{2P}\)moax·PL=1;0.7·2×50×8≈40伏。(如果R\(_{L}\)=4欧,可取η=0.6 ;RL=16欧时,取η=0.8)
二、输出管部分计算:
1.U\(_{ce6max}\)=Uce7max≈2E\(_{c}\)=2×40=80伏。
2.取R\(_{13}\)=R16≈0.06R\(_{L}\)=0.06×8≈0.5欧。
3.i\(_{c6max}\)=ic7max=E\(_{c}\)/(RL+R\(_{13}\))=40/(8+0.5)≈4.7安;Ic6max=I\(_{c7max}\)=ic6max/π=4.7/3.14≈1.5安。
4.取I\(_{0}\)=20毫安。
5.P\(_{c6max}\)=Pc7max≈0.2P\(_{omax}\)+Ec·I\(_{0}\)=0.2×50+40×0.02=10.8瓦。
6.选3DD101A(部标型号,即3DD12A)作BG\(_{6}\)、BG7,该管的主要参数是:BV\(_{ceo}\)≥100伏>Uce6max;I\(_{cm}\)=5安>ic6max;加散热片后的P\(_{cm}\)=50瓦>Pc6max。能满足要求。
三、互补管部分的计算:
1.R\(_{i6}\)=Ri7=h\(_{ie6}\)+(1+hfe6)R\(_{13}\)=10+(1+50)×0.5≈35欧。
2.取R\(_{14}\)=R17=6.3R\(_{i6}\)-6.3×35≈220欧。
3.R\(_{11}\)=R14·R\(_{i6}\)/(R14+R\(_{i6}\))=220×35/(220+35)≈30欧。
4.i\(_{c4max}\)=ic5max=1.28×\(\frac{i}{_{c6max}}\)hfe6=1.28×4.7;50≈0.12安;P\(_{c4max}\)=Pc5max=1.3×\(\frac{P}{_{c6max}}\)hfe6=1.3×10.8;50≈0.28瓦;U\(_{ce4max}\)=Uce5max≈2E\(_{c}\)=2×40=80伏。
5.选3DD 100A(部标型号)作BG\(_{4}\),选3CA1D(上无29厂)作BG5,都不需加散热器。它们的有关参数是:3DD 100A的I\(_{cm}\)=1.5安,Pc=1瓦,BV\(_{ceo}\)≥100伏;3CA1D的Icm=0.5安,P\(_{c}\)约1瓦,BVceo≥100伏。
四、激励级的计算:
1.I\(_{c3}\)≈3ic4max/h\(_{fe4}\)≈3×0.12/50≈0.007安。
2.R\(_{c3}\)≈Ec/I\(_{c3}\)=40/0.007≈5.7(千欧)。取R9=1千欧(符合\(\frac{1}{3}\)R\(_{c3}\)>R9>20R\(_{L}\)),则R10≈R\(_{c3}\)-R9=5.7-1=4.7千欧。
3.因为BG\(_{4}\)~BG6都是硅管,所以U\(_{B}\)≈3×0.6=1.8伏。D1、D\(_{2}\)选用2CP10,UD=2×0.6=1.2伏。取I\(_{R}\)=2.5毫安,ID=4.5毫安,得:R\(_{15}\)=UB/I\(_{R}\)=1.8/2.5×10\(^{-}\)3=720欧,可取标称值为680欧的热敏电阻。W2=(U\(_{B}\)-UD)/I\(_{D}\)=(1.8-1.2)/4.5×10-3=133欧,可取标称值为220欧的电位器。
4.C\(_{5}\)=6×\(\frac{1}{2πf}\)低·R\(_{9}\)=6×1;6.28×10×1000≈100微法。可取耐压为50伏的电解电容。如嫌体积太大,改用47微法也可以。
5.因为2E\(_{c}\)=80伏,Ec·I\(_{c3}\)=40×0.007=0.28瓦,所以选用3DG182B(用3DG27B可代替)作BG3。它的BV\(_{ceo}\)≥100伏,Pcm=700毫瓦,满足要求。
五、差动放大级的计算:
1.取I\(_{c1}\)=Ic2=0.6毫安。
2.R\(_{e}\)≈Ec/(I\(_{c1}\)+Ic2)=40/1.2mA≈33千欧。取R\(_{8}\)=0.19Re=6.2千欧,得R\(_{3}\)=Re-R\(_{8}\)=33-6.2=26.8千欧。可取标称值为27千欧。
3.C\(_{2}\)≥(3~10)/2πf低·R\(_{8}\)=(3~10)/6.28×10×6200=(3~10)×2.5微法。可取C2=47微法,耐压为50伏。
4.R\(_{4}\)=R5≈U\(_{be3}\)/Ic1=0.6/0.6×10\(^{-3}\)≈1千欧。
5.取R\(_{2}\)=33千欧,R7=15千欧。
6.因为5P\(_{c1}\)=5Pc2=5×I\(_{c1}\)·Ec=5×0.6×40=120毫瓦;1.2E\(_{c}\)=1.2×40=48伏。所以可选3CG21E(上无29厂产品)作BG1、BG\(_{2}\)。它的Pcm=300毫瓦,BVceo≥70伏,满足要求。
六、其它元件的计算:
1.负反馈电路K\(_{u}\)=\(\sqrt{Pomax·R}\)L/U\(_{入}\)=50×8/1=20;R6+W\(_{1}\)≈R7/K\(_{u}\)=15×10\(^{3}\)/20=750欧。可取R6=470欧,另外加470欧的一只电位器作W\(_{1}\)。或取R6=750欧,W\(_{1}\)省去不用。C3≥(3~10)/2πf\(_{低}\)(R6+W\(_{1}\))=(3~10)/6.28×10×750≈(3~10)×22微法。取C3=100微法,耐压6.3伏即可。
2.输入电路取R\(_{1}\)=3R2=100千欧;C\(_{1}\)=(3~10)\(\frac{1}{2πf}\)低·R\(_{2}\)=(3~10)1;6.28×10×33×10\(^{3}\)≈(3~10)×0.48微法。取C1=1.5微法,可采用纸介电容器。
3.取R\(_{12}\)≈RL=10欧;C\(_{7}\)=1/2πf高·R\(_{12}\)=1/6.28×100×10\(^{3}\)×10=0.16微法,可取C7=0.15微法。
C\(_{4}\)和C6可暂取1000微微法,待调试时最后确定。
4.取扬声器保险丝容量为5安,另外在+E\(_{c}\)和-Ec处串入3安保险丝。
上述计算结果经整理后已标在图1中。电路里除了R\(_{13}\)、R16、R\(_{12}\)要用3瓦线绕电阻(例如RX1型)外,其余一律可采用金属膜或碳膜电阻。
当因使用场合不同,要求电路有不同的输出功率时,可以参照上面的设计方法,适当改变供电电源电压和一些元件的数据即可。例如,只要把图1电路的U\(_{2}\)~降为17.5伏,并把R3改为15千欧,R\(_{8}\)改为2.7千欧,就变成一个适合家庭使用的15瓦ocL放大器了。当然,Pomax减少后,晶体管的型号、电容器的耐压也可作相应改变。(李应楷)