互补对称功放电路虽然可以获得良好的音响效果,但调整较麻烦,尤其是当电源电压和温度发生变化时,对这种电路的工作点影响较大,常造成严重失真,甚至损坏晶体管。我们在原印刷电路板上通过多次实验,只稍微改动电路,就能使其工作点自动稳定。在元件耐压许可的条件下,能适应于多种电源而不必调整任何元件。
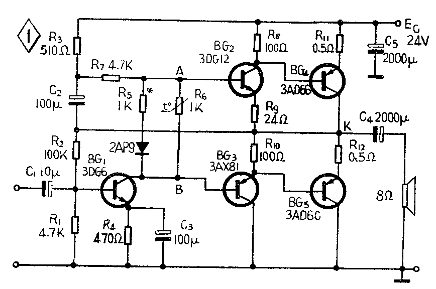
图1是一般互补对称功放电路,图2是稍加改动后的电路。互补对称功放电路不稳定,关键在BG\(_{1}\)。当电源电压变化或温度发生变化时,BG1集电极电流I\(_{C1}\)和集电极电压VC1将发生变化。其结果一方面使K点电位V\(_{K}\)发生变化,造成输出级上、下不对称,不失真输出功率减小;另一方面。由于IC1变化,使得V\(_{AB}\)及输出级静态电流均发生变化,就会影响电路的正常工作,甚至损坏元件。


针对以上问题,我们把BG\(_{1}\)由NPN管换为PNP管,并改成共集电极接法。R1、R\(_{2}\)对称地接入电源两端。由于R1=R\(_{2}\),无论电源电压怎样变化,BG1基极电位V\(_{b1}\)就近似等于电源电压EC的二分之一。这时中点K的电位为V\(_{K}\)=Vb1+V\(_{be1}\)+Vbe3+V\(_{R8}\)=\(\frac{1}{2}\)EC+V\(_{be1}\)+Vbe3+V\(_{R8}\)≈1;2EC。上式中V\(_{be1}\)、Vbe3仅0.2伏左右,V\(_{R8}\)也很小,所以才可认为VK≈\(\frac{1}{2}\)E\(_{C}\)。实际情况下,VK略高于1;2E\(_{C}\),为此,可在R2上串联一个2CP型二极管,在正向导通的情况下,2CP两端的电压稳定在0.6伏左右,使V\(_{b1}\)电位略低于\(\frac{1}{2}\)EC,这就相应地补偿了V\(_{be1}\)、Vbe3、V\(_{R8}\)的影响,使VK更接近E\(_{C}\)/2。当电源电压较低时,2CP二极管的作用更重要。
用一个场效应管代替图1中的R\(_{7}\),场效应管的栅极G和源极S短接,利用其恒流源特性,使得无论电源电压怎样变化,BG1的工作电流I\(_{C1}\)也不变化,VAB也不变化,这就使得输出管的静态电流基本不随电源电压而变化。调整图2中的R\(_{4}\),可使静态电流为10~20毫安。
BG\(_{1}\)改成共集电极接法,可以有效地抑制由于温度变化而引起的K点电位的改变。但由于输出级静态电流会随温度升高而增大,所以在A、B之间接入了一个二极管2AP9和一个热敏电阻R5,二极管正向压降随温度升高而减小,热敏电阻R\(_{5}\)阻值随温度升高而减小,使VAB下降。就可使输出管电流更为稳定。同时,BG\(_{1}\)接成射极输出后,输出阻抗很低,更能与输出管有效地匹配。
另外,可在A、B之间接入一个三极管(详细说明见本刊1976年第9期第24页图17),用两只150~300欧的热敏电阻代替R\(_{6}\)、R8,并将它们与BG\(_{4}\)、BG5固定在同一适当位置,使之敏感地补偿BG\(_{4}\)、BG5由于温度变化而引起的变化,效果会更好(电路图见图3)。

若手边没有场效应管,也可用普通晶体三极管(高低频管均可)接成一个恒流源,效果也不错。电路图如图4。(何克歧 文军)
