现介绍一种简易电视机自动关机电路。这种电路的控制信号直接取自同步脉冲信号,不受电视信号强弱变化的影响,只要电视机能正常收看,就能保证正常工作。

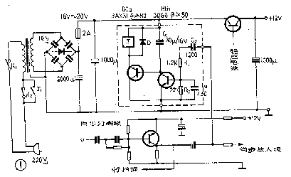
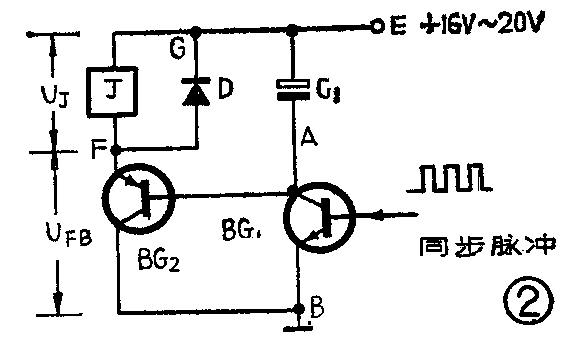
图1是自动关机电路。在电路中,控制关机的同步信号是取自同步分离级。若从同步放大级输出端取出,虽然可得到较大的信号,但容易受场振荡级的影响,在同步信号中断后,BG\(_{1}\)、BG2不能可靠地截止,将造成自动关机的失控故障。同步脉冲信号经耦合电容C\(_{2}\)、隔离电阻R1加至BG\(_{1}\)基极,使之导通。BG1集电极电流给C\(_{1}\)充电,使BG2获得正向偏置电压,所以BG\(_{2}\)也导通。BG2发射极电流使继电器J启动工作,继电器J的常开触点J\(_{1}\)便将K2短路。需要自动关机时,只要将K\(_{2}\)打开即可。在电视广播结束后,同步豚冲信号消失,BG1截止,BG\(_{2}\)在C1放电以后也截止,从而使继电器的常开触点J\(_{1}\)释放,切断了整机的电源。下次开机时,则需要重新将K2合上。待电视机工作后,再将它断开,这样就能实现自动关机。不需自动关机时,K\(_{2}\)仍处于接通位置,开关电视机仍由原开关K1控制。C\(_{3}\)可减少干扰脉冲的影响,R2是保证BG\(_{1}\)在同步脉冲信号未来时处于截止状态。C1除了供给BG\(_{2}\)直流偏置电压外,还起延时关机的作用。若关机不延时,当出现瞬时强干扰信号,或电视台出现瞬时故障时,就会破坏电视机的正常工作,造成误关机的现象。通常干扰信号持续时间是很短暂的,实践证明,延时量在5~8秒已能满足要求。改变C1的容量可调节关机的延时量,选择C\(_{1}\)的容量时,要考虑继电器的内阻、释放电压和BG2的β,当继电器内阻或BG\(_{2}\)的β较小时,C1的容量应选大些,反之应选小些。若继电器内阻为1~1.3KΩ,BG\(_{2}\)的β≈80,C1的容量可选用30微法。这个延时电路的工作过程见图2,同步脉冲信号经BG\(_{1}\)放大后对C1充电,充电电压为U\(_{C1}\)=E-UAB。A点电位逐渐接近地电位,BG\(_{2}\)导通,继电器吸合。当同步脉冲信号消失后,BG1截止,此时BG\(_{2}\)的导通情况由C1两端的电压来决定。C\(_{1}\)经G→F→A放电,由于BG2接成射极输出器,提高了输入阻抗,放电时间大为增加,故C\(_{1}\)只需要较小的容量就能维持BG2继续导通一段时间,使继电器J继续吸合。随着C\(_{1}\)的放电,UA电位逐渐升高,BG\(_{2}\)电流逐渐减小,直到截止,使UFB增加,U\(_{J}\)降低。由于继电器所具有的惰性,继电器必须等到UJ低于继电器的释放电压时才释放,这就达到了延时关机的目的。二极管D是在继电器释放的瞬间,起短路保护作用,防止损坏三极管。

这个电路可直接用于采用12伏稳压电源的电视机中。对于采用高压电源供电的电视机,则应设法取得16~20伏电压供给。
BG\(_{1}\)、BG2、D的耐压应大于25伏,C\(_{2}\)应选小些,继电器应选用内阻大于600Ω,吸动电流小于30毫安,工作电压为16~20伏,灵敏度较高的继电器,如JRX—4,JRX—11、JRX—13F等。(李建华)