共用天线电视系统是一套将天线接收到的电视信号进行放大、分配并传输给许多用户电视机的专用设备,它是一个有线分配系统(见刊头图)。30年前美国为了解决被高山遮蔽地区的收看电视问题,将天线架在山顶上,把收到的电视信号放大后,用电缆传输给电视机,克服了自然障碍的影响。在大城市,由于高楼大厦遮挡形成的“阴影区”,以及轮船上被金属舱板屏蔽的客舱,接收电视的问题,都需要采用共用天线电视系统来加以解决。于是随着广播电视事业的发展,共用天线电视系统便很快地发展起来了。这种在一定范围内,许多用户(电视机)共用一付(或一组)天线来接收电视节目的成套设备,就称为“共用天线电视系统”。国外有“有线电视”、“电缆电视”及“共用天线电视(CATV)”等名称。


共用天线电视系统能得到发展,是由于它具有下列优点:
1.能够解决“阴影”障碍:电视信号在传播途中,遇到高山或高大建筑物,就会被阻挡,造成“阴影区”如图1。这种遮挡障碍,减弱了信号,降低了信号杂波比,使电视机荧光屏上出现“雪花”状干扰。

2.抗干扰性能好;随着城市近代化,各种高大建筑物(如高层大楼、高架公路、铁塔等)和各类电波干扰源的日益增多(如日光灯、电车、汽车及高频机器等各种电气装置),电视荧光屏上出现“重影”和杂波干扰的现象日趋严重。共用天线系统用同轴电缆传输电视信号,可以有效地防止有害电波的干扰。系统内各用户间也有较好的隔离性能,可以抑制系统内个别电视机产生的寄生幅射干扰。
3.节省天线、使用方便:在一栋大楼或一个地区,安装一套天线即可供大量用户共同接收使用。这样既避免了用户电视机都各架一付天线而造成的相互干扰,又节省了大批天线器材。系统负担的电视机越多,就越经济。此外,系统收到的信号,是通过电缆分配到各用户房间墙壁的插座上,只须将电视机天线插头插上,启动开关便可选收各频道的电视节目。
4.用途广泛:
①共用天线电视系统除可供大宾馆、饭店、医院、学校、人民公社等集体单位收看电视节目外,还可以配上特殊天线(如宽频带、高增益又能自动调整方向的天线)作为轮船集体接收用。
②配上直径一米左右的抛物面天线(具有类似碗形反射器的天线),再加装一个变换器,通过该系统可以使只具有VHF频段的普通电视机,接收卫星转播的电视节目。
③由于系统是一个有线分配网路,配合一定设备,可以自办节目,传输教育电视,作为现代化教学的工具;也可供电视机厂等生产单位作为调试机器用(图2)。

组成和分类
所谓“系统”是指依据共同的目的,将具有一定功能而又相互联系着的各种器件、设备组成的整体而言。共用天线电视系统,是由天线、放大器、混合器、分配器、分支器以及射频电缆、高频接插件等组成。一般把宽频带放大器、混合器和分配器等组装在一个机箱内(见封底照片),我们把这个机箱叫“共用器”。

系统有大有小、有简有繁,最简单的小型系统,只要有天线、分配器(或分支器)、电缆等即可组成。如需接收两个频道的电视信号,而又用的是单频道天线,这时就要加用混合器。当电场强度较弱或系统线路长,分支器、分配器数量多的情况下,还需要用放大器提高信号电平,以弥补线路传输中的衰耗及分配损失。系统就其负载电视机的多少,可分为大、中、小三种。小型系统可少到负载2台电视机,大型的可负载多达上万台的电视机。就目前的水平和习惯而言,我们把负载50台左右电视机的系统称为小型的,多于200台者称为大型,百台左右称为中型系统。这只是一个粗略的分法。
系统的特点是可根据具体情况,正确地运用各种器件,进行具体的设计以满足大小、简繁等各种使用情况的要求。
工作原理和部件
我们以负载50台电视机的小型共用天线电视系统为例,说明它的工作原理,见图3。由二、八频道的单频道天线接收到的信号,分别通过相应的频道(或频段)放大器,将信号电平提高以后,再经混合器将这两路信号混合变成一路输出,加到分配器上。由分配器将信号均分为四路传输给干线,在各干线电缆中串联着若干分支器,最后由这些分支器,再经各分支电缆,将信号分送给各用户电视机使用。

系统中的器件,都具有插入损耗小、逆向传输损耗大(即有单方向传输特性)以及相互隔离等特性。因此,系统内的电视机用户,可以同时选收各自喜爱的电视节目,而互不影响。因为,一个系统工作的好坏,主要由系统中所采用的各种部件决定,所以有必要对各种部件加以说明。
1.天线
天线是用来接收电视信号的重要部件。共用天线电视系统,对天线的要求比个体用户更高一些,如要使用高增益定向接收天线,并要求阻抗匹配良好和结构牢固等。选择天线时,应根据接收点的地形、环境、场强和接收频道等各种因素综合考虑。同时,对天线的安装、架设也必须给予足够的重视。否则即使有了好的天线,架设不当也发挥不了应有的效果。
天线的种类很多,从使用频率来分,有专用单频道天线和宽频带的多频道天线。为了提高增益和方向性,大都做成多单元振子的天线,或者把两付、甚至更多天线合成起来使用。
安装天线的位置应选择在比较高的地方,使接收天线在朝电视台发射天线的方向上无阻挡物。接收天线的周围不应有反射体。同时,还要避免与其他天线之间由于距离近而产生相互干扰。
架设天线时,不仅要前后、左右移动,还要做上、下高度的调整,以选择场强最好的位置。
2.放大器
当电场强度较弱、线路电缆较长或分支器、分配器数量增多,而信号电平不能满足需要时,必须采用放大器来提高信号电平。使系统内所有电视机获得合适的信号电平。
放大器以工作频段分:有VHF放大器和UHF放大器;以使用频率分:有专用频道(即单频道)和宽频带放大器,后者又可分为高、低频段放大器两种;根据输入信号的电平分:有强信号和弱信号放大器;从放大器所处的位置来说,有天线放大器(即弱信号放大器)、前端放大器和线路放大器。
宽频带放大器便于较多频道通用,而单频道放大器,有增益高、抗干扰性能好、效率高等优点,在特定地方使用更为适宜。
弱信号放大器适用于远离电视台而信号场强较弱(<60dBμv/m)的地区,主要作用是提高信号电平、改善信号杂波比。
强信号放大器,一般是在场强较高(>80dBμv/m)的场合使用,以使系统负载能力增大。
为了扩大系统的负载能力,光靠提高前端放大器的增益是不行的。因为高频放大器(特别是宽频带的)受器件质量的限制,其增益的提高是有限度的。而随着线路的增长,用户的增多,还需要在适当的地方,加入线路放大器。
有了各种放大器,系统线路的距离,可延长数公里,甚至更长。而系统负载电视机的数量可扩大到数百台、数千台。因此,放大器是系统的重要组成部分。下面对几种放大器作一简单介绍。
①天线放大器
天线放大器用于远离电视台的地区,是弱信号放大器,其输入信号电平要求在46~60dB,若信号场强太弱,信杂比不够,“雪花”现象厉害,放大器也就无能为力了。因此,噪声指数是弱信号放大器的主要性能指标。一般应小于10dB。采用低噪声管时,一般可小于6dB。
天线放大器一般做成宽频带型,根据需要加上窄带滤波器,即变成专用的单频道放大器。
②单频道放大器
用于放大某一频道全电视信号的频道放大器,也必须有一定的频带宽度(如8MHz),为了提高增益及带宽,采用双调谐回路的多级放大电路及参差调谐方式。
③宽频带放大器
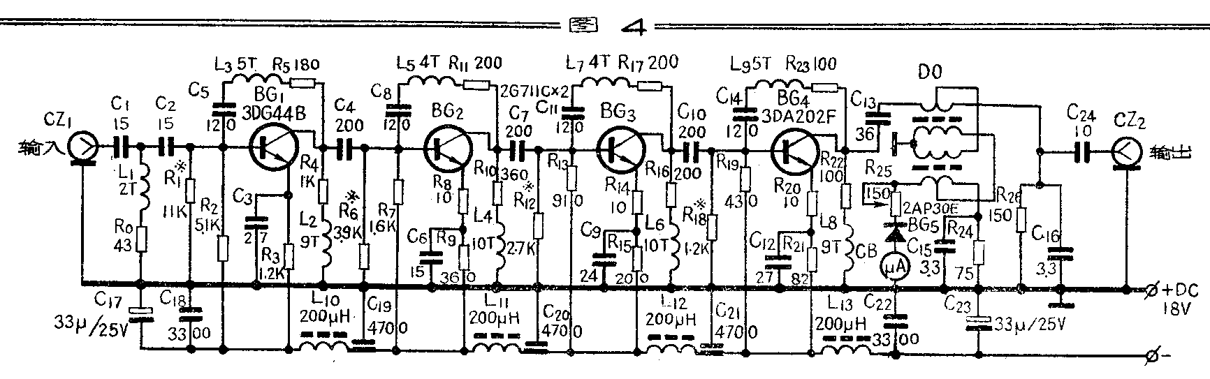
在宽频带放大器中,重点考虑的是获得宽的频带和平坦的频率特性的问题。因此,采用反馈式放大器是比较合适的。因为晶体管的电流增益与频率有关,各级的增益对频率的依赖关系,可用一组反馈网络来控制。而电流反馈和电压反馈联合运用,能获得一定的增益带宽和平坦的特性曲线,并能提高放大器的稳定性。
系统前端使用的宽带放大器与线路中使用的宽带放大器,都是运用负反馈原理制成的。电路图如图4。

3.混合器
在系统中,要同时接收多个频道的电视信号,而又采用的是单频道天线,对宽频带放大器来说,形成了多输入端。把多输入端合并为一个输出端,而又能做到阻抗匹配和保持多个输入端之间有一定隔离度的器件,叫做混合器。
混合器是由高、低通滤波器组成,低通滤波器的通频带是45~92MHz,供接收1~5频道的电视信号用。高通滤波器的通频带是160~230MHz,供接收6~12频道的电视信号用。凡所允许接收的信号,在通带内引起的损耗较小;而对通带以外的不用信号,则呈现较大的衰减。现在使用的混合器是宽频带型的,电路如图5。

4.分配器
经放大、混合后的总信号,根据用户分布的状况,要分成若干条线路传输。因此,需要采用分配器。
分配器由阻抗匹配变压器和隔离分配变压器组成。它是进行功率分配的器件,将信号功率均分为二部分或四部分。均分为二部分的,叫二分配器;均分为四部分的,叫四分配器。
分配器具有阻抗匹配、功率分配和相互隔离等特性。其输入、输出阻抗均为75Ω,原理图见图6。

5.分支器
分支器串接在线路中使用,经它取出部分信号,直接供电视机用,而互不影响。分支器主要由定向耦合器、阻抗匹配器和隔离变压器等组成。分支器有一分支器、二分支器、四分支器等多种。图7是一个二分支器的原理图。

分支器具有单向传输特性,即正向传输时插入损耗小,反向(由分支端至分支器的输出端)衰耗大。其性能是:
①分支端(接用户端)与输出端(参见图8)间的反向隔离度,一般大于25dB。以保证个别电视机发生故障时,不会影响整个系统的正常工作。

②分支之间(即用户之间)的隔离度,因电路形式而异,一般大于18dB。其隔离度越大,用户之间的相互影响越小。这样才能保证各用户同时任意选看电视节目,而互不影响。
③插入损耗要小。由于在线路中,串接了分支器而引起的线路损耗,当然越小越好。但是与分支耦合量有关,分支耦合量大,插入损耗也大。而二者又都与定向耦合变压器的匝数比有关。不同的匝数比,相对应的有不同的耦合衰减量和插入损耗。应用各种耦合衰减量的分支器,可以调整分支端的输出电平,使整个系统的用户信号电平基本趋于一致。
④分支频率特性,在传输通带内分为平坦的和倾斜的两种。我们希望的是分支器在低频段是平坦的,高频段是倾斜的,以补偿高频跌落。
6.高频插件及射频同轴电缆
上述各种部件及电视机之间,都必须经过射频电缆和接插件把它们连接起来,才能构成一个完整的共用天线电视系统。很明显,高频接插件、同轴电缆等的质量优劣和可靠性,对整个系统的影响极大。故必须予以足够的重视。
设计原则
设计共用天线电视系统时,必须通观全局,正确运用各种器件,做到系统的性能好、效率高,并且经济、可靠。
根据使用单位的地点、建筑形式(大楼或平房)、结合场强、电视机的多少、传输线路的距离等因素,综合考虑设计方案。
设计方案有多种,最基本的形式有:分配——分配方式(即只用分配器);分配——分支方式(即分配器与分支器合用);分支——分配方式;分支——分支方式。这四种分配方式可以灵活运用,组成各种的分配系统。
设计系统时要考虑的问题:
1.用户端所需要的信号电平。它是设计系统的主要依据。应使电视机既具有良好的信杂比,又要防止使电视机的输入电平过高而饱和。一般以70dBμ为标准,而在强场强地区,可以80dBμ为标准。
2.用户所需接收的电视频道。根据使用单位需要接收的电视频道,选用不同类型的天线、放大器等,达到质量高、经济、合理的目标。同时,也要考虑到今后发展的需要。
3.电场强度,也是设计系统的主要依据之一。在不同的场强区要采取不同的措施,如在弱场强区工作,可首先于天线杆上加装天线放大器,提高信号电平后再送至系统。
除上述几点以外,还要考虑各种部件的增益或损耗等等。
正是因为系统有广泛的用途和特殊的作用,所以发展比较迅速。在国外,已开始试用双向电缆电视系统。这样,电视机不仅可以收看广播电视节目,而且只须增加一个键盘,就可以有选择地收看其他多种信息。
在我国,随着加速实现社会主义现代化的进程,城市建设日新月异,广播电视事业迅速发展,共用天线电视系统也必将迅速发展起来。有关部门,在进行基本建设和设计新建筑物时,要充分考虑并注意解决这个问题。(谷石)