我利用残次品JK触发器,做了一种长延时继电器,它的特点是延时范围广,从3分钟到20小时以内可调,并且可以方便地做到任意长延时。

电路如图1所示。它是由弛张振荡器、放大、电平转换、整形、计数器、鉴别放大、执行机构(继电器)及稳压电源等部分组成。由单结晶体管和电容器C\(_{1}\)、电阻R1—R\(_{5}\)等组成的弛张振荡器,定时发出时钟脉冲信号,送到由六个触发器组成的计数电路,计数到一定时间以后执行机构继电器动作,达到延时动作的目的。
接通电源后,继电器J\(_{1}\)通电,它的两对常开触点闭合,触点J1-1使电容器C\(_{1}\)短路,单结管BT35不能导通;J1-2使触发器清零。然后打开开关K\(_{2}\)-1,J1继电器断电,它的触点断开,延时就开始了。当BT35还没有导通时,BG\(_{1}\)截止、BG2导通,BG\(_{2}\)集电极输出为低电平(小于0.4V),所以与非门F1输出为高电平。当电容器C\(_{1}\)两端电压充到BT35的峰点电压时,BT35导通,C1通过BT35的e—b\(_{1}\)向电阻R8迅速放电,产生正脉冲使BG\(_{1}\)导通、BG2截止,这时F\(_{1}\)输出为低电平。当C1放电电压降到BT-35的谷点电压时,BT-35截止,又恢复BG\(_{1}\)截止、BG2导通的状态。所以C\(_{1}\)每放电一次,F1就输出一个负方波脉冲,作为时钟脉冲信号送到由六个JK触发器组成的计数电路。时钟脉冲的下降沿使触发器翻转,计数器最多可计数为2\(^{n}\)-1(n为触发器级数)。我用的单结管η=0.76,电容器C\(_{1}\)=600μf,由开关K1选择充电电阻(R\(_{1}\)—R5),再细调电位器W\(_{1}\),振荡脉冲周期可在约3秒至19分钟范围内变化。如果调整振荡脉冲的周期等于10分钟,那末经四级触发器组成的计数器计满数后的延时为10×(24-1)=150分钟;五级为10×(2\(^{5}\)-1)=310分钟;六级为10×(26-1)=630分钟……。可见增加一个触发器,延时就约长一倍。我做的电路用了六个触发器,所以只有当第63个时钟脉冲信号来到后,六个触发器的状态才能是“111111”。这时与非门F2输出低电平,F\(_{3}\)输出高电平,BG3导通,继电器J\(_{2}\)吸合。它的一对触点用来控制外接负载,另一对触点J2-1闭合,又使继电器J\(_{1}\)吸合,重复上述过程,如此循环,就实现了J2间歇定时动作。
电容器C\(_{1}\)选用漏电小、容量稳定的钽电容。W1用线性电位器,R\(_{1}\)~R5选用金属膜电阻。BG\(_{1}\)~BG3的放大系数β≥40。BG\(_{2}\)的饱和压降Vces<0.4V。J\(_{1}\)、J2是用内阻为450Ω、电流不大于20mA的灵敏继电器。与非门F\(_{1}\)~F3可选用任意型号的DTL或TTL与非门,触发器也可以用7CS21、23等。
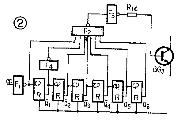
这个电路中用的JK触发器,除了必须有电源端和CP端外,其它还残存一个Q或Q-端及一个R或S端的都可以用。几种使用方法是:(1)只有R端和Q端,电路如图1;( 2)只有S端和Q-端,可用图1形式,只要把S端代替R端,Q-端代替Q端;(3)只有R端和Q-端,触发器部分电路见图2;(4)只有S端和Q端,用图2形式,只要把S端代替R端,Q端代替Q-端。(柳州市第三中学 刘涌)
