我们利用电子闪光器的电路制作了一个玩具——会眨眼的小猫。它的外形见图1。当接上电源后,玩具小猫的眼睛(内装了小灯泡)就会一闪一闪的眨起来。调节电位器的数值,可使小猫眨眼速度加快或减慢。许多同学看后很感兴趣,愿意动手做一个。你愿意试试看吗?

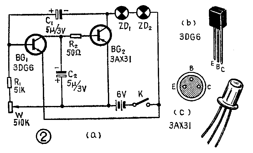
图2是电子闪光器的电路图。你如果看不懂元件的符号,可把图3与图2对照着看。图2电路中用两个晶体三极管(BG\(_{1}\)、BG2),其中BG\(_{1}\)采用3DG6(NPN型的硅管),也可采用其他3DG一类的管子。BG2采用3AX31(PNP型锗管)。3DG6和3AX31晶体管的管脚排列图见图2(b)(c),电路中还用了两个电解电容器(C\(_{1}\)、C2),它们的容量均为5微法,耐压为3V。图2中的R\(_{1}\)、R2可以选用1/8瓦的碳膜电阻。W是阻值为510千欧的电位器。ZD\(_{1}\)和ZD2是小灯泡,规格是2.5伏300毫安。电源为6伏,采用四节干电池。


找一块长200毫米、宽为140毫米的五合板或三合板作为基板。在它背面四周钉上20毫米的边框,在边框一边上a处(见图4)开个直径为4毫米的圆孔在b、c处开个安装螺钉的小孔。在基板上糊上白纸,画上电路图。在安装电位器、开关、接线柱的位置上打上合适的圆孔,在安装晶体管、电阻、电容的位置上打上穿引线用的小孔。

另找一块长为200毫米、宽为20毫米的三合板、称它为连接板。按图4所示位置在它的中部打上直径为4毫米的小孔,并在连接板两端打上安装螺丝用的小孔。
找一块200毫米见方、厚度为10毫米的硬泡沫塑料板或木板,在上面画上小猫,在小猫的两个眼睛处按红色灯罩的大小分别开两个圆孔,让灯罩正好卡在里面。在硬泡沫塑料上按图4所示打上三个圆孔。
把电位器、开关、接线柱装在基板上,然后把晶体管、电阻、电容接入电路。用螺钉、螺母把基板、连接板、硬塑料泡沫板装配在一起(见图4)。把连接灯泡用的导线穿过a处的小孔,连接上小灯泡,并把两个小灯泡放入两个灯罩内。在两个灯罩之间摁上一个图钉,固定住灯泡的连接线,以防止灯泡掉下来。
电路连接好后,两个晶体管的工作点不用重新调整。接通电源后,小灯泡就会闪动,调节电位器的阻值,可使灯泡闪动速度加快或减慢。
会眨眼的小猫做好后,如果发现3AX31管子发烫,可换成3AX81管子。如果接上电源后,小灯泡发亮但不闪动,首先要检查一下电路连接有没有错误。除此之外,电位器W\(_{1}\)阻值太小、R1阻值太小、C\(_{1}\)漏电严重或者BG2管被击穿,都会使小灯泡只亮不闪动。(徐爱萍)