现以工农兵602型晶体管多用机为例介绍几种常见故障的检修方法。
无声
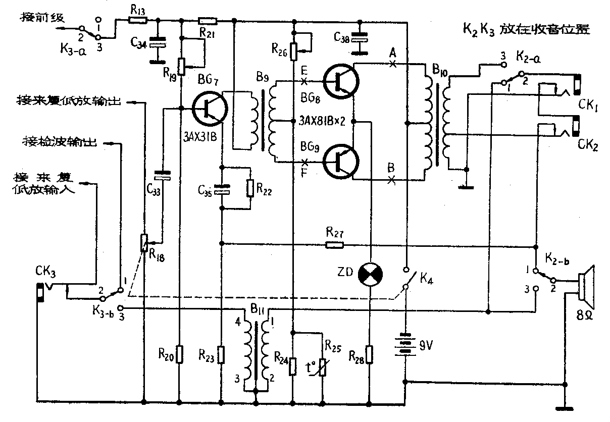
为了迅速查清故障,可用万用表R×1K档测量整机电阻(这时各转换开关均置于收音位置)。当测得R\(_{正}\)(指黑表笔接正电池夹,红表笔接负电池夹)的阻值在1千欧以下(约数百欧),R反(表笔倒换一下)的阻值在1~2千欧时,对电源电压为6~9伏的多用机来说,线路基本正常。
1.断路故障 当测得R\(_{正}\)、R反均呈现无穷大时,说明电路不通。这时应检查正、负电池夹和开关K\(_{4}\)等有无断线,K4内部有无开路。
2.短路故障 当测得R\(_{正}\)、R反均为零时,说明电源短路。可用万用表先检查电源正、负极之间是否短路。实际上,对多用机来说,短路故障多是由于推挽管被击穿所引起。这时可分别断开A、B两处进行检查,可能出现以下几种情况:①断开A点或B点后短路现象消失,说明其中一只功放管被击穿;②同时断开A、B点后短路消失,说明两管均被击穿;③同时断开A、B点后总电阻仍为零(或阻值极小),则可能是电源滤波电容C\(_{34}\)、C38漏电很严重或被击穿。
功放管被击穿的现象多见于雷雨季节,或因受太阳曝晒,机器温升过高使功放管集电极电流过大而被击穿。可在功放级发射极电路中串接一个2.5伏的小电珠(如图中ZD),作为一个简单的保护指示器。当功放管正常工作时,发射极电流小,电珠不亮,当功放管发射极电流突然增大至几百毫安时,电珠立即发光,此时应立即停机检查。

失真
1.因推挽部分不对称引起的失真,常见有:①输出变压器B\(_{1}\)0初级一半断线,当测量功放管电压时,其中有一个管集电极无电压,推挽电路变成单边输出电路;②输出变压器B10初级内部部分短路,使输出波形严重不对称而失真。对于①、②两种情况,可在A、B两处断开线路,用万用表R×10档测量两组线圈的直流电阻,如果两组线圈的直流电阻读数不平衡,则可能是有一组线圈内部短路;如果有一组线圈直流电阻无穷大,说明这一组线圈断路;③输入变压器B\(_{9}\) 次级一半断线,当测量功放管电压时,其中一只的基极电压为零,由于输入不对称,输出波形也就不会对称了。可在E、F两处断开线路,用万用表R×10档测量直流电阻加以判定;④推挽功放管有一只损坏或发射极开路,使电路变为单边输出。此时如果分别测量两管电流,会发现损坏的一只管无集电极电流。⑤如果推挽管曾经更换过,当β值不相同时,也会引起失真。此时β值大的管子明显发热,严重时会损坏管子,应重新调换配对。
2.因晶体管偏流电阻变值或开路引起的失真,常见有:①功放管上偏流电阻R\(_{26}\)开路或阻值变大,使得输出小时失真增大(交越失真);②低放管偏流电阻R19开路或阻值变大,使工作点变动引起失真。上述两种情况常发生在R\(_{19}\)、R26是可调电阻的多用机中,由于使用人员随意旋动偏流电阻使触点松动而断路,或者不注意防尘、防潮,使触点氧化生锈造成断路。如确系接触不良,可在偏流电阻上滴一滴汽油清洗一下,然后调整好工作点即可。
3.因电解电容器开路、断路或漏电而引起的失真,常见有①低频耦合电容C\(_{33}\)短路或严重漏电引起失真。可由音量控制电位器R18开到最大时扬声器放音是否失真加以判断;②低放管BG\(_{7}\)发射极旁路电容C35短路或漏电时,不仅增益大大降低,而且会产生失真;③电源滤波电容C\(_{34}\)、C38,低频耦合电容C\(_{33等开路或失效,也将引起失真,并且可能产生汽船声。如是电解电容开路和容量变小,可用一只5}\)0~100微法的电解电容器与原电容并联,如果失真消除,说明该电解电容器开路或是失效了。(贾凤图)