三、元件的选用
整机的性能好坏与所用元件的质量有关,但过高的要求将造成困难与浪费,必须合理选择。首先应从可靠性出发,晶体管与电解电容器的耐压都应高于实际工作电压,并要有一定的余量为好。BG\(_{8}\)、9、\(_{1}\)0、11工作在甲乙类状态。一对复合管相互交替工作,当BG\(_{8}\)、10导通时, BG\(_{9}\)、11截止。对瞬间来讲,导通管子的C、E两端电压降为零;而截止的管子则承受全部电源电压。BG\(_{7}\)虽然工作在甲类,由于BG9、\(_{11}\)导通时,它的C、E两端电压也接近于电源电压。因此,这些管子的耐压都要大于电源电压。其次,要考虑它们的电性能。这里主要矛盾是功率管的选用。锗功率管的fβ较低,如常用的3AD6为4千赫,而3AD30仅2千赫。当他们分别工作在10千赫、5千赫以上时,就会出现增益下降、失真和管耗剧增现象。为此,本机选用硅功率管3DD12A,以保证高频段的频响。但硅功率管的饱和压降V\(_{CES}\)较锗管大,易造成输出功率不足和低端频响差的弊病。然而这可用提高电源电压和加深负反馈的方法来弥补。
BG\(_{8}\)、9、\(_{1}\)0、11四管是在大信号状态下工作,因此应选用大电流时V\(_{CES}\)小的晶体管,如3DD12之类管子,以保证功率输出。倒相级可选用3DG12或3CK3。BG10、\(_{11}\)的hFE取40左右,以减轻倒相级的负载。BG\(_{7}\)的hFE取大些为佳,因BG\(_{7~11}\)的电压增益主要由它决定,一般应大于100。BG5、\(_{6}\)应在0.5毫安时配对,hFE越高,V\(_{BE}\)、ICEO和b\(_{FE}\)的对称性越好,则零点电位越稳定。BG3、\(_{4}\)应尽可能选取其饱和漏源电流IDSS大些的,这对动态范围大时有益。BG\(_{1}\)的噪声对整机的信噪比起决定性作用,以选用低噪声管为佳。否则可选用小电流工作情况下hFE高的晶体管。所以BG\(_{1}\)工作在数十微安的目的,就是为了降低整机的噪声。整流二极管D4~D\(_{7}\)应选反向耐压大于电源电压、正向电流大于等于1安且压降小的整流管。
晶体管的输入阻抗较低,级间耦合电容器的电容量一般选择在3~10微法之内,两场效应管的输入阻抗较高,可取0.1微法左右。滤波电容器C\(_{25}\)、C26取2000微法即可,当然大一些更好,耐压应不小于25伏。其他滤波电容器可在50~100微法之间选用,一般要求并不十分严格。
四、要重视安装工艺
良好的电性能需要有精心的安装和调整工艺来保证。对本机来说,要注意以下几点:
1.大功率管要求散热良好,管壳温度应限制在50℃以下为宜,否则应加大散热板面积或采取其他措施。
2.信号输入电路的接线必须用金属屏蔽线,并要求尽可能短,以免感染交流声等杂音,破坏音响效果。
3.为了避免交流哼声的感应,电源接线要求短粗,电源变压器位置要安放得当,否则由于漏磁的影响也将引起交流哼声。图4画出了电源变压器在几个不同方向的磁通分布情况,即X方向的磁漏最大,而Z与Y方向较小,所以印刷电路板应装在Z的方向为佳。此外,电源变压器应远离放大器的输入端。

4.必须重视选择变压器次级线圈中心抽头接地点的位置。接地点选得不妥,将使信噪比变差,噪音增大。正确的接法是以滤波电容器C\(_{25}\)、C26相交的一点作为接地点,将变压器次级中心头、扬声器的接地端和印刷板的接地端都集中在此点。
在安装工艺上采取上述妥善的措施后,当本机输入端开路、音量电位器开到最响位置,并将低音电位器提升量调到最大时,在距扬声器一米左右的地方应听不到明显的交流哼声。
五、调试方法
在妥善安装和正确接线以后,就可进行调试。为了安全起见,最好装好一个部分就调一个部分,可按下面的次序进行:
1.电源部分调整:把交流220伏电源接入电源变压器初级,空载时次级应有±25伏;当负载电流为0.8安时,次级应有±19伏的输出。如果该电压在±16~22伏之间,主放大器能正常工作;偏高要影响主放大器的安全运用;过低则会造成输出功率不足,必须查明原因并排除故障。
空载时变压器发热,应查初、次级有无短路现象,屏蔽层是否短路,以及次级的中心抽头是否接错(双线并绕应首尾相接)。
如果空载电压正常而满载时电压跌落很大,这可能是变压器次级线圈内阻过大,或整流二极管饱和压降过大,以及滤波电容器不良等原因造成的。反之,如满载时电压过高,则应检查变压器的初级圈数是否不足或次级圈数过多。

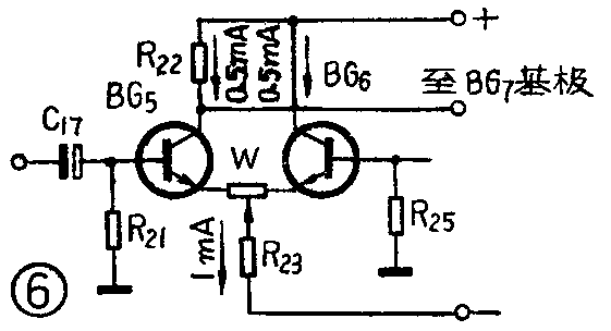
2.主放大器的调整:第一步调整差动放大器的电流。事先检查C\(_{18}\)的极性连接是否正确,否则会由于C18的漏电流造成主放大器的零电位不稳。把R\(_{25}\)接扬声器的一端焊下来临时接地,使BG5和BG\(_{6}\)的工作状态相似。利用差动级的发射极总电流由R23、R\(_{24}\)所决定的特性,调整R24,使总射极电流为1毫安,即在R\(_{23}\)两端电压降为15伏(图5中V1)。此时R\(_{22}\)两端的压降如为0.75伏(V2),则说明BG\(_{5}\)、BG6两管的集电极电流都为0.5毫安,意味着完全平衡。反之,则是由于BG\(_{5}\)、BG6的特性不对称所致。若相差不大,可按图6那样,在射极间接入100欧电位器W进行调整。若再不能平衡的话,BG\(_{5}\)、BG6应重新配对。

第二步是将R\(_{25}\)复原,在扬声器两端的电位应为0伏。若偏正则可减小R22的阻值;偏负则加大R\(_{22}\)的阻值。总之R22是决定A点电位的。
第三步是调整R\(_{28}\)的阻值,使静态电流为25毫安左右。阻值增加,电流增加。
在调整主放大器前,为了避免意外损失,可用导线把R\(_{28}\)、D1、D\(_{2}\)短路,即BG8、BG\(_{9}\)的基极相连,使之截止;或者将大功率管与印刷电路板脱开,以防止大电流流过功率管而造成损坏。此外,为了扬声器的安全,在调主放大器时可用功率相近、阻值相同的电阻来代替,待调整完毕再接入扬声器,或者就在输出端与扬声器之间固定串接一个2安左右的保险丝,以免扬声器烧坏。
3. 前置级电源调整:前置级电源的输入端电压在25~32伏之间属正常,经BG\(_{12}\)滤波后应为20伏。这可用调整R38的阻值大小的方法来解决,阻值加大则电压升高。若有16~17伏的稳压管代替R\(_{38}\),则前级电源电压更加稳定。

此刻,可接上音调控制器进行试听,若场效应管性能良好,音调控制器一般不必调整。场效应管分成MOS型与结型两种,前者输入阻抗高但易损坏,这里采用结型,其引出脚与其他晶体管不同,见图7,不要焊错,以免造成故障。印刷电路板见图8。

刚合上电源开关时,正常的情况下,扬声器会发出“嗡”的一声,随后应即消失,寂然无声。这是滤波电容器C\(_{25}\)、C26充电及主放大器的A点电压自动平衡的反映,不用担心扬声器会损坏。但如发生自激,应检查C\(_{21}\)是否良好。
此时,将电唱机信号从拾音插孔输入,扬声器应放出悦耳的音乐。如果音量欠大,可减小R\(_{26}\)的阻值。若嫌低音不足可加大C9与C\(_{19}\)的容量,其大小可由实验决定,但应兼顾高音。C22和R\(_{27}\)构成高频段相位校正电路,一般情况下不用调整。
4.前置放大器的调整:R\(_{4}\)用来调整BG1、\(_{2}\)的工作点。R2调整灵敏度,阻值减小,放大量提高,灵敏度增加。R\(_{3}\)、R8和C\(_{2}\)、C3构成频率校正网络,应根据信号源的频率特性进行调整,使特性曲线平坦,或符合一定的要求。一般也无需调整。如发生自激现象,可分别在BG\(_{1}\)或BG2的C、B极间并一个51~100微微法的电容器;或者在R\(_{8}\)、C3并联电路与C\(_{5}\)之间串入一个适当的电阻,其阻值大小由实验决定。
BG\(_{1}\) BG2 BG\(_{3}\) BG4 BG\(_{12}\)BG7~11
(c) (c) (S) (D) (c;e) (c)
静态(V) 2.4 6 10 12 31;23 22
动态(V) 2.25 3.8 8 8 24;16 19
本机最大不失真输出功率为18瓦,失真度为0.8%。各晶体管的实测电压数值列在附表供参考。动态电压值是在最大不失真输出功率时测试的。(盛惠泉)