串联型晶体管稳压电源,是一种被普遍采用的直流稳压电源。这种电源的调整管和负载是串联的,所以随着负载电流的增加,调整管的电流也增加。如果没有保护措施,使用中稍一过载,便会造成调整管的损坏。若借用普通的保险丝作过流保护,事实上并不保险,因为保险丝的熔断时间较长,往往会在保险丝还没来得及熔断时,调整管已烧坏。一般必须采用快速熔断器,每保护一次,就需更换新的快速熔断器。下面介绍一些采用电子线路的过流保护措施,这样,就可以反复使用,而不需更换任何东西。

图1是串联型晶体管稳压电源主要部分的方框简图。其中调整管部分,可以是一个晶体管,也可以是复合管,也可以是多个晶体管并联后再复合,管型可以是PNP型,也可以是NPN型;取样、比较放大器部分,可以是单管放大器,也可以是差分放大器,或者是集成运算放大器等等。这些部分在实际应用中千变万化。为了突出重点,在下面的介绍中,除对过流保护部分绘出具体线路外,对上述这些部分只画出方框。

图2是一个过流保护线路。在稳压电源正常工作的情况下,BG\(_{1}\)的基极电位低于发射极电位,BG1处于截止状态。当负载电流增大到使R\(_{0}\)上的压降大于BG1的be结正向压降和二极管D的正向压降之和时,BG\(_{1}\)投入工作,使调整管的基极电位降低,从而限制了输出电流,使调整管处于保护状态,免受过流损坏。
过流保护线路的动作电流(即稳压电源的最大输出电流)由下式给出:
I\(_{0}\)M=Vbe1+V\(_{D}\)R0
R\(_{0}\)为线绕电阻,可通过改变R0来改变动作电流。图中数据为一实例:12V、1A稳压电源的过流保护,动作电流为1.2A。

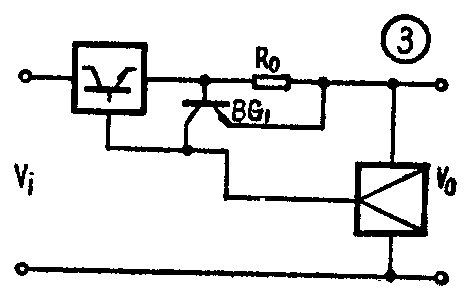
图3是更简单的过流保护线路,仅用了一个晶体管和一个电阻。当过流时,R\(_{0}\)上的压降大于BG1的be结正向压降,BG\(_{1}\)工作,使调整管基极电位降低,负载电流不再增大。该线路的动作电流为:
I\(_{0}\)M=Vbe1R\(_{0}\)
改变R\(_{0}\)可调整动作电流。

图4是在采用集电极输出型式的稳压电源中,过流保护线路的接法。其动作电流为:
I\(_{0}\)M=Vbe1R\(_{0}\)
这个表达式与图3的表达式完全一样。在这个电路中,当输出短路时,其输出电流我们记为I\(_{os}\),则:
I\(_{os}\)=Vi·βR\(_{1}\)
在某些稳压电源中,为了获得低于5V的低电压输出,往往采用在输出接地点以下加一辅助基准电源E的方法,见图5。对这种稳压电源,我们可以采取图6的过流保护线路。一旦过流,R\(_{o}\)上的压降,使BG1发射极的电位高于基极电位,过流保护线路便起作用。BG\(_{1}\)投入工作的条件是:
I\(_{0}\)M·R0=E·\(\frac{R}{_{2}}\)R1+R\(_{2}\)+Vbe1
因此动作电流为:
I\(_{0}\)M=ER2+V\(_{be1}\)(R1+R\(_{2}\))R0(R\(_{1}\)+R2)
图中数据为一实例:5V、600mA稳压电源的过流保护,动作电流稍大于600mA,改变R\(_{2}\)可改变动作电流。

在有的稳压电源中,为了提高稳压精度,利用一个恒流源来取代调整管的偏流电阻(这个电阻同时也作为比较放大器的负载电阻)。在这种情况下,可以很简单地加上一个线绕电阻R\(_{o}\)和一个二极管D来担当过流保护的角色,见图7。稳压电源正常工作时,二极管D反偏,不影响恒流源BG1发挥正常功能。当过流时,R\(_{o}\)上压降增大,致使D正向偏置而导通,过流的电流有一部分要通过D流入R1,迫使BG\(_{1}\)的集电极电流减少,使调整管的偏置电流变小,从而限制了稳压电源的输出电流,达到保护的目的。该线路的动作电流为:
I\(_{0}\)M=VR1+V\(_{D}\)R0
V\(_{R1}\)为R1上的压降。改变R\(_{o}\)可以选取不同的动作电流值。
在上面几个线路中,过流保护后,稳压电源的输出电流基本上为定值,与输出端的状况(例如输出端短路)无关。下面的线路中,过流保护线路工作后,稳压电源的输出电流不再是定值,而是与输出端的状况有关。

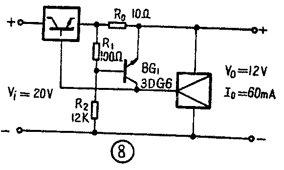
图8中,我们可以写出过流保护线路动作的条件:
I\(_{0}\)M·R0=(V\(_{o}\)+I0M·R\(_{o}\))·R1R\(_{1}\)+R2+V\(_{be1}\)
经整理后可得:
I\(_{0}\)M=(R1+R\(_{2}\))Vbe1+R\(_{1}\)V0R\(_{2}\)R0
可以看到,在这个表达式里I\(_{0}\)M与V0有关。当输出短路时,即V\(_{o}\)=0,我们把此时的输出电流记为Ios,则:
I\(_{os}\)=(R1+R\(_{2}\))Vbe1R\(_{2}\)Ro≈V\(_{be1}\);Ro
(当R\(_{2}\)>>R1)
图中数据为一实例:12V、60mA稳压电源的过流保护,动作电流为60mA,调节R\(_{1}\)可改变动作电流。

在低电压输出的稳压电源中,我们可以利用辅助基准电源E组成过流保护线路,如图9。这个线路的动作条件与图8完全一样,其动作电流也为:
I\(_{0}\)M=(R1+R\(_{2}\))Vbe1+R\(_{1}\)V0R\(_{2}\)Ro
在这个线路里,BG\(_{2}\)是作为一级电流放大而加入的。图中数据为一实例:5V、1.5A稳压电源的过流保护,动作电流为1.5A。

对于使用恒流源的稳压电源,可以采用图10的过流保护线路。这个电路的动作条件是:
I\(_{0}\)M·R0=[\(\frac{V}{_{o}}\)(R6+R\(_{7}\))R5+R\(_{6}\)+R7-V\(_{be2}\)] ·R2;R\(_{3}\)-Vbe1+/V\(_{D}\)
当输出短路时:
I\(_{os}\)=ViR\(_{2}\);R2+R\(_{3}\)+R4-V\(_{be1}\)+VD;R\(_{o}\)
在这个线路中,BG\(_{2}\)也是一个恒流源,向R2供给恒流来建立BG\(_{1}\)的基极电位。R4的加入是为了在开电源时作为启动用的。若没有R\(_{4}\),开电源时,因为Vo尚未建立,BG\(_{2}\)就不能供出电流,则BG1也就不能供出电流,调整管就不能工作,电源也就启动不起来。
以上各种类型的过流保护线路从根本上来说,只有二种类型。一种称为电流限制型(如图2、3、4、6、7);另一种为电流截止型(如图8、9、10)。

电流限制型的过流保护线路,一旦工作后,输出电流便基本上保持恒定,为I\(_{0}\)M,而不管其电源负载情况如何。其输出特性曲线如图11。我们知道,调整管的功耗:Pc=I\(_{o}\)(Vi-V\(_{o}\)),当过流保护时:P过流=I\(_{0}\)M(Vi-V\(_{o′}\)),Vo′为过流时的输出电压:V\(_{o′}\)=I0M·R\(_{L}\),RL为电源负载。当输出短路时,R\(_{L}\)=0,Vo′=0,P\(_{过流}\)最大:P过流max=I\(_{0}\)M·Vi,因此,在电流限制型的过流保护线路设计中,必须考虑使调整管的最大功耗有以下关系:
P\(_{c}\)>I0M·V\(_{i}\)
这样才能保证所设计的过流保护线路在任何过流情况下,都能安全可靠地保护调整管。
电流截止型的过流保护线路工作后,输出电流却根据电源负载的不同,从动作电流下降到某一个较小的值。其输出特性曲线如图12。当外电路短路时,电源的输出电流最小(即I\(_{os}\))。这时调整管的功耗为P短路=I\(_{os}\)·Vi,把它与电流限制型作比较,显然电流截止型过流保护线路可使短路时调整管功耗大大降低。这样,在选用调整管时就可以更经济。

在这里,我们说的电流截止型,实际上调整管并没有真正截止。因为若要调整管截止,也即要使I\(_{0}\)s→0,则R0就要选得很大,即R\(_{0}\)→∞才行。但是R0选得过大会影响电源的稳定度,所以一般R\(_{0}\)选零点几欧或者几欧。电源输出电流大的,可以选小一些;输出电流小的,可以选大一些。这要与电源的稳定度等指标一起来统筹考虑。
要真正使电源在过流保护后不输出电流,可以采用双稳态线路、可控硅线路或者使用继电器。这些过流保护线路可以更有效地保护调整管。但是,这些线路在外电路过流故障排除后一般都不能自动恢复,必须人为地启动一下才能使电源重新工作。

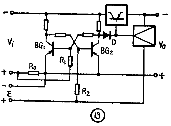
图13为用双稳态的过流保护线路。BG\(_{1}\)和BG2组成不对称双稳(只要适当选择R\(_{1}\)和R2即可实现),电源正常工作时,BG\(_{1}\)导通,BG2截止,D反偏,过流保护线路与其它部分由D隔离。过流时,R\(_{0}\)上压降增大,使BG1基极电位提高,由导通变为截止,进而使BG\(_{2}\)导通,通过D,使调整管基极电位抬高而截止,保护了调整管。当过流故障排除后,需重新开启一下电源总开关,才能使电源正常工作。

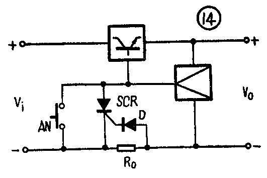
图14为应用可控硅的过流保护线路。当过流时,R\(_{0}\)上的压降大于可控硅控制极的触发电压,可控硅导通,使调整管基极电位下降,调整管截止,起到保护作用。动作电流:
I\(_{0}\)M=VG+V\(_{D}\)R0
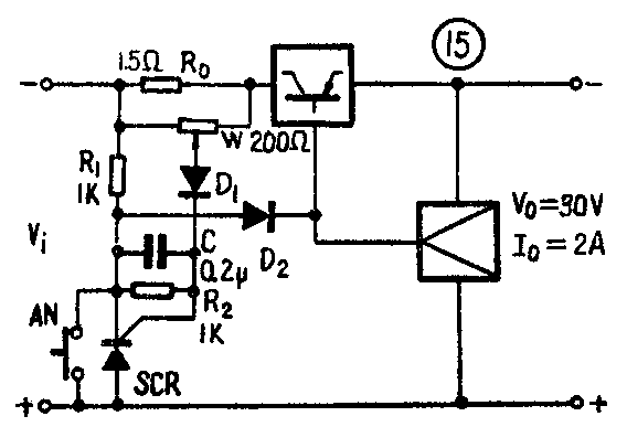
V\(_{G}\)为可控硅控制极触发电压。过流故障排除后,按一下按钮,才能使可控硅截止,稳压源复原,重新工作。图15为一实例,C是抗干扰用的,调节W可改变动作电流,SCR选用小功率可控硅。

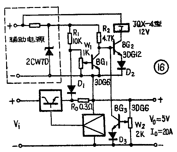
图16是使用继电器的过流保护线路。当过流时,R\(_{0}\)上压降增大,使BG1基极电位抬高而导通,从而BG\(_{2}\)截止,继电器J释放,串接在输入电源线中的继电器接点(图中未画出)把输入电源切断,就可使调整管得到保护。这个电路再增加一个三极管BG3,一个二极管D\(_{3}\)和一个电位器W2,可以与BG\(_{2}\)和J一起组成过压保护线路,对外电路的易受过电压损坏的负载加以保护。这样,只用BG1、BG\(_{2}\)和BG3就组成了过流、过压二种保护线路,充分利用了元器件。图中数据为一实例:5V、20A集成电路用稳压电源的过流、过压保护线路。调节W\(_{1}\)可改变动作电流,调节W2可选取过压保护的电压。这个保护线路一旦动作后,不能自动复原,因此在串接在输入电源线上的继电器接点上必须并联一个常开按钮作为启动按钮(图中未画出)。

以上介绍的过流保护线路种种,一定要根据不同的场合,不同的要求,灵活、巧妙地加以运用,才能做到既经济又安全可靠。(屠蘅沧)

