从公社广播放大站到大队之间的广播线路多采用单线传输,因此,机器工作地线和用户变压器地线质量的好坏直接影响广播设备的安全和广播的质量。下面介绍一种地线质量的粗略判断法,因为它简单、方便,所以对日常维护工作有帮助。

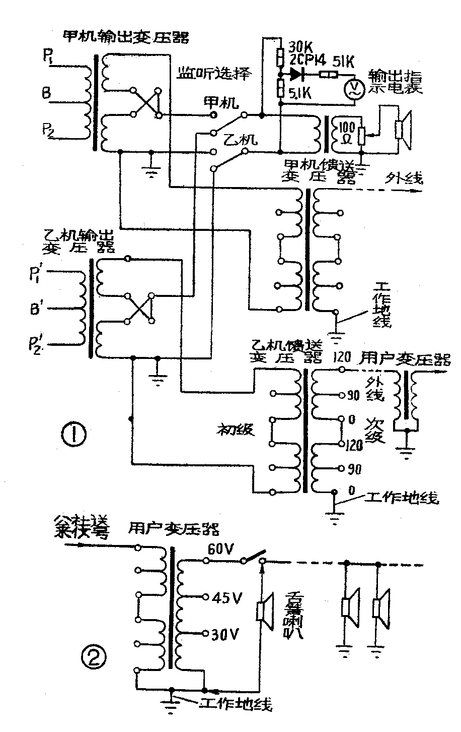
以GY2×275广播机为例,这种机器由两台275瓦扩音机组成,工作时共用一条工作地线和监听回路,如图1所示。在机器正常开机工作时,假设把甲、乙二台机器中的乙机关掉,而甲机继续播音,这时,把监听选择开关旋向乙机位置,开大监听音量,如果监听喇叭响声很大,或者输出指示电表表针摆动很大(例如超过15伏),说明工作地线质量不好,接地电阻太大;反之,如果监听喇叭声音很小,或输出指示电表表针基本不摆动或摆动很小,就说明工作地线质量较好。
上述判断方法的道理是:当甲机工作时,如果工作地线质量不好,在工作地线的接地电阻上就要产生一个音频电压降,在乙机馈送变压器次级、外线路负载构成的回路(注意此时乙机负载不能与馈送变压器断开)中就有一个音频电流,在乙机馈送变压器初级的感应电压的作用下,也将有一个音频电流通过导线传到乙机输出变压器次级,再从这个变压器次级中心抽头传到监听喇叭,从而使监听喇叭发出声音。喇叭中声音越大,表明地线质量越坏;喇叭中声音越小,地线质量越好。用输出指示表指示的原理也一样。
判断用户变压器地线质量的好坏可参考图2。在正常播音时,把用户变压器次级负载与次级抽头之间断开,在负载线与地线之间串接一只舌簧喇叭,喇叭中如发音很大说明用户变压器地线质量不好;如果喇叭声音很小说明用户变压器地线质量好。其道理和前面所述也一样。(广西藤县广播站 李明远)