随着超高频低噪声晶体管的大量生产,晶体管高频头迅速发展起来。现在不仅晶体管电视机用晶体管高频头,而且大部分电子管电视机也都开始采用。
采用晶体管高频头的电视机,在收看电视节目或调机时,有时会发生图象、声音突然中断的故障。经检查是高放管损坏。发生这种故障的原因是一个很强的电冲击窜进了高频头高放部分,使高放管损坏。大部分是高放管的be结短路。
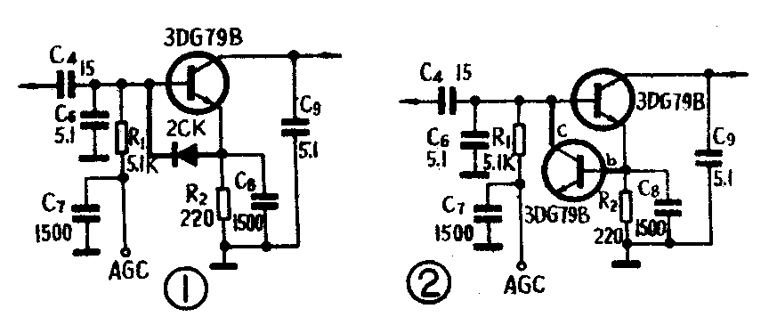
实验表明,对于显象管经常打火的电视机最容易发生这种故障,更换新的高放管后,往往还可能损坏,这就需要对高放管采取一定的保护措施。保护的办法很简单,对共发射极的高放电路来说,只要在高放管的b、e极上,反向并联一只开关二极管即可,连接方法如图1。对此二极管没有更高的要求。

在正常情况下,高放管处于导通状态时,b、e间有0.6~0.7伏的电压,这个电压使开关二极管处于截止状态。此时,开关二极管相当一个阻抗并联在高放管的b、e极上,阻抗的电阻部分为二极管的反向电阻,由于二极管截止阻值很大,阻抗的电容部分就是二极管的反向结电容。为了减少插入损耗从而减小噪声。高频头输入回路的有效Q值选取的比较低,一般输入端还并联一只电容(联合设计高频头为5.1微微法)。这样,只要开关二极管反向结电容不太大(如几个微微法)时,它对输入回路的影响并不大。当很强的电冲击窜进高放输入回路时,电冲击电压克服了开关二极管两端的反向电压,使开关二极管导通,其端电压被牵制在0.6~0.7伏的导通电压上,从而保护了高放管的be结。
这个开关二极管也可用损坏了一个结的高放管代替,如果高效管be结损坏,可用be结来作保护二极管用,连接方法如图2所示。
实验证明,采取上述保护措施之后,在各种强电冲击的情况下,高放管都不致损坏。(蔡树庚)