电视机的行输出变压器、偏转线圈或扫描电路中的其它电感线圈,有时会发生局部短路故障,如果没有专用仪器,仅靠万用表和直观检查,将很难作出正确的判断。我们参照国外资料中介绍的电路,采用国产元件试装了一种简易线圈局部短路测试器,可以很方便地检查这种故障。

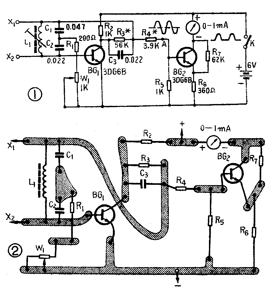
图1是测试器的电路图。BG\(_{1}\)与L1、C\(_{1}\)、C2等组成谐振在15千赫左右的电容三点式振荡器。BG\(_{2}\)与毫安表头组成晶体管交流电压表,用来监测振荡器的输出信号。电位器W1用来改变振荡器的工作状态,控制振荡器的起振和输出信号的大小。BG\(_{2}\)发射极的电阻R6(360欧)用来限制BG\(_{2}\)的集电极电流,使它不超过1毫安。在测试器工作的情况下,如果表头指示为0.1毫安,则说明振荡器尚未起振,这时可调节电位器W1,使它的阻值减小,当调至某一值时,毫安表的指针会突然上升到0.6毫安左右,即说明振荡器已经开始振荡。当被测线圈或变压器跨接到振荡回路X\(_{1}\)、X2两端时,如果线圈或变压器是好的,毫安表的读数不变,因为好的线圈呈现高阻抗,把它接到振荡回路两端时,并不会影响振荡器的工作。如果线圈或变压器中存在局部短路故障,短路线圈所呈现的低阻抗就会使振荡回路的Q值变小,造成振荡减弱,甚至停振,毫安表的读数就会下降。
晶体管BG\(_{1}\)、BG2可选用3DG6B类型的管子,为了使振荡器容易起振并保证晶体管交流电压表具有足够的灵敏度,管子的β值应大于或等于60,也可用β值足够大,漏流小的其他类型的晶体管。电容C\(_{1}\)、C2选用损耗小的涤沦电容器(CLX-63V类型),不宜采用纸介质电容。L\(_{1}\)可采用北京牌820型电视机中的调宽线圈(电感量在0.6~2.7毫亨),也可以自己绕制,用直径0.1毫米的漆包线,在直径为11毫米、长度为12毫米的骨架上乱绕800圈。骨架可用牛皮纸或塑料薄膜自制。磁心可用直径为10毫米、长度为10~20毫米的中波天线磁棒,磁心位置在调试中决定。由电容三点式振荡器的原理可知,振荡频率f=1/2π\(\sqrt{L}\)1C,其中C=C\(_{1}\)C2/(C\(_{1}\)+C2)为C\(_{1}\)与C2的串联值。C\(_{1}\)、C2既是谐振回路的电容,同时又是产生振荡的分压反馈元件,C\(_{1}\)、C2的比值决定了反馈比,影响振荡器的振荡强度。所以,改变电容器C\(_{1}\)、C2的大小及比值,也可以改变振荡器的振荡频率及输出信号的大小。虽然这个测试器对振荡频率无严格的要求,但C\(_{1}\)和C2的容量不宜小于3300微微法,否则被测线圈的分布电容会影响振荡器的工作。振荡回路的电感线圈L\(_{1}\)的适应范围也很宽,实验证明,采用四种不同的L1、C\(_{1}\),C2组合所得到的振荡频率,测试器均可工作,结果见表1。

此测试器采用6伏电源,电流为2毫安左右,均可采用l/8瓦电阻。所有元器件除电位器W\(_{1}\)和1毫安表头外,均可安装在图2所示的印制板上。若有1毫安的微型表头和6伏叠层电池,测试器可作得很小,如没有微型表头,也可借用万用表中的1毫安档。
测试器的调整步骤如下:首先将接在BG\(_{2}\)集电极电路中的毫安表断开,把电位器W1调在阻值最大的位置上,接通电源,调整BG\(_{1}\)的静态工作点。这时可适当调整R3的阻值,使BG\(_{1}\)集电极电流IC1为0.4~0.6毫安。然后再慢慢地转动电位器W\(_{1}\),使其阻值逐渐减小,转至某一位置时,IC1突然跳变到1~1.6毫安,说明振荡器起振。同时,可适当地调整L\(_{1}\)的磁心位置,使振荡器获得稳定的输出。如有示波器,可在图1中的A点测得如图所示的正弦波。第二步,接上BC2集电极电路中的毫安表,调整BG\(_{2}\)的工作状态。在BG1停振时,毫安表的读数为BG\(_{2}\)集电极电流IC2,应为0.1毫安;在BG\(_{1}\)振荡时,毫安表的读数应为0.6毫安左右,这可通过调整电阻R4及R\(_{6}\)的阻值来实现。当BG1振荡时,毫安表的读数如低于0.4毫安,可适当减小R\(_{4}\)及R6的阻值,使I\(_{C2}\)增大。
调整好工作点后,就可校验测试器,首先把测试端X\(_{1}\)、X2短路,这时表头读数将从0.6毫安左右突然下跌到0.1毫安。然后,再将X\(_{1}\)、X2端开路,表头的指针又会上升到0.6毫安左右的位置上。还可将一个好变压器接到X\(_{1}\)、X2端,然后从X\(_{1}\)引出一根导线穿过变压器的窗口,再将其首尾相接作成短路环,如图3所示。这时表头的读数如有显著变化,说明测试器是相当灵敏的。

实验表明,经过调整后,只要接通电源,毫安表指针上升到0.6毫安左右,就表示测试器能正常工作,不必每次测试都去调节电位器W\(_{1}\)。使用时,将被测试线圈或变压器接到X1、X\(_{2}\)两端,如果毫安表指针没有变化,说明线圈或变压器完好,如果表针从0.6毫安左右突然下跌到0.1毫安,则说明线圈或变压器有局部短路故障。(杜忠仁)