在直流电动机的微磁电流固定不变的情况下,电枢两端电压越高,则电机转速越快,电枢两端电压越低,则转速越慢。根据这个原理,我们可以设计一个全波可控整流电路,用它来改变电机电枢两端电压,从而达到直流电动机无级调速的目的。
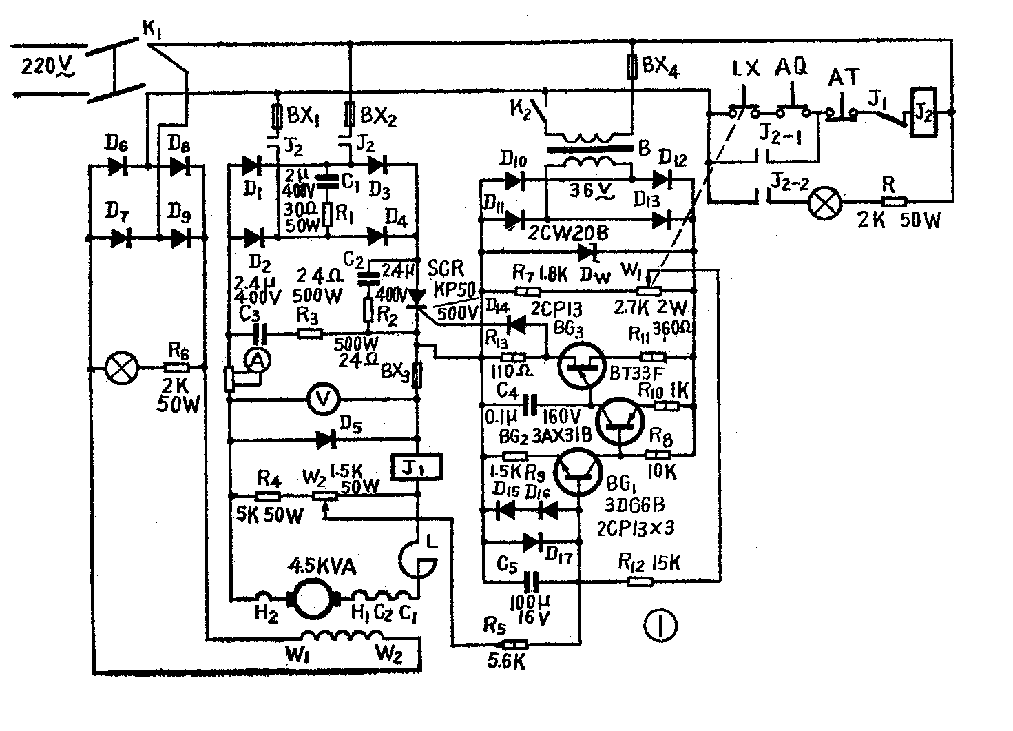
图1就是一个4.5千伏安直流电动机的可控硅无级调速装置电路图。

主电路由单相桥式整流电路D\(_{1}\)~D4、可控硅SCR、直流电动机D(负载)组成。图2是主电路的示意图。我们可以通过改变可控硅的导通角,来改变电机电枢两端的电压。R\(_{2}\)、C2并联在SCR上限制换向过电压。R\(_{1}\)、C1和R\(_{3}\)、C3为分别接在交、直流侧的过电压保护阻容吸收装置。快速熔断器BX\(_{1}\)~BX3(50安)、过流继电器J\(_{1}\)(25安)均起过流保护作用。L是滤波电抗器。D6是续流二极管。

励磁电路由D\(_{6}\)~D9构成单相桥式整流电路向电动机励磁线圈供电,保证励磁电路接通后,电枢电路才能工作,以防止电机失励造成飞车事故。

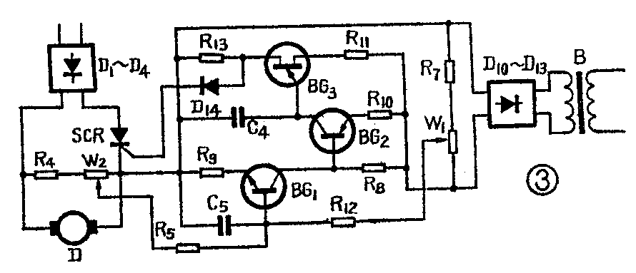
控制电路采用单结晶体管驰张振荡器,其简化电路如图3所示。调节W\(_{1}\)的值就可以控制触发脉冲输出的时间。例如调整W1使给定电压值升高,则BG\(_{1}\)基极电位升高趋向于导通,BG1导通后集电极电位下降使BG\(_{2}\)趋于导通。BG2导通后集电极电流I\(_{c2}\)上升,而Ic2是C\(_{4}\)的充电电流,Ic2的上升使C\(_{4}\)充电速度加快,C4两端达到单结晶体管BG\(_{3}\)峰点电压Up的时间提前,因此BG\(_{3}\)导通输出触发脉冲的时间也提前了,这时SCR导通角增大,输出电压也增大,使电机转速增加。如果调整W1使给定电压降低,则导致I\(_{c2}\)降低,使C4充电速度减慢,BG\(_{3}\)输出触发脉冲的时间就滞后。这时,SCR导通角减小,使电机转速降低。
同步变压器B接在主回路的输入端,以保证触发电路与主电路同步。给定电压由R\(_{7}\)、W1分压后取得,由于经稳压管D\(_{W}\)稳压,所以基本上不受电源电压波动的影响。二极管D15、D\(_{16}\)、D17为限幅二极管。C\(_{5}\)为交流旁路电容,以增强电路的抗干扰能力。
本系统采用了负反馈自动稳压环节。W\(_{2}\)、R4分压将整流输出的电压变化量取出一部分作为反馈信号输送到BG\(_{1}\)的基极,与给定电压反向叠加,形成负反馈。电路整定后,给定电压是不变的。当负载增加或电网电压降低引起电动机转速下降时,电枢两端电压下降,反馈电压也降低,使得加到BG1基极的叠加电压上升,触发脉冲前移,可控硅导通角增加,输出直流电压上升,使电动机转速上升,维持原来转速不变。反之,当负载减小或电网电压升高引起电动机转速上升时,电动机电枢两端电压上升,反馈电压也上升,使得加到BG\(_{1}\)基极的叠加电压下降,触发脉冲滞后,可控硅导通角变小,输出直流电压减小,使电动机转速降低,同样维持在原来转速不变。由此可见,加了负反馈稳压环节后,构成了一个简单的闭环调节系统,提高了电路的稳定性和精度。
为了防止电动机全电压起动损坏管子,在调速电位器W\(_{1}\)上连锁了一只LX—5型微动开关,保证了只有当电位器调到零时,电动机才能启动。微动开关的结构如图4所示。微动开关的外壳上装有一个支架,支架上固定一块钢皮,使钢皮正好压住微动杆。在电位器W1的轴上装一套筒,套筒上装一个支头螺钉,支头螺钉与电位器轴一齐转动。调整电位器的位置,使电位器调到零时支头螺钉正好能将微动开关上的钢皮压下,使微动开关触头1、3闭合。将微动开关的1、3触头串接在主回路交流接触器J\(_{2}\)(40安)的控制回路里,如图5所示。当电位器W1不在零时,即使按下启动按钮AQ,J\(_{2}\)回路也不通。当W1在零时,微动开关LX的1、3触头闭合,按下AQ,J\(_{2}\)得电开始工作,此时转动电位器Wl,虽然1、3触头断开,但由于J\(_{2—1}\)触头的自锁作用,交流接触器仍继续工作。AT为停止按钮。


调试时,如发现转速调不上去,可以适当减小励磁电流,使转速上升。
选择晶体管3DG6、3AX31时,要选择穿透电流小的管子,否则可能引起可控硅的误触发。一般是通过实验来选择的,用万用表测量,3DG6管子c—e间的正向电阻大于50千欧,3AX31管子c—e间的反向电阻大于10千欧,电路即能正常工作。单结晶体管BG\(_{3}\)的两个基极不能接反,否则无输出脉冲。二极管D1~D\(_{5}\)可选用50安500伏的硅整流二极管,D6~D\(_{9}\)可选用10安500伏的硅整流二极管,D10~D\(_{13}\)可选用1安100伏的硅整流二极管。BX4是螺旋式熔断器。(张振玉)