三稳态触发器是一种应用很广的脉冲电路。例如,在数字程序控制机床中,可用三稳态触发器来控制三相步进电机的三相绕组轮流通电;在行轮换调频制的彩色电视中,用来作为R(红)、G(绿)、B(蓝)信号的选通脉冲发生器等等。本文介绍三稳态触发器的几个实验电路,可在课堂上进行演示,使学生加深对三稳态触发器工作过程的理解,也可供业余爱好者自己制作。
用反相器组成三稳态电路
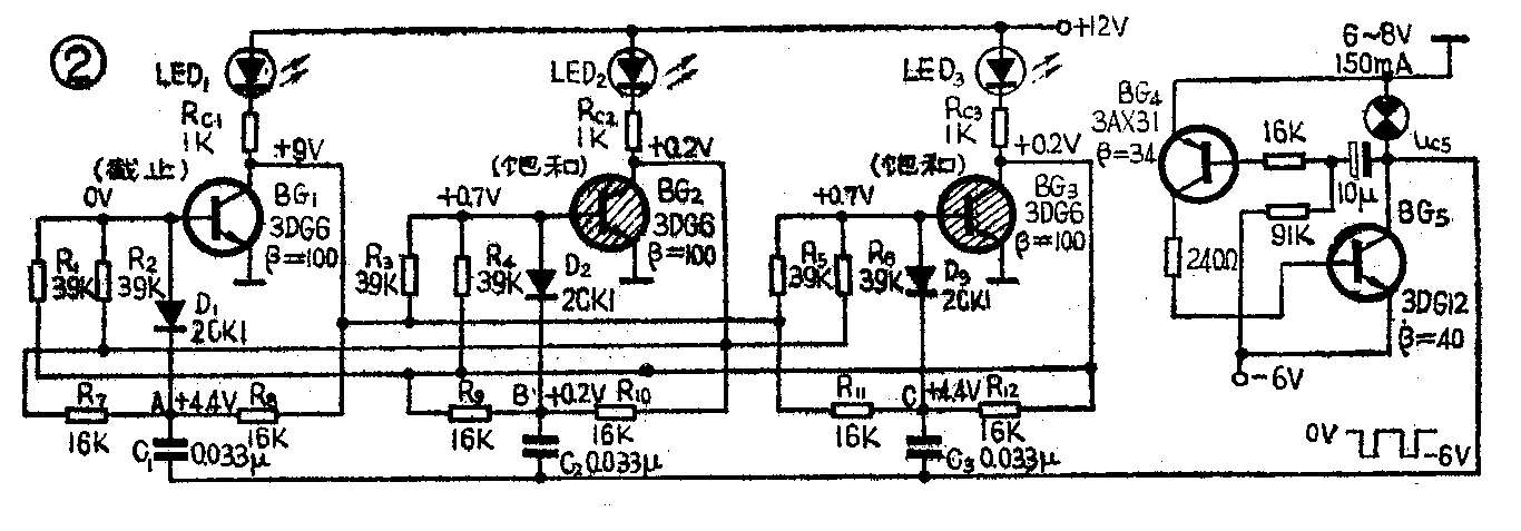
取三级反相器,每一级的输出端用电阻耦合到其余两级的输入端,就能构成一个三稳态电路。如图1所示,BG\(_{1}\)的输出分别经R3、R\(_{5}\)耦合到BG2、BG\(_{3}\),BG2的输出经R\(_{2}\)、R6耦合到BG\(_{1}\)、BG3,BG\(_{3}\)的输出经R1、R\(_{4}\)耦合到BG1、BG\(_{2}\)。发光二极管LED1~LED\(_{3}\)既作为每一级的集电极负载的一部分,也用来作为每一级的导通情况的显示。可以采用任一型号的正向压降在1.5伏左右的磷砷化镓发光二极管(如2EF1),要求三只管子的压降特性大致相同。
电源接通后,三个管子BG\(_{1}\)~BG3都争着要导通,但其发展是不平衡的,设I\(_{c2}\)增长得最快,则有如下的连锁反应发生:

这个正反馈连锁反应使BG\(_{2}\)迅速达到饱和。而剩下的BG1、BG\(_{3}\)两管又互相竞争趋向饱和,但其发展也是不平衡的,设Ic3增长得较快,则有如下连锁反应:

结果BG\(_{3}\)也迅速达到饱和。BG2、BG\(_{3}\)的饱和,使得它们的集电极电位Uc2、U\(_{c3}\)近似为零伏,通过电阻R1、R\(_{2}\)的耦合使BG1的基极电位U\(_{b1}\)也近似为零伏,因而BG1由于没有基极电流而截止。其实在BG\(_{2}\)达到饱和后,剩下的BG1、BG\(_{3}\)就构成了一个平常的集-基耦合双稳态电路,所以演变的结果必然是BG1、BG\(_{3}\)有一管截止、另一管饱和。即BG2、BG\(_{3}\)的饱和保证了BG1的截止。而BG\(_{1}\)的截止又使其集电极输出高电位Uc1,通过R\(_{3}\)、R5的耦合给BG\(_{2}\)、BG3提供足够的基极驱动电流,保证了BG\(_{2}\)、BG3的饱和。所以BG\(_{1}\)截止,BG2、BG\(_{3}\)饱和是电路的一个稳态。此时发光二极管LED1熄灭,LED\(_{2}\)、LED3点亮。上述过程从分析来看,首先是BG\(_{2}\)达到饱和,然后是BG3饱和、BG\(_{1}\)截止,应当看到,当BG2趋向饱和的过程正在进行时,BG\(_{1}\)与BG3的电位竞争已经开始,这种电位的竞争势必最后达到两管分别饱和与截止,实际上整个过程的发展是非常迅速的,几乎是在同一瞬间就实现的。
稳态 BG\(_{1}\) BG2 BG\(_{3}\)
Ⅰ 截止 饱和 饱和
Ⅱ 饱和 截止 饱和
Ⅲ 饱和 饱和 截止
当三级反相器的电路参数选择得完全对称时,电路还可以实现另外两个稳态,如附表1所列。所以图1的电路是一个三稳态电路。通过多次反复地接通和切断电源就可以观察到,电路究竟处于哪一个稳态是偶然的。但不论出现哪一个稳态,都是一管截止、二管饱和。这个电路会不会出现二管截止、一管饱和的那种稳态呢?理论和实践都证明这是不可能的。例如:设BG\(_{1}\)截止、BG2饱和,则BG\(_{1}\)的集电极输出高电位Uc1,故BG\(_{3}\)必然在Uc1经由R\(_{5}\)耦合产生的基极电流驱动之下进入饱和,而不可能是截止的。

三稳态电路的触发翻转
图1的电路可以用手动触发方式使其由一个稳态翻转到另一稳态。例如,设电路原来处于稳态1(BG\(_{1}\)截止,BG2、BG\(_{3}\)饱和),只要用一根导线把BG2的基射极短接一下,则BG\(_{2}\)就由于没有基极电流而截止,这时BG1、BG\(_{2}\)由Uc2输出的高电位驱动而进入饱和,所以电路翻转到稳态Ⅱ(BG\(_{2}\)截止,BG1、BG\(_{3}\)饱和)。若此后再把BG3的基-射极短接一下,则电路就翻转到稳态Ⅲ(BG\(_{3}\)截止,BG1、BG\(_{2}\)饱和)。
图2是用脉冲触发的三稳态电路。BG\(_{4}\)、BG6组成一个带灯的互补管自激多谐振荡器,灯泡每闪光一次便从BG\(_{5}\)集电极送出一个负脉冲,此负向脉冲被用来触发三稳态电路。为了使触发脉冲能够正确地被引向应该触发的管子,设置了脉冲导引电路D1、R\(_{7}\)、R8、C\(_{1}\),D2、R\(_{9}\)、R10、C\(_{2}\),D3、R\(_{11}\)、R12、C\(_{3}\),它实际上是具有电位脉冲门的微分电路。从图中可见,每一个反相器集电极输出控制着两个导引电路。反过来说,每一个导引电路受两个管子输出电平的控制。本电路的安排是只有当导引电路两端均为低电平时,导引门开,输入脉冲才能通过。设电路的起始状态是稳态I(图中用划有斜线表示饱和管,本划斜线表示截止管),则可测得BG1~BG\(_{3}\)各管的集电极、基极及A、B、C各点的电位如图2所示。此时二极管D1、D\(_{3}\)处于反向偏置,D2则几乎处于零偏置,故第一个负向脉冲的到来将使D\(_{2}\)导通而将负脉冲引向BG2的基极,BG\(_{2}\)截止并通过R2的耦合驱使BG\(_{1}\)翻转到饱和(BG3仍继续维持饱和),于是电路进入稳态Ⅱ。同样可以得出,第二个负向脉冲的到来将使电路进入稳态Ⅲ,读者可以自行分析。此电路在一系列负向脉冲的作用下的工作波形如图3所示。我们注意到,在图2电路中各管轮流截止的顺序是BG\(_{1}\)→BG2→BG\(_{3}\)→BG1……。在数字程序控制机床中,这是相当于使步进电机沿某一方向转动时的驱动信号。

如果要使管子轮流截止的顺序反过来(BG\(_{3}\)→BG2 →BG\(_{1}\)→BG3……),那末只要改变一下脉冲导引电路的接线就行了,如图4所示。仍设电路的起始状态为稳态I,则由图中各点的电位数值可见,现在是D\(_{1}\)、D2处于反向偏置,D\(_{3}\)处于零偏置了,故第一个负向脉冲的到来将使D3导通而将负脉冲引向BG\(_{3}\),BG3截止并通过R\(_{1}\)的耦合驱使BG1翻转到饱和(BG\(_{2}\)仍继续维持饱和),于是电路进入稳态Ⅲ。第二个负脉冲将使电路翻转到稳态Ⅱ,请读者自己分析。此电路的工作波形如图5所示。在数控机床中这是相当于使步进电视反转的一种驱动信号。

用双稳态电路组成三稳态触发器
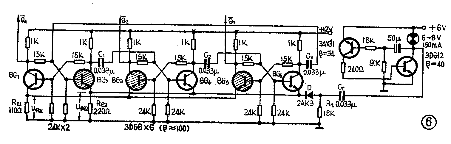
用三级双稳态电路可以组成一个三稳态触发器,如图6所示。这里的双稳态电路是采用自给偏压式的,R\(_{e1}\)、Re2为产生自给偏压的电阻,三级双稳态电路的左管射极连在一起接到R\(_{e1}\),右管射极连在一起接到Re2。由于我们对各电阻选取了合理的阻值并选取R\(_{e2}\)=2Re1,使电路处于稳态时左、右管的射极电位总是趋近相等(我们这里实际测得为U\(_{Re1}\)=URe2=2伏),这就要求有两个饱和管的射极电流流经R\(_{e1}\),一个饱和管的射极电流流经Re2。所以整个电路在达到稳态时只能有一级双稳处于右管饱和,其余两级双稳则处于左管饱和。因而得到附表2所列的三种情况,即图6的电路也是一个三稳态电路(图6中所给绘稳态I,即BG\(_{1}\)截止,BG3、BG\(_{5}\)饱和的情况)。
表2
稳态 BG\(_{1}\) BG2 BG\(_{3}\) BG4 BG\(_{5}\) BG6
Ⅰ 截止 饱和 饱和 截止 饱和 截止
Ⅱ 饱和 截止 截止 饱和 饱和 截止
Ⅲ 饱和 截止 饱和 截止 截止 饱和

三级双稳态电路之间经电容作成环形连接,即BG\(_{2}\)集电极经C1接到BG\(_{4}\)基极,BG4集电极经C\(_{2}\)接到BG6基极,BG\(_{6}\)集电极则经C3接回BG\(_{2}\)基极。这样连接好以后,只要在右管的射极公共线上输入一列正的触发脉冲(由图6右方的互补管多谐振荡器提供触发信号经Ct、R\(_{t}\)、D微分削波得到正脉冲),电路就能够循环翻转。例如,设电路原来处于图6所示的稳态I,输入正的触发脉冲将使公共线上BG2、BG\(_{4}\)、BG6的射极电位升高,这对原来截止的BG\(_{4}\)、BG6不起作用,但对饱和管BG\(_{2}\)却使其基-射极电压Ube2减小而退出饱和,且通过与BG\(_{1}\)联合构成的正反馈连锁反应将迅速地使BG2翻转到截止、BG\(_{1}\)饱和。BG2在由饱和转到截止时经电容C\(_{1}\)向BG4基极送去一个正脉冲,于是第二级双稳受触发翻转到BG\(_{4}\)饱和、BG3截止。BG\(_{4}\)由截止转到饱和时经C2送出的是一个负脉冲,对原来截止的BG\(_{6}\)不起作用。因此,在右管射极公共线上输入第一个正触发脉冲将使电路由稳态I翻转到BG3截止,BG\(_{1}\)、BG5饱和,即稳态Ⅱ。继续不断地输入正触发脉冲,就能使电路按稳态Ⅰ→Ⅱ→Ⅲ→I的方式循环翻转。读者不难理解,如果要使电路按Ⅲ→Ⅱ→Ⅰ→Ⅲ的次序翻转,应该怎样连接各级了。
若取各级双稳态电路的左管集电极为三稳态电路的输出端,则图6电路在一系列正触发脉冲的作用下将从Q-\(_{1}\)、Q-2、Q-\(_{3}\)依次轮流地输出高电位,其工作波形与图3很相似,只不过那里是利用输入触发脉冲的负跳沿进行触发,而这里则是利用其正跳沿触发的。
实践表明,图6的三稳态电路在电源电压改用+9V或+6V时亦可以正常工作。所以在最简单的情况下,可以让三稳态电路与多谐振荡器合用一个+6V电源。(许国殷)