集成电路计数器是一种电子通用部件。深川里的水流、峡谷里的风速、高速公路上的汽车速率、精密机床上的微小位移等物理量的自动测量,自动生产线上各个程序的时间、炼钢炉里变化着的温度、化学反应塔里的压力等物理量的自动控制;水文观测的参数、气象预报的数据、商店和邮局里数字秤显示的重量等物理量的运算和处理,都要用到计数器。象数字钟、数字秤、数字频率计、数字转速表等数字仪表,更是离不开计数器了。可以说,计数器既是一切数字测量仪表的基础,也是数控技术和计算技术的基本部件,它在自动测量、自动控制、自动运算中应用极为广泛。
计数器为什么有如此广泛的用途呢?这要从它所具有的基本特性谈起。
第一,计数器的一个基本功能是可以快速而精确地计数。这项功能有什么用处呢?我们知道,各种连续变化的物理量(或化学量、生物量),一般都可以通过传感器转变为相应变化的电量(电压或电流)。这种连续变化的电量叫做模拟量,再通过模—数转换装置,可以把模拟量转变为电脉冲,用电脉冲数目表示模拟量。这样,就把测量某一物理量的过程,变成了记数电脉冲的过程。由于记数器具有能快速而精确地计数的特点,它在测量仪表中便得到了广泛的应用。测量仪表数字化,已成为现代化测量仪表发展的一种趋势。
第二,在计数器与显示器之间接入译码器(见图1),则译码器对应于某个数字只有一个确定的输出。例如图1中当计数器记下数字56时,从个位译码器输出端6和十位译码器输出端5分别引出线来,接到“与门”,与门即输出一个对应于数字56的确定信号。利用这个特点,可以予置一个数字,当输出这个数字信号时,即可以输出一个确定信号去启动一个控制装置,实现数字控制。

第三,计数器有可逆特性,加法计数器每接收一个电脉冲,就从数字0的状态顺着0、l、2、……的次序变化到数字9的状态,减法计数器则每接收一个电脉冲。就从数字9的状态顺着逆过程9、8、7、……的次序变化到数字0的状态。所以,可逆计数器既可以作加法计数,又可以作减法计数。如果再附加上简单的辅助线路,经过适当的组合和变换,还可以做成十进制乘法器和除法器。因此,计数器可以方便地构成运算器,实现某些逻辑功能,提高自动控制效能。
第四,计数器的计数状态,既可寄存,又可用数字管显示,还可以远传,在几个地方同时显示一个数。例如用计数器测量雨量,下雨过程中雨量的大小直接用数字显示出来,读数直观、迅速、一目了然,用传输线将数字信号引入室内,还可实现遥测。
要说到计数器的妙用,那真是举不胜举。如果我们置身于数控世界,环顾四周,处处可以看到计数器在默默地工作着:只字不差地计数,认真负责地指挥。
当我们来到水库,走过自动化操作室,看到一排又一排的显示数字在跳动:有的数字指示水位高低;有的数字指示水面宽度;有的数字指示水流量;有的是下雨时指示雨量用的;还有一排显示数字,旁边有许多只按键,显示的数字自动地忽而增大、忽而减小,这是水库闸门升降的远距离数控装置;……。在这里,计数器在大显身手哩。
水位高度、水面宽度以及降雨量等的变化,都是线度的增减。通过传感器实现每变化一厘米或一毫米就发出一个电脉冲信号,将这些脉冲信号输入计数器,就可以表示出水位、水宽、水压。它们的功用虽不同,基本道理都一样,其中用计数器实现计数显示也是一致的。
水库闸门高达十几米,按照人们予置的数字,在“水闸升降数控仪”的指挥下自动地上升、下降。它也是利用传感器来获得升降距离的信号,不过由于水库闸门时而上升时而下降,所以要用可逆计数器。予置的数字是可以根据实际需要控制的高度而变更的。例如我们可以用数字流量计来控制闸门的升高和下降。流量计一般是用涡轮作传感器,涡轮的转速随着流速的增大而增大,每转动一周发出一个电脉冲,由计数器记录下流速,再通过运算部分算出流量并显示出来。如果我们将数字流量计予置到某两个数字,一个是上限、一个是下限,当计数达到上限数字时,发出闸门下降的信号,到达下限数字时,发出闸门上升的信号,于是实现了用流量来自动控制闸门的升降。
新型汽车上也已安装上数字仪表,如数字汽车里程表、数字汽车速率表、数字计时表等。车轮的转动经过齿轮变速,每行驶一百米使干簧继电器发出一个信号,数字里程表的计数器就计一个数。运用时基信号测出每分或每小时的里程数,就形成速率表。汽车上采用了这些数字仪表,可以迅速、直观地了解行程与车速。
基本计量的数字化,使时间、温度、位移、压力等基本物理量的显示和控制变得十分精确和灵活,这对提高科学实验和工程测量的质量非常有利。
用数字计时器代替停表,大大提高了计量精度。停表只能估计到0.01秒,而数字计时器可以精确到毫秒、微秒。数字钟是将石英晶体的振荡信号,经分频后输入计数器计数,用数字指示时间。采用集成电路,将类似数字钟原理的数字装置缩小放到表壳里,就成了数字手表。数字表自问世以来发展迅猛,予计到1980年世界上手表产量的一半将是数字式的。
通过数字计时器,予置一系列的时间,待达到某个予置时间,计数器就发出脉冲信号,推动某个执行机构工作,这就是时间程序控制的原理。例如学校里自动定时打铃;火车站上自动定时予报进站、检票;电化教学过程中各种幻灯、录音、电视的自动启闭等等,都是属于时间程序控制。另外,通过数字温度表、数字压力表,予置一系列的温度、压力,待达到某个予置的温度、压力时,计数器发出信号,推动某个执行机构工作,就可实现温度、压力的自动控制。
微小位移的数字化测量,可提高精密机床加工质量,并把精密加工自动化向前推进了一大步。利用光栅作传感器,可以把微米数量级的位移通过计数器用数字显示出来,而数字化的优点之一就是可以利用数字发出控制信号,这样,在加工过程中,可以同时进行公差监督和加工量测量,当测量结果达到予定要求时,就自动完成停车、退刀、卸料等动作,这就使加工速度和成品率大大提高。
数字秤是把重量的称量数字化。用计数器很容易做成十进位加法器、减法器、乘法器、除法器,结构很简单。这些计算器和数字秤配合使用,就使商店的售货、记帐、结算、开票等工作自动化,效率大为提高。图2就是一部商用数字秤。

在港口、码头、货栈,把数字秤、数字计算器和运输自动生产线结合起来,还可使运货、卸货实现自动控制,加快运输过程,提高统计效率。
再让我们来看一个很有意义的实例,叫做“竞赛计数器”。假设织布厂一个生产班组有70台织布机,每一个工人操作十台织布机,一个班组有七个工人。在开展班组之间、个人之间的社会主义劳动竞赛时,可以用集成电路计数器做成“产量计数器”,这样就能随时用具体的数字向大家显示车间里每个工人和整个班组完成的产量。通过这种竞赛计数器,促进你追我赶,大干社会主义,比一比哪个同志跑在前面,看一看哪个班组又创造了新纪录。
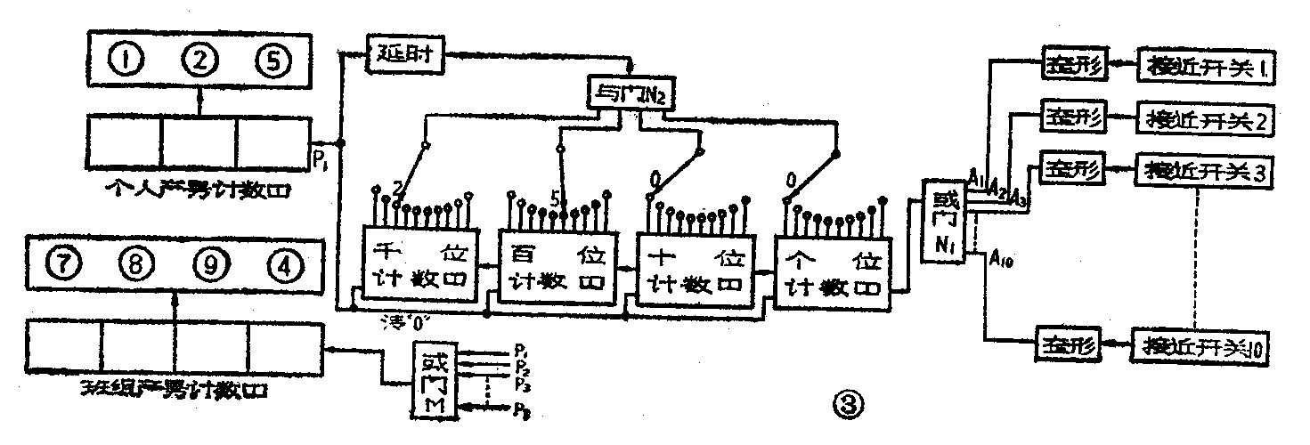
竞赛计数器的原理很简单。仍以上述有70台织布机的班组为例,在每台织布机上装一个接近开关或者干簧继电器作传感器,把与每个工人所管的十台织布机相对应的十个传感器编为一组,共七个组。假定织布机每编进2500根纬线恰好织出一米布。使每编进一根纬线传感器就发出一个信号,并把来自同一组的十个传感器发出的脉冲信号加到同一个“或门”N\(_{1}\)(见图3),将或门的输出端连到第一组计数器,而计数器已予置到2500。这样,当十台织布机编进的纬线之和等于2500时,门N2就发出一个予置计数信号,表示已织了一米布。这个计数信号一方面使第一组计数器清“0”,使它每织满一米布就回到零再从头开始计数,另一方面送到个人产量计数器里去计数,随时显示个人的产量。七个人共有七套这种装置,分别显示每个人的产量。如果再把七个人的产量脉冲输出端引到一个“或门”M,把七个人的产量一起计入“班组产量计数器”,就显示出这个班组的产量。

车间里所有的几个班组都装上这样一套装置,就可以将每个人、每个班组的产量随时公布出来。如果再附加上一些线路,使得出现超产、创造新纪录时能够发出灯光和声响,那末,这场社会主义劳动竞赛就进行得更加生气勃勃,有声有色了。(凌肇元)