我们利用磷砷化镓发光二极管正向伏安特性曲线的陡削部分与一般稳压管反向击穿特性曲线相似这一特性,把这种发光二极管用在稳压电源中作为基准电压元件,效果良好。另外,此种二极管能发光,可兼作工作指示灯用。下面介绍具体的应用方法。

图1是具有简单控制电路的稳压电源。其中稳压管DW作为基准电压元件。一般稳压管的伏安特性曲线如图2所示,利用稳压管反向击穿特性可获得稳定性较高的直流电压,以满足稳压电源对基准环节的要求
由磷砷化镓材料制造的红色发光二极管,其正向伏安特性如图3所示。从图中可看出电流从20mA变化到60mA时,曲线特别陡削。如果工作电流选得合适,可使管子动态电阻小,稳定性好,因此可用这种管子代替稳压管。


在稳压电源中使用磷砷化镓发光二极管时,必须知道这种管子的电参数,然后根据基准电压数值V\(_{Z}\)来决定所用发光管的只数N,N=VZV\(_{F}\)(VF为发光二极管正向压降)。把N只管子串联(见图4),接入稳压电源中。注意接入时的正、负极性正好与原稳压管的极性相反。最后还要调整限流电阻。

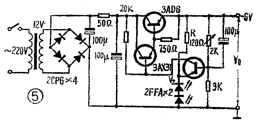
下面举例说明。图5是利用2FFA型的磷砷化镓红色发光二极管代替稳压管的稳压电源的线路。
2FFA型管子的主要电参数:正向电流为20mA时,其正向压降V\(_{F}\)<1.8V,一般在1.6V~1.8V之间;额定工作电流在20mA~60mA之间。
1.确定所用发光管的只数N。在图5电路中要求V\(_{Z}\)=4V,而发光管的正向电压VF=1.8V,因此N取2。两只发光管的正向压降为3.6V与4V相近。
2.确定限流电阻R。图5电路中输出电压为V\(_{0}\),通过发光管的电流I=(V0—V\(_{Z}\))/R。已知图5中:V0=6V,V\(_{Z}\)=3.6V。发光管的工作电流取20mA。所以R=(V0—V\(_{Z}\))/I=(6V-3.6V)/20mA=120Ω。
限流电阻R的阻值也可在调试时确定。用一个阻值比估算值大的电位器再串一个小阻值的固定电阻来代替限流电阻,把电流表串接在电路中。改变电位器的阻值,使通过发光管的电流为20mA,此时电位器的阻值加上固定电阻值即为限流电阻的阻值。(厉家俊)