本刊1977年第11期介绍了大功率晶体管的简易检验方法,这种方法只能粗测晶体管的好坏,在实际工作中往往还需要进一步测试大功率晶体管工作在大信号状态下的直流参数。这些参数有:穿透电流I\(_{CEO}\)或ICER;共发射极直流电流放大系数H\(_{FE}\)(β-);共发射极集电极饱和压降VCES和反向击穿电压BV\(_{CEO}\)或BVCER。用于音频功率放大器的推挽管,除了要测试上述参数外,有时还需要测试共发射极输入电压V\(_{BE}\)。下面就再继续介绍一下这方面的测试方法。
测试时除了需要用万用表以外,还需要有一个12伏直流电源,这一个电源应能提供600毫安以上的电流。测试前应先检查一下被测管的极间电阻,如果是好管,再进一步测参数。
1.测I\(_{CEO}\)

电路如图1所示。万用表使用直流电流档,测得电流值即为I\(_{CEO}\)。测试条件是VCE=-12伏。
如果需要测I\(_{CER}\),只要在图1电路中的基极和发射极之间接上一定的电阻即可,测试方法不变。
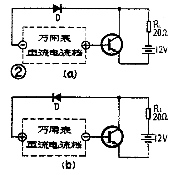
2.测H\(_{FE}\)

电路如图2所示。万用表使用直流电流档,测出基极电流I\(_{B}\),则HFE可由下式算出:
H\(_{FE}\)=\(\frac{500}{I}\)B-1
式中I\(_{B}\)单位为毫安。测试条件是:VCE≈(1.5~2伏);IC≈500毫安。
图2中的D可选用任何型号的硅二极管,例如2CP、2CK等均可。R\(_{1}\)采用20欧±5%5瓦电阻,如不是连续测试,采用1瓦电阻也可以。
3.测V\(_{BE}\)

电路如图3所示。万用表使用直流电压档,测出基极和发射极之间的电压即是V\(_{BE}\)。
测试条件是:V\(_{CE}\)≈(1~1.5伏);IC≈500毫安。图3中的二极管D和电阻R\(_{1}\)同图2。
4.测V\(_{CES}\)

电路如图4所示。万用表使用直流电压档,测出集电极和发射极之间的电压即是V\(_{CES}\)。
测试条件是:I\(_{C}\)≈600毫安;IB≈60毫安。在此测试条件下,所测得的是深饱和状态时的数值,它较浅饱和时的数值要小一些。在音频功率放大器中,当管子进入浅饱和状态时已开始产生削顶失真。一般可以认为当V\(_{CE}\)等于基极饱和压降VBES时,即开始进入浅饱和区了(合金扩散管如3AA型可能有例外)。
测V\(_{BES}\)很方便,电路仍按图4连接,用万用表直流电压档量出被测管基极和发射极之间的电压即是VBES。
图4中的R\(_{1}\)同前,R2为200欧±5%1/4瓦电阻。如果被测管H\(_{FE}\)≤10,无法达到饱和,则不能用此法测试。
5.测BV\(_{CBO}\)。测试方法见本刊1977年第七期。
以上测试方法适用于测试输出功率几瓦的音频放大器的输出管及输出电流几百毫安的稳压器的调整管。对于功率更大的管子,测试条件则有些偏低,测得的数就只能供作参考。测试时管子可不带散热片,测试H\(_{FE}\)和VBE时管子要发热,但不应烫手。测试时读数有微小变动是正常的,如果变动很大,比如I\(_{CEO}\)读数越来越大,或HFE越来越小,都表示管子热稳定性不好,这种管子就不宜再使用了。
在测H\(_{FE}\)、VBE时,不要使被测管集电极开路,最好先接好电路再接通电源,改动电路时应先断开电源。对于小功率管,不允许用此法测H\(_{FE}\)、VBE和V\(_{CES}\)。(王永江)