电容器两端电压“不能突变”和电感线圈中的电流“不能突变”,是电容器和电感线圈的重要的基本特性。在电子技术中,人们利用这种特性,作成有实用价值的电路;另一方面,由于这两个“不能突变”的存在,有时也给我们造成一些困难,使我们不得不采取各种必要的措施,来消除它的不利影响。
下面用几个例子来说明。

图1是用单结晶体管和RC回路组成的延时电路。当直流电压U接入电路之后,由于电容器C两端电压不能突变,使开始时C端电压仍为0伏,因而单结晶体管的发射极e和第一基极b\(_{1}\)之间的电压也为0伏。随着充电时间的延长,C两端电压逐渐升高,当到达一定值时,单结晶体管e、b1之间便导通,于是电容器C通过R\(_{b1}\)放电,由于Rb1阻值很小,所以放电时间很短,这样在R\(_{b1}\)上便产生一个很窄的脉冲。利用这一脉冲电压去触发其他电路(例如触发可控硅),就可以达到延时控制的目的。

图2是脉冲技术中广泛用到的微分电路的原理图。在这里也是利用了电容器两端电压不能突变这个特性,在电阻R两端可以取得正负向的尖脉冲。

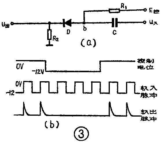
图3是一种电位脉冲门电路。在这个电路中,当电位控制端E控为0伏时,二极管不导通,b点电位为0伏,这时输入一个正向跳变的脉冲,例如从-12伏跳到0伏的短形波,由于电容器两端电压不能突变,电容器C右端电位从-12伏跳到0伏,正向跳变12伏,那么电容器C左端电位必然跟着正跳12伏,也就是b点电位由原来的0伏跳变到+12伏,在这一瞬间,二极管D由于处于正向偏置而导通,于是在输出端得到一个正向尖脉冲(见图3b)。
假定E\(_{控}\)电位是-12伏,这时即便输入端有一个从-12伏跳到0伏正向跳变的脉冲输入,由于电容器两端电压不能突变,b点电位则由-12伏跳到0伏,此时二极管D仍不导通,输出端也无脉冲输出。因此这个电路可以用控制端的电位来控制正向脉冲的能否通过,它们的波形见图3b。
图4是一个多谐振荡器电路,假定某一瞬间BG\(_{1}\)从导通变为截止,BG2从截止变为导通,于是此刻BG\(_{2}\)的基极电位近似等于0伏,这相当于电容器CB2右端接地,也就是相当于BG\(_{1}\)集电极通过电容器CB2接地(图5)。由于电容器两端电压不能突变, BG\(_{1}\)由导通变为截止的一瞬间,BG1集电极电位 U\(_{C1}\)就不可能立即从0伏跳到-EC,而必须经过一段时间(τ=R\(_{C1}\)·CB2),等C\(_{B2}\)充满电后,UC1才会接近于-E\(_{C}\)。BG2由导通变为截止时,集电极电位U\(_{C2}\)的变化规律与上述BG1管的相同。由于这个原因,使这种无稳态电路的输出矩形波的下跳沿变坏。为了改善输出波形的下跳沿,在电路中接入二极管D\(_{1}\)、D2和电阻R\(_{d1}\)、Rd2(图6)。这时电容器的充电回路不再经过BG\(_{1}\)和BG2的集电极了,这就使输出波形的下跳沿得到改善。

下面再谈谈电感线圈中电流不能突变对电路的影响。
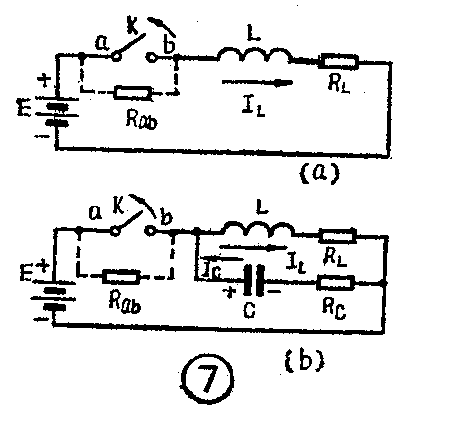
图7电路中R\(_{L}\)是电感线圈的直流电阻,Rab为开关K断开后a、b两点间的绝缘电阻。当开关K刚被断开的一瞬间,由于电感中的电流不能突变,I\(_{L}\)=\(\frac{E}{R}\)L,该电流必将在绝缘电阻R\(_{ab}\)上产生一个瞬态压降,此电压应为Uab=I\(_{L}\)·Rab=R\(_{ab}\)·E;RL,它比电源电压E要大许多倍,因此往往在开关触点间产生电弧而将触点打毛或打坏。


图7b中在电感线圈上并联一个RC电路,利用电容两端电压不能突变来克服电感中电流不能突变对电路所造成的影响。图8中的RC电路,是简单的可控硅保护电路,它就是用来防止由于电感元件在电路的断续过程中产生过高的瞬态电压。图9是一个带有电感负载的开关电路,例如带有继电器线圈的反相器,当电路由导通转为截止时,相当于图7a开关断开的状态,这时在三极管的集电极与发射极之间产生一个很高的电压,有可能将三极管击穿。为解决这个问题,可在电感线圈上并联一只二极管D,当三极管由导通转为截止时,线圈中的电流便有了顺利的通路,它通过二极管D以热能的形式泄放掉,于是三极管使得到了保护。
通过以上的例子可看出,正确认识两个“不能突变”。的规律,对分析和理解电子电路是很重要的。(江 南)

