简易“电子棋”是由几只灯泡、电源、电源开关组成的。它虽然很简单,但若指定你开亮某只或几只灯泡、或者让你在扳动开关次数最少的情况下开亮所有灯泡,你不看电路的话,就得试探多次才能得出答案;即使你看着电路扳动开关,为了选取最优方案也得动点脑筋才行。因此,这种简易“电子棋”可以帮助我们熟悉电路和训练逻辑思维能力。它虽然不象下围棋、象棋那样对弈激战,但也还饶有下棋之兴味。
我们制作的“简易电子棋”有三种线路。
第一种如图1所示,它是由四灯、四只开关组成的。

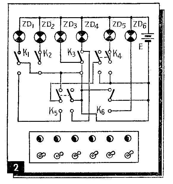
第二种如图2所示,它是由6灯、6只开关组成的。

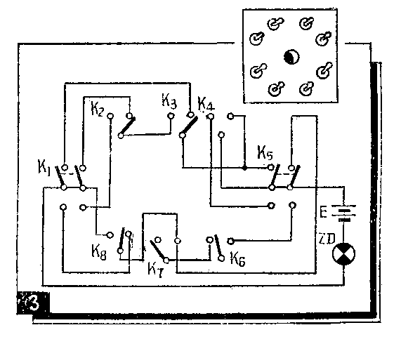
第三种如图3所示,它是由1灯、8只开关组成的。

图中的灯泡为1.5伏指示灯,开关用单刀双掷和双刀双掷的。电源可以用电池,但因小指示灯泡比较费电,所以最好用市电经变压器降压后供指示灯使用。各“电子棋”的面板图大家可以自己设计,图示的面板图仅供参考。
游戏时,若1个人玩第一种或第二种“电子棋”时,(1)扳动开关,使灯泡按1、2、3、4、5、6(或其它顺序)点亮,需扳动几次开关?最少扳动几次开关?(2)使4个灯泡或6个灯泡都点亮,最少得扳动几次开关?若两个人以上游戏时,除了同一个人的游戏方法相同以外,还可以给双方规定扳动开关的次数,看谁点亮的灯泡多。
第三种“电子棋”虽然只有一只灯泡,但因开关状态较多,所以要以扳动开关次数最少点亮灯泡,确实要动动脑筋。
其它游戏方法大家可根据线路自己制定。也可以把这种开关线路用在其它游艺项目上。(杨士凯)