铁磁性材料在循环交变的磁化过程中(改变线圈中电流的方向和大小,使铁心被循环交变磁化),磁感应强度B的变化落后于所对应的磁场强度H的变化的现象叫磁滞。在这个过程中,B与H的关系曲线叫磁滞回线。磁滞回线是描述铁磁性材料特性的一种曲线,是选取铁磁性材料的依据之一。
我们在教学中常用下列方法来进行磁滞回线的演示。

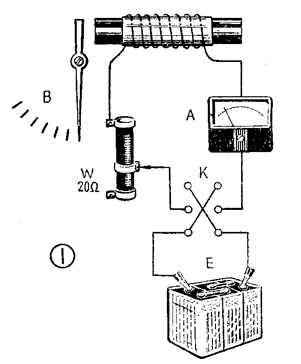
图1是一种简易的演示方法。W是能通过2安电流的可变电阻。B是教学用的可拆变压器次级绕组(0~12伏)。若自制,可用直径为15毫米左右的软铁棒作铁心,用线径为0.67毫米的漆包线在废漆包线筒上乱绕142圈,然后插入铁心。电流计是用0~1安的直流电流表,也可用演示电流计接上0~1.5安的分流器代用。E为6伏,可用容量是2安的三只蓄电瓶串联而成。若有输出大于1安的可调直流电源更好。图中指针与变压器铁心之间距离在20~30毫米之间(调整后定)。指针用1毫米厚的铁皮制作,长约145毫米。指针安装在一转轴上,当线圈通电时,铁心被磁化,吸引指针的尾端铁片,于是指针发生偏转。
电路未接通时,电流表没指示,铁心不吸引指针(铁心插入前已退磁),这表明H与B均为零,相当于图2H、B坐标中的原点0。

接通电源后,调整W的阻值,电流增大,H增大,铁心吸引指针,使指针偏转角度增大,表明磁感应强度B增大,如图中的oa线段。当电流再继续增大,指针偏转角度增大缓慢,见图中ab线段。当电流增大到一定值即H=H\(_{c}\)时,指针不再随电流增大而继续增大,说明铁磁材料达到了磁饱和见线段bc。当把电流逐渐减少到零即H=0时,指针停留在一个小偏转角度上,说明磁感应强度B不为0,见图中的Bd值。这就说明了磁感应强度B的变化磁滞后于磁场强度H的变化。B\(_{d}\)值称为剩磁。利用换向开关,给线圈通入反向电流,当这个反向电流增大到一定值时,指针才回到起始零位,说明磁感应强度为零,这时的磁场强度He称为矫顽磁力。当反向磁场继续增大到足够大时,可使铁磁材料重新出现磁饱和(极性相反)见线段ef。当H减小为0时,则得反向剩磁B\(_{g}\)。以后当H为正值且继续增加时,得到ghc一段曲线。cefh曲线就是磁滞回线。当重复上述变化过程时,铁磁材料的磁化过程仍按着这条闭合回线变化。

图3是用示波器演示磁滞回线的装置。图中B\(_{1}\)为0~250伏的调压器。B2为教学用的可拆变压器,初级为220伏,次级为12伏,也可以用电子管收音机电源变压器中的6.3伏。C\(_{1}\)最好用损耗小的油浸电容,也可用电解电容代替。在这个电路中,当n1线圈中通以交流电后,会产生周期性变化的磁场,使铁心反复磁化。在这个回路中,电阻R\(_{1}\)两端的电压与流过线圈n1的电流成正比,也就是说与磁场强度H成正比。我们把这个电压加到示波器的X轴上。同时由于磁场H的周期性变化,n\(_{2}\)线圈中有感应电动势产生,该电动势通过R2向C\(_{1}\)充电,这时C1上的电压正比于磁性材料的磁通量的变化,也就是说与磁感应强度B成正比。我们把这个电压加到示波器的Y轴上。在示波器的X、Y轴上分别加了代表H、B的变化量,所以,示波器的屏幕上能显示出H与B的关系曲线。
演示时,我们用的是325示波器。开启示波器前,先把Y“衰减”置于×10档,X“扫描范围”置于“外接”,同步旋钮置于“内”。然后开启示波器,待屏幕上出现光点后,调节位移旋钮,使光点置于屏幕中间,然后把R\(_{1}\)两端的电压接在“X轴输入”接线柱上,这时屏幕上会出现一条水平扫描线,适当调节调压变压器和“X增益”,使扫描线长为30~50毫米。然后把C1两端电压接到“Y轴输入”上,适当调节Y“衰减”、“微调”等旋钮,屏幕上就会出现“磁滞回线”图形。如果出现如图4(a)所示的两头打结图形,这是R\(_{2}\)阻值太小的缘故。因为在图3电路,R2C\(_{1}\)是一积分电路,要想使Y轴上所加的电压正比于B,必须满足积分条件R2C\(_{1}\)》T,否则由于R2取值小,Y轴上输入电压和B不成线性关系,就会出现打结现象。若出现图4(b)的现象,说明R\(_{2}\)、C1未接好,因为这时X轴输入、Y轴输入上所加的是两个有相位差的正弦波,所以在屏上出现的是李沙育图形。
不同的铁磁性材料有不同的磁滞回线。比如,变压器铁心用的硅钢片、坡莫合金等,则要求剩磁、矫顽磁力要小,它们的磁滞回线见图6(a)。在扬声器中和仪表表头中所用的磁钢,我们希望它们的剩磁、矫顽磁力大(不易退磁),所以它们的磁滞回线形状如图6(b)所示。在电子计算机中用的记忆磁心的磁滞回线接近矩形见图6(c)。
描绘磁滞回线的方法很多,还可以用瓦特表、磁通计等,这里就不多作介绍了。(冯容士)

