我们在工具柜上安装了一把电子锁,只要按预定次序,去按几只带指示灯的红色按钮,柜门就会自动弹开。这把电子锁是我们自行设计安装的。经一年多时间的使用,效果良好。
工作原理
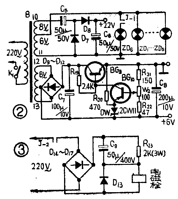
电子锁的电路分为逻辑电路、电源电路、电磁栓电路等三部分。
逻辑电路见图1。BG\(_{1}\)、BG2等组成对称双稳态触发器。它们之间工作状态的转换靠按钮AN\(_{3}\)-1、AN3-2、AN\(_{2}\)完成。BG3、BG\(_{4}\)与BG5、BG\(_{6}\)分别组成两组具有单端输入触发的双稳态触发器。输入电路分别由D1、C\(_{3}\)、R14和D\(_{2}\)、C4、R\(_{15}\)组成。输入电路的作用就是把输入电位的变化转化为负的尖脉冲,使晶体管的基极电位产生一个瞬时的变化,于是两个管子的状态互相转化。输入信号的引入是靠按钮AN1、AN\(_{4}\)来完成的。C1、C\(_{2}\)是抗干扰电容。BG7等组成触发器和驱动级之间的隔离级,BG\(_{8}\)为驱动级。当BG7导通时,BG\(_{8}\)也导通,继电器J动作。R18、D\(_{5}\)、D6组成有两个输入端的正“与”门电路。D\(_{5}\)的输入信号取自于BG4的集电极输出点;D\(_{6}\)的输入信号取自于BG1的集电极输出点。

下面我们来简单的分析一下这个电路的逻辑关系。为便于说明,我们规定BG\(_{2}\)、BG4、BG\(_{6}\)饱和而集电极为低电位时,称触发器处于“0”状态。截止而集电极为高电位时,称触发器处于“1”状态。由于设计时取R12>R\(_{11}\)、R9>R\(_{1}\)0,平时BG6处于截止状态,BG\(_{7}\)、BG8 均截止,继电器释放。
当按动AN\(_{0}\)(断开)时,BG1、BG\(_{3}\)、BG6因其发射极开路,均处于截止状态。三个触发器状态为“001”。因BG\(_{4}\)饱和,它的集电极为“0”状态,所以D5导通,P点被钳制在“0”状态。
先按AN\(_{1}\)再按AN2,AN\(_{2}\)接通后,BG2的发射结电压为0,BG\(_{2}\)截止,BG1由截止变为饱和。BG\(_{1}\)的集电极由“1”变为“0”状态,这一负阶跃信号经AN1加到BG\(_{4}\)的输入电路,经R14、C\(_{3}\)微分后的负脉冲加到BG4的基极,BG\(_{4}\)基极电位降低,促使BG4由饱和变为截止。此时三组触发器的状态为“111”。因BG\(_{1}\)饱和,D6导通,所以P点仍为“0”状态。
按动按钮AN\(_{3}\)-1、AN3-2。BG\(_{1}\)截止,BG2导通,三组触发器的状态为“011”。与门二极管D\(_{5}\)、D6反偏,P点为高电位状态“1”。
按动AN\(_{4}\)后再按AN2。因AN\(_{2}\)接通,BG2由导通变为截止,BG\(_{1}\)导通,与门二极管D6导通,所以P点由高电位状态“1”变为“0”,这个负阶跃信号经AN\(_{4}\)接至BG5的输入电路,经R\(_{15}\)、C4微分后变为一个负脉冲加到BG\(_{5}\)的基极,基极电位下降,于是BG5由导通变为截止,BG\(_{6}\)导通。这时三组触发器的状态为“110”。因BG6导通,输出低电位,所以BG\(_{7}\)导通,BG8也导通,接在BG\(_{8}\)集电极回路的继电器绕组里有电流通过,继电器动作,它的触点J-1、J\(_{-}\)2接通了指示灯和电磁栓绕组的电源,电磁栓动作,门开指示灯ZD6亮门自动弹开。逻辑关系见表。
图2是电源部分,一组为6伏稳压电源,供BG\(_{1}\)~BG7用。另一组为二倍压整流电源,输出为22伏,供BG\(_{8}\)用。6伏交流电源供按钮指示灯用。

图3为电磁栓电路,继电器的触点J\(_{-}\)2起着电源开关的作用。当J-2接通时,整流电流通过电磁栓绕组。图中R\(_{23}\)与绕组电阻组成分压电路, C9起加速电容的作用。当电源接通瞬间,因C\(_{9}\)两端电压不能突变,所以绕组两端电压最大,以保证电磁栓动作。而长时间工作时,因C9两端的电压经一定时间才能充电到R\(_{23}\)与绕组电阻的分压值,所以绕组工作电压较低,不致于引起电磁栓过热。图4为电磁栓结构图。栓的斜面斜度为60°,栓的最大高度为25毫米。栓上开的键槽深、宽各为2.5毫米。当线圈里有直流电流通过时,产生磁场,栓在磁力作用下被吸进线圈架,门弹开。断电后,栓在复位弹簧的作用下,又被弹出到锁门位置。栓上的键槽和限位销起的作用就是防止栓在复位弹簧的作用下弹出线圈架。
元件选择
线路中BG\(_{1}\)~BG6、BG\(_{1}\)0可用3DG、3DK系列的管子,我们用的3DG6,β>20。BG7、BG\(_{8}\)为3AX31C,BG9用3AX81。二极管D\(_{1}\)、D2用2AK2,D\(_{14}\)、D15~D\(_{18}\)用2CP18(一般反压在400伏以上的),其它二极管用2CP型就可以。继电器J为JR—2型(代号SD4、500、045)直流继电器。也可用吸合电压为15伏左右、吸合电流在10毫安左右的干簧继电器等。电阻除R23外,均用1/8瓦电阻。

电源变压器铁心截面积为3.68(厘米)\(^{2}\),初级用线径为0.14毫米的漆包线绕3366圈,次级6伏稳压源绕组用线径为0.19毫米的漆包线绕123圈。倍压整流绕组6~8伏,用线径0.72毫米的漆包线绕123圈。在92圈处抽头为6伏。电磁栓线圈架用塑料或铜料制成。弹簧用直径为1毫米左右的钢丝绕成,绕成后的弹簧直径为8毫米左右,其弹力视能在线圈断电后将栓弹在锁位为准。线圈用线径0.19毫米的漆包线绕满线圈架为止。
门钩最好用不被磁化的材料来作,其形状和尺寸(单位毫米)见图5。按钮用的是LA19~11D带指示灯的按钮,或者用无锁位的琴键开关或其它类型的按钮。
安装与调试

元器件焊接在印制线路板上,图6给出的是1∶1的印制板。接各按钮、继电器、变压器的引线从接线端1~13引出。电源变压器、印制板、电磁栓的电路等部分安装在一盒内。按钮位置视方便而定。我们把电磁栓安装在工具柜里抽屉底下的框上。门钩安装在门上。在断电的情况下将门推上,这时门钩正好撞在栓的斜面上,与撞锁(弹子锁)道理一样,栓向线圈架里移动,门钩滑过栓面后,栓再出来。将门锁住。通电后,栓被吸进线圈内,如果在门的合页处加装一个弹片或弹簧,门便自动弹开。调整时要注意到电磁栓的吸引力与门向外的弹力都要适中。如果门弹开的力很大,而电磁栓的力量不够,那么就得重新设计一只电磁线圈。另外,在制作、安装时,要注意在锁位时,栓出线圈架的距离不能太多,门钩要尽量靠近线圈架,以缩短栓的行程,减小门钩对栓的作用力臂。
调试时,先将6伏稳压电源调整好,再测22伏电压是否正常。
电源正常后,调整电路。把BG\(_{1}\)、BG2的基极分别与地短路,测量它们的集电极电压(对地),饱和时应在0.5伏以下,截止时应接近6伏。如不是这样,说明管子状态未进入饱和或截止,应调整R\(_{3}\)、R4的阻值。BG\(_{3}\)、BG4的调整方法也是一样。BG\(_{5}\)、BG6在电源接通或断开时,应始终维持BG\(_{5}\)饱和、BG6 截止状态,否则应适当增大R\(_{12}\)的阻值。然后将BG5的基极接地,看BG\(_{5}\)是否截止、BG6是否导通饱和。如管子状态不转换,再适当减小R\(_{12}\)阻值,同时还要测量BG7、BG\(_{8}\)的饱和情况,并调整W1和R\(_{17}\),检查继电器是否动作。
管子状态调整好以后,按顺序按动各按钮(参考表),检查两个单端输入式触发器的触发状态是否可靠。如触发幅度不够,应适当调整输入电路的电容及二极管。

为了增加电路的保密性,可以在AN\(_{0}\)处、AN3-1、AN\(_{3}\)-2处分别再串联按钮,并且在安置时把它们无规则排列,就不易被人识破。(唐玮)