为了适应收音机修理工作,我们制作了一种袖珍晶体管信号发生器。它能输出455~1605千赫的调幅高频信号和音调可变的音频信号,同时也可以作为信号寻迹器。
工作原理
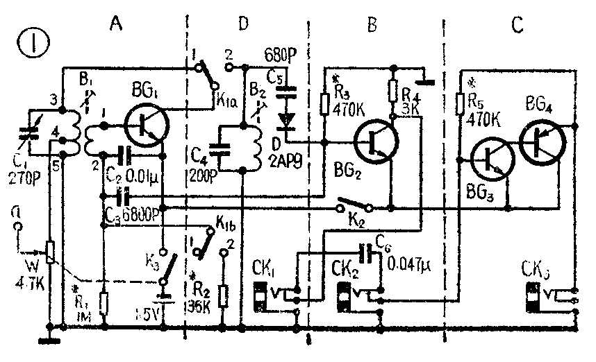
线路见图1。为叙述方便,把它分成A、B、C、D四部分。在A部分中,BG\(_{1}\)1、C\(_{1}\)等组成高频振荡器,产生等幅高频振荡信号,改变C1,可以改变高频振荡信号的频率,使其频率从455~1605千赫连续可调。BG\(_{1}\)、R1、C\(_{2}\)等组成间歇振荡器,适当地选择R1、C\(_{2}\)数值,使其频率在音频范围内变化,作为高频振荡信号的调制信号。已调制的高频信号由接在“a”端的探针辐射输出。从图1可以看出,A部分本身就是一个单管信号发生器,为了改善其性能又加了B、C、D三部分。

B部分为音频放大器,由间歇振荡器产生的音频信号经C\(_{3}\)耦合输入,放大后从CK2输出,供检修收音机音频部分使用。
C部分是由复合管组成的末级放大器,由CK\(_{3}\)输出的音频信号供检查收音机的输出变压器和扬声器用。C部分还可作音频寻迹用。寻迹时,把被检修的收音机的音频信号从CK1加入,经C\(_{6}\)耦合到BG3、BG\(_{4}\)放大后,由CK3输出,从接在CK\(_{3}\)处的耳机有无声音就可以判断收音机的低放部分有无故障。
D部分可用作中频寻迹。中频寻迹时,把K\(_{1}\)置于“2”位,调C1使C\(_{1}\)1调谐在465千赫,当中频信号从探针输入时,经BG\(_{1}\)放大后,再经二极管D检波,检波后的音频信号经B、C两部分放大后,通过耳机有无声音就可以判断检修的收音机中放部分是否有故障。这部分电路中,C4\(_{2}\)组成谐振回路,适当地选择其数值、使之谐振在465千赫的频率上。
元件选择
BG\(_{1}\)~BG3为3DG6,BG\(_{1}\)的β值约为30,BG2、BG\(_{3}\) 的β在100~200之间,BG4用3AX31,β为30~40。
C\(_{1}\)为270微微法密封单连可变电容器,也可以用双连可变电容的一连代替。C2~C\(_{6}\)都可用瓷介元片电容。R1~R\(_{8}\)为1/8瓦电阻。W为小型带开关电位器。电源为1节5号电池。
B\(_{1}\)为TTF-2-1型中频变压器,B2为TTF-2-1或TTF-2-2中频变压器,若用TTF-1-1或TTF-1-2、TTF-1-3时,因谐振电容已附在中频变压器内,所以应把线路图中的C\(_{4}\)去掉。
K\(_{1}\)为小型2×2拨动开关。K2是自制的。在电位器W的胶木脚上加上一小片磷铜片作为动触点,把W的一个开关焊片兼作静触点。在仪器外壳对准K\(_{2}\)处打一小洞,用塑料铆钉作个揿头,平时揿头被动触点弹起,当按下揿头时,K2接通。
组装与调整
按图2尺寸剪一块罐头铁皮作底板,打好洞,沿着虚线折成直角,按位置固定好C\(_{1}\),并把B1\(_{2}\)、K1、W、CK\(_{1}\)、CK2的金属外壳焊接固定在底板上。电池弹簧和塞孔a应与底板绝缘,装在一块厚1~2毫米、大小如图2右侧所示的胶木板上,此板又作为本仪器的底部的盖板,CK\(_{3}\)也装在这块盖板上。焊接时要特别注意BG1的集电极到B\(_{1}\)、C1的接线要短而直,并避免与底板、外壳等靠近,以减小振荡回路的布线电容。底板、盖板上主要元、器件的位置及整个仪器外形见图3。


焊接完毕后,检查无误就可以开始调试。K\(_{1}\)扳向“1”位,K2暂时用导线短路。接通电源,调整R\(_{1}\)使IC1为5~10微安,调R\(_{3}\)使IC2为0.1~0.5毫安,调整R\(_{5}\)使IC3、4为2~10毫安。用一架频率刻度准确的收音机,把收音机调谐到中波低频端535千赫处且靠近B\(_{1}\)、C1振荡回路,缓慢旋动C\(_{1}\),当C1容量从最大向容值变小方向旋动时,大约旋到约45°,收音机应先后两次出现音频叫声,其中在容量较大一处时出现的音频叫声音量较小,音调较低,为465千赫频率点。另一次音调较高、音量较大为535千赫频率点。旋动C\(_{1}\)依次找出600千赫、1000千赫、1400千赫、1605千赫的频率点。若旋动C1时收音机无反应,说明本仪器未起振,应减小R\(_{1}\);若旋动C1在某两点上出现“咝咝”声,说明输出的是等幅波,应增大R\(_{1}\);若C1完全旋出时,高端频率仍低于1605千赫,则应改绕B\(_{1}\)(用蜂房绕法或乱绕),以减小分布电容。这样调整后,把K1置于“2”,在CK\(_{3}\)处接一耳机,让收音机接收某一电台广播且把音量开得很小,从收音机变频级输出处接一导线至本仪器“a”孔,旋动W使输入信号最强,调整C1到中频频率上,这时耳机有广播声音,然后调整R\(_{2}\)、R3、R\(_{5}\),使声音最大且IC1~I\(_{C4}\)最小,换上固定电阻后拆除K2短路线,把电池等装入外壳,外壳是用电子管收音机中频变压器的铝罩作的。固定好盖板,并给W装上拨盘、给C\(_{1}\)装上旋钮,把校准过的各频率点准确地刻记在旋钮旁边,便于记忆与使用。
探针可用钢丝或针作,为方便检修,还需作一外接导线,这个导线的一端接鳄鱼夹子,另一端接插头,以与CK\(_{1}\)、CK2、CK\(_{3}\)配套使用。
本仪器主要考虑体积小,对其它方面一些性能未作更多的考虑。在作音频寻迹时,为省电可将K\(_{1}\)置于“1”位。作音频发生器时,CK3不要插入耳塞机,以免浪费电池。(九江市五交化公司无线电门市部修理组)