各行各业搞技术革新的同志,常常要用到TTL集成电路。如何比较合理地使用集成电路器件?谈谈我们的一些看法。
1.根据逻辑线路的方案,提出对器件的逻辑功能、参数规范、工作环境等要求,参照集成电路制造厂提供的产品目录合理地选用器件。例如为实现“与非”逻辑功能选用与非门电路时,可根据要求选用高速或中速、普通与非门,或者与非功率门,二类品或三类品等等。
2.要注意外引线的排列顺序。一般老的产品常以左上角为第一脚,依次顺时针方向排列,如双与非门的外引线排列见图1。而新的部颁规定外引线的排列以左下角为第一脚,依次逆时针排列,例如四输入端双与非门的外引线排列如图2所示。目前正逐步向新的部颁规定过渡,使用时要注意。


3.安装时不要把外引线从根部弯曲,否则易断。焊接用的电烙铁一般不宜超过25瓦,时间不超过3秒。为防止虚焊,焊接前最好将电路的外引线浸锡处理,如焊后焊点上面有剩余的焊剂时,要用酒精棉花轻轻擦干净,以免腐蚀外引线。
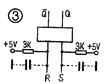
4.对于剩余不用的输入端,不要悬空,要接高电平。对触发器的R、S端,也常常是通过一电阻接+5V电源,有时还并接一个0.01~0.047微法的电容器,以提高抗干扰能力,如图3所示。

5.强电电源线和弱电电源线不要平行布线,而且距离要尽可能远些。为防止强电的感应干扰,对较长的弱电信号控制线,要用金属管屏蔽,或用绞合线加匹配网路(见图4a、b、c),或用同轴电缆加匹配网路(图5)。


6.为了减少通过电源带来的干扰,控制机的电源变压器初次级间常绕有屏蔽层。有时甚至需要在市电电源与控制机电源之间加一个初次级均为220V的隔离电源变压器。在每块装有集成电路的插件板上的电源与地之间,接有20μ和0.01μ的电容滤波网路,如图6。

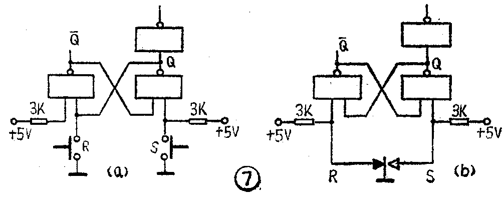
7.如有扳键、按钮、微动开关、继电器等机械触点与集成电路输入端连接时,为防止触点抖动影响电路的逻辑功能,要加一RS触发器如图7a、b所示。

8.在可能的情况下,尽量采用集成度高的器件,例如:用单片的D触发器代替六门拼接成的维持阻塞触发器。器件在印制板上的排列和引线要合理,电源线和地线要尽最短而粗。印制板宜采用大板结构,以减少连线和引出头,但也要注意板太大在时间长了后容易变形,以致造成接触不良。(蒋友海)