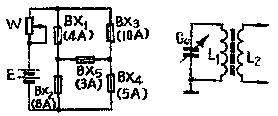
1.左下图电路中,若保险丝内阻一样,当改变W阻值,电路电流由小变大时,你能判断几个保险丝的熔断顺序吗?
2.晶体管收音机的输入调谐回路见右下图,在这个电路中, L\(_{1}\)、C0是组成串联谐振电路还是并联谐振电路?

上期“想想看”答案
1.图中L、C组成简单的分频器,使得高音频信号从2—2支路通过,低音频信号从支路1—1通过。L的阻抗是随着频率升高而变大,例如,取L=1.8毫亨,当信号频率f为10赫时,X\(_{L}\)≈0.113欧,当f=1000赫时,XL≈11.3欧,f=10千赫,X\(_{L}\)≈113欧,所以L在这里的作用是阻挡高音频信号通过1—1支路的。而电容对低音频信号呈现的容抗较大,阻挡低音频信号通过2-2支路,对高音频信号呈现阻抗小,所以2—2支路为高音频信号通路。实际设计中,适当选取L、C的数值,就可以得到所需要的分频点。通常取L=1~10毫亨,取C<10微法。(肖昌慧)

2.在这个电路中,若要直接求出A、H点间的等效电阻不太容易,因为这个立方体是由12只电阻串、并联组成的。但从这个立方体结构可以看出,电阻连接上有着对称关系,流出A点的三个分支电流是大小相等的,所以B、D、C三点是等位点,同理E、F、G三点也是等位点。从图中可以看出,若把B、D、C三个等位点相连,E、F、G三个等位点相连,则中间部分就变成6个电阻并联阻值为1/6r,而A端与H端分别为3个电阻相并联为1/3r,所以A、H点之间等效电阻R\(_{AH}\)=r/3+r/6+r/3=5r/6。(祁一明)