三、怎样看反馈电路
上面我们着重介绍了反馈信号的取出、加入以及加入的极性,下面我们以几个NPN管放大电路为例,谈谈怎样运用上述概念去认识和分析电路。

图6是一个共发射极放大电路。先找出反馈网络或反馈元件。信号从基极注入,通过发射极及发射极电阻R\(_{E}\)回到信号源。输出从集电极取出,通过发射极电阻RE回到发射极,因此发射极电阻R\(_{E}\)是输入回路和输出回路的公共元件,即反馈元件。再看看是电流反馈还是电压反馈。因为反馈信号Uf是在R\(_{E}\)上取出的,如把输出短路,Uf仍然存在,亦即反馈信号不依赖于输出电压U\(_{sc}\)而与输出电流成正比,因此是电流反馈。从晶体管的输入端A、B两点来看,反馈信号Uf与输入信号U\(_{sr}\)是串联的,所以是串联反馈。最后看看反馈的极性。当输入信号Usr出现正半周使基极A点电位上升(用+表示),于是发射结正偏增大,发射极电流增大,发射极B点电位也上升。标出这瞬间的极性后,不难看出,U\(_{f}\)与Usr极性正好相反,使U\(_{be}\)实际输入减小,所以是负反馈。综上所述,这是一个串联电流负反馈电路。

图7也是一个共发射极电路。它的集电极输出由于R\(_{c}\)、Rf的分压作用,有一部分通过R\(_{f}\)输入基极,因此Rf是反馈元件。如把输出短路(集电极接地),R\(_{f}\)上的反馈电压即为零,所以是电压反馈。从A、B两点可看出,Rf与信号源都是跨接在A、B上的,所以在R\(_{f}\)上取得的反馈信号Uf与输入信号U\(_{sr}\)相并联,为并联反馈。共发射极电路输出信号与输入信号反相,因此电压反馈Uf也与输入信号反相,是负反馈。由此可见,图7所示电路为并联电压负反馈电路。

图8是一个射极输出器,它的输出与输入同相。反馈信号取自输出端发射极,当输出端短接时U\(_{sc}\)等于零,则Uf也不存在,因此是电压反馈。从A、B两点看,反馈信号U\(_{f}\)的加入与Usr是串联的,极性相反,而且输出电压全部充作反馈电压。因此射极输出器是全电压串联负反馈。

图9为两管直接耦合放大电路。在这个电路中,R\(_{E1}\)、RE2为反馈元件,我们已在上面讲过了。此外还可以看到,在第二级(BG\(_{2}\))输出回路中接出一个电阻Rf,这个电阻R\(_{f}\)接到第一级(BG1)的输入回路,所以R\(_{f}\)也是一个反馈元件。如果把BG2输出短路,仍有电流流经R\(_{f}\),所以是电流反馈。从第一级基射两极看,信号源与Rf、R\(_{E}\)是并联的,所以是并联反馈。再看反馈极性,如果A点电位上升,则引起BG1基极电位上升,使BG\(_{1}\)基极电流增大,从而BG1集电极C点电位下降,引起BG\(_{2}\)基极电位下降,使BG2集电极电流减小,R\(_{E}\)压降减小,使A点电位回降。因此这个反馈是负反馈。这种从后级反馈到前级的反馈电路,叫级间反馈电路,而RE1之类的反馈电路,从本级输出反馈到本级输入,叫做本级反馈。因为存在大电容C\(_{E}\),对交流旁路,所以从A点反馈到BG1基极的只有直流成分,级间没有交流反馈。

图10也是一个两级直接耦合放大器,与图9不同的是级间存在交流反馈。反馈取自BG\(_{2}\)输出端集电极C点,为电压反馈,经Rf、C\(_{f}\)加至BG1的发射极。输出的交流信号在R\(_{E1}\)两端获得反馈电压Uf,U\(_{f}\)与Usr串联地加在U\(_{be1}\)两端,为串联反馈。反馈的极性:当输入信号出现正半周时,A点电位为正(图中以+表示),两级共发射极电路经两次倒相,C点电位也为正,即D点电位为正,这样,在BG1的输入端,U\(_{f}\)与Usr串联,极性相反,所以是串联电压负反馈。

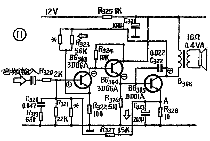
最后,我们结合英雄228—2型电视接收机的低放电路再巩固一下反馈的概念。如图11所示电路由三级组成,级间采用直接耦合。前置放大级BG\(_{3}\)03和输出级BG305都是共发射极放大器,中间的推动级BG\(_{3}\)04为射极输出器,它起电流放大和阻抗匹配作用。第一级BG303的基极偏置取自第三级BG\(_{3}\)05的发射极A点,经R327、R\(_{321}\)分压获得,具有直流负反馈作用以稳定工作点。另外,在BG305的集电极通过R\(_{323}\)和R322分压,将输出信号反馈到BG\(_{3}\)03的发射极,反馈性质为交流串联电压负反馈,反馈大小可以通过并联在R323上的打*号的电阻进行调整。电容C\(_{322}\)为BG305的交流电压并联负反馈电容,对音频信号中的高频信号有较大的负反馈,有一定衰减作用。R\(_{326}\)上取得串联电压负反馈,R322上取得串联电流负反馈。
四、反馈的应用
放大器引入了反馈,比起不加反馈的开环放大器,将增添许多新的特点,有的还因为反馈极性和反馈量的不同而变为振荡器,更开拓了新的用途。反馈是实现自动控制的一种基本方法,利用反馈进行控制是自动化系统中的常见作法。
(一)负反馈

在放大电路中,大量出现的是负反馈。负反馈是在牺牲了一定增益的条件下,换取放大器各方面性质的改善:(1)展宽频带,改善放大器的频率响应。从图12中我们可看出,引入负反馈后,放大器的增益虽然减小了,但它的带宽B′大于无反馈放大器的B。(2)稳定放大器的工作点,稳定放大器的增益,干扰和噪声电平得到抑制。(3)减小非线性失真。(4)变换放大器的输入阻抗和输出阻抗。
下面我们举几个例子说明。
1、电容高频补偿:

在诸如电视机视频放大级这种需要扩展频带的放大器中,可以在发射极反馈电阻R\(_{E}\)两端并联一个小电容CE(如图13所示),其容量不是微法级,而是在几十微微法至几百微微法(也有用几千微微法的)。这种小电容由于数量上的变化而导致了性质上的变化,它并不对各种频率的信号都呈现交流短路作用。对于低频信号C\(_{E}\)呈现高阻抗,\(\frac{1}{ω}\)低·C\(_{E}\)》RE,它并联在R\(_{E}\)上对RE影响不大,R\(_{E}\)仍起负反馈作用。而对高频信号CE呈现低阻抗,1;ω\(_{高}\)·CE《R\(_{E}\),这时近似于将RE交流短路,削弱了R\(_{E}\)的负反馈作用,从而提高了高频端的增益,展宽了频带。

图14是飞跃9DS4视频放大电路,是一级阻容耦合共发射极放大器。集电极负载为R\(_{231}\),基极偏置由R225、R\(_{226}\)分压供给。为了实现对视频信号进行宽频带放大,除了在集电极采用电感L211、L\(_{212}\)进行补偿外,在发射极采用了电容高频补偿。C237、R\(_{228}\)即为电容补偿网络,C228也具有高频补偿作用,都能提高电视的清晰度。R\(_{227}\)为交流负反馈电阻。W202被称为对比度电位器,其实质是调节负反馈量用以控制视频放大级的放大倍数。当W\(_{2}\)02阻值为零时,R229因大电容C\(_{238}\)交流接地而失去反馈作用,这时视放级对视频信号的放大倍数最大,表现为电视图象黑白对比度增大;当W202阻值增大时,视放级的负反馈增大,增益下降,图象黑白对比度减小。
2.高音衰减:

在音调调整电路中,有时需要将高音降低,也用到负反馈(见图15)。反馈通过R\(_{f}\)和Cf来实现,在高音时,频率高,C\(_{f}\)的容抗\(\frac{1}{ωC}\)f也小,当1;ωC\(_{f}\)<Rf时,负反馈加深,因此具有高音衰减作用。
3.阻抗变换:
串联负反馈可增大放大器的输入阻抗;并联负反馈可减小放大器的输入阻抗;电压负反馈使得放大器输出阻抗减小;电流负反馈使得放大器输出阻抗增大。因此我们可以利用各种负反馈来实现阻抗变换。

在晶体管电视机中,视频检波级要求它的后一级输入阻抗要高,否则容易产生失真。但是它的后一级视频放大级为了获得足够的放大倍数一般采用共发射级电路,输入阻抗较低,不能满足视频检波级的要求。为了解决这个矛盾,我们在二者之间加了一级视预放(见图16)。视预放级采用的是射级输出器——电压串联负反馈放大器,它的输入阻抗高,满足前级视频检波的要求;输出阻抗低,满足后面视频放大级的要求,起了阻抗变换和匹配的作用。
各种类型的负反馈对放大器的影响可以通过表2说明。

(二)正反馈
正反馈虽然会影响放大器的稳定性,增加非线性失真等,但是正反馈能提高放大器的增益,例如收音机的再生电路即是一种正反馈,而且一个放大器加上足够的正反馈,就会变成一个振荡器,因此正反馈的应用也很广泛。下面我们也举几个电视机中应用正反馈的例子。
1.中和电路

晶体管工作在高频段时,由于集电结结电容C\(_{bc}\)的存在,产生寄生反馈,这种寄生反馈使放大器高频端增益下降,频带变窄,而且常常引起高频放大电路工作不稳定,甚至自激。如何解决这一问题?除了选用Cbc较小的管子外,在电路上一般利用中和电路来解决。所谓中和电路就是人为地外加一路反馈,使它与寄生反馈大小相等相位相反以抵消寄生反馈。如图17所示,输出信号从集电极A点通过结电容C\(_{bc}\)寄生反馈到基极,为并联电压负反馈。我们从集电极变压器绕组的另一端B点通过中和电容CN人为地加一路反馈到基极,由于电感两端A、B两点相位相反,这两路反馈的极性也相反。当满足L\(_{1}\)/L2=C\(_{N}\)/Cbc时,通过C\(_{bc}\)和CN的两路反馈互相抵消,达到中和,寄生反馈消失。

电视机的高放、末级中放电路中,一般都有中和措施,有的伴音中放也采用中和电路。图18即为JDS3型电视机第三中放电路,图中电容C\(_{217}\)即为中和电容。
2.本机振荡器:

超外差式晶体管电视机的高频头中都有本机振荡级。本机振荡一般采用共基极电容三点式振荡或共集电极电容三点式振荡。下面我们结合图19来分析共基极三点式振荡。输出信号经过C\(_{1}\)、C2分压,反馈到输入端A、B之间,当发射极B点变+时,由于共基极电路输出与输入同相,所以集电极C点也变+,这个信号通过C\(_{1}\)、C2分压反馈到C\(_{2}\)的两端,使得B点更加+,反馈信号加强了输入信号,为正反馈。正反馈强到一定强度就会产生振荡。反馈量的大小与C1、C\(_{2}\)的比值有关,振荡频率主要取决于L、C1、C\(_{2}\)、Cs。
此外,电视机帧扫描、行扫描电路中所用的间歇振荡器、多谐振荡器、互补锯齿振荡器等,都是正反馈应用的实例。
3.波形补偿:
电视机帧扫描电路由于晶体管非线性、锯齿波形成电路充放电过程非线性、输出级扼流圈分流等原因,造成输出信号失真,引起画面上部伸长,下部压缩发生畸变,这时可以反馈一个反方向失真的波形来进行补偿,用以改善线性。

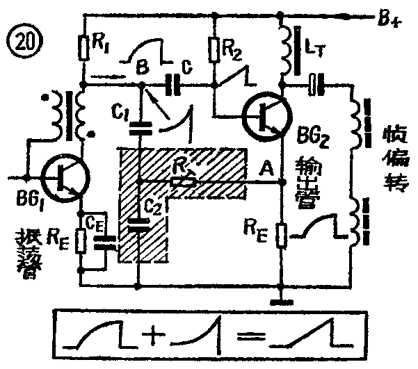
如图20所示,从B点输入一个失真的锯齿波信号,那么在发射极A点可以得到一个同样失真的锯齿波信号,这个信号通过RC\(_{2}\)积分网络变成带有上翘波形的与输入信号失真相反的波形,它通过C1反馈到B点与输入的失真波形叠加,于是在BG\(_{2}\)的基极可以得到一个线性良好的锯齿波。调节R的大小,即可调节反馈波形的上翘程度,用以调节线性。这种波形补偿从反馈性质来看属于电流并联正反馈,由于反馈最小,不会产生振荡。发射极电阻RE对BG\(_{2}\)而言是电流串联负反馈电阻。

图21是英雄228—2型电视机帧扫描电路。图中波形补偿有两路:一路反馈信号从帧输出管BG\(_{6}\)02发射极A点取出,通过R606、RR\(_{47}\)、C606积分网络进行波形变换,经C\(_{6}\)07反馈到BG602的基极;另一路反馈信号从BG\(_{6}\)02集电极帧输出变压器B602取出,经W\(_{6}\)03、R607、C\(_{6}\)08积分网络进行波形变换,通过C606反馈到BG\(_{6}\)02基极。由发射极取出的反馈信号,由于发射极与基极同相,故为正反馈。由集电极取出的反馈信号,由于集电极与基极反相,故为负反馈,但此负反馈经过变压器B602倒相,仍然是正反馈。不过前者为电流反馈,后者为电压反馈。
反馈的应用极为广泛,以上内容仅作为我们建立反馈概念和熟悉反馈电路的第一步。要正确认识千变万化的反馈电路,还需不断对各种实际电路进行分析,反复思考,认真判断,才能牢固掌握。(陈启蒙)