这是北京无线电厂生产的全波段一级台式收音机。全机使用22只半导体三极管和10只二极管;有12个波段,能接收全部调幅广播波段和一个调频广播波段。调幅波段包括长波、中波和九个短波波段,各短波波段的频率范围是衔接的。其中短波2~9八个波段有展宽装置,能将各波段中包括的标准米段进行扩展。
本机调幅中放采用了陶瓷滤波器,并有带宽控制装置。低频部分有音调选择装置,在手调档时,高、低音控制钮能连续调节,以适合使用者的不同需要。低频输出级采用了无变压器电路。电源可由12节1号干电池供给,也可使用专为此机设计的牡丹ZL-1型整流器,将交流市电整流后供给。
本机还装有调谐指示表、时区表及耳机、拾音、录音、外接扬声器的插孔和外接电源等接线柱,以满足不同需要。
主要性能指标
1.频率范围:
长波 150~400千赫;
中波 535~1605千赫;
短波\(_{1}\) 1.6~5.0兆赫;
短波\(_{2}\) 5.0~7.1兆赫,展宽5.93~6.23兆赫(49米段);
短波\(_{3}\) 6.1~8.2兆赫,展宽7.07~7.35兆赫(41米段);
短波\(_{4}\) 8.2~11兆赫,展宽9.45~9.80兆赫(31米段);
短波\(_{5}\) 10.1~13.5兆赫,展宽11.65~12.05兆赫(25米段);
短波\(_{6}\) 13~17.4兆赫,展宽15.05~15.55兆赫(19米段);
短波\(_{7}\) 15.2~20.1兆赫,展宽17.55~18.05兆赫(16米段);
短波\(_{8}\) 18.2~24.2兆赫,展宽21.25~22.05兆赫(13米段);
短波\(_{9}\) 21.5~30兆赫,展宽25.45~26.75兆赫(11米段);
调频波 88~108兆赫。
2.中频频率:调幅465千赫;调频10.7兆赫。
3.输出功率:不失真功率不小于4瓦;最大功率不小于5瓦。
4.电源电压:直流18伏。
5.电源消耗:在无信号输入时不大于50毫安;在最大输出时不大于350毫安。
6.体积:684×320×236毫米\(^{3}\)。
7.重量:约18公斤。
电路简介

本机的方框图见图1。电原理图见(本期封三)图2。从图1可看出,此机的调频和调幅部分各自有独立的高、中频通道,而低放部分则是共用的。这样可避免调频和调幅的相互牵制。本机虽然高、中频电路都采用硅管,但电路采取正极接地,即各级电路的输入、输出信号的公共端是电源正极。这样不但可以使调频各级电路工作更稳定些,而且对于调幅波段来说,可以使输入回路线圈、高放线圈和本振线圈的各绕组冷端都接地,这对于简化线圈组件的接线及简化印刷线路板的引线都是很有利的。下面把整个电路分成几部分来介绍。

一、调幅高放电路
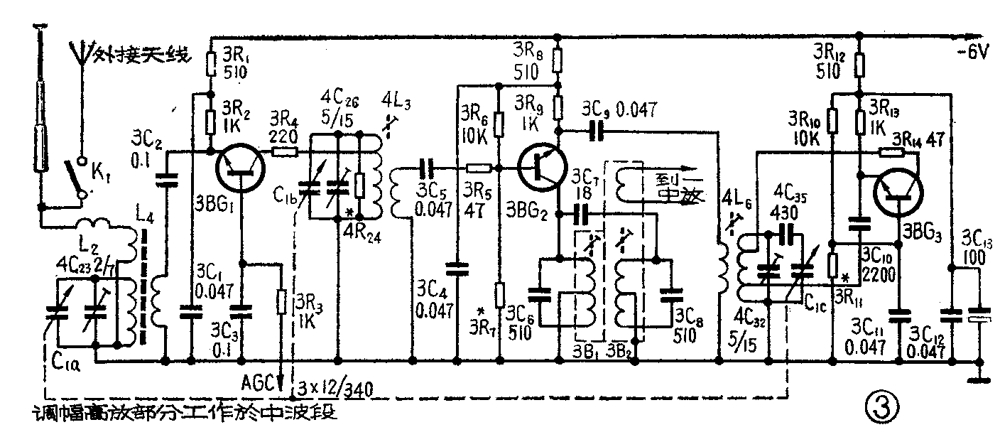
调幅高放部分(部件代号2241—3)是由高频放大(3BG\(_{1}\))、混频(3BG2)和本机振荡(3BG\(_{3}\))组成。通过按键和滚筒的联合作用来转换输入回路线圈、高放线圈和本振线圈,使这三级电路工作在长波、中波、短波1到短波\(_{9}\)共11个波段上。其中,长波、中波和短波1都各自有一档工作选择按键,而短波\(_{2}\)~短波9则是合用一档按键。当按下S\(_{2—9}\)按键时,还要将滚筒转到所需接收的波段上,才能接收该波段的广播节目。为了分析清楚起见,去掉繁琐的按键和接线,将中波段和短波2—9的高放部分的等效电路简化为图3和图4。


从图3可以看出,天线接收信号经输入回路选择后感应到次级,由3C\(_{2}\)耦合到高放管的发射极。3BG1接成共基极电路,工作电流由第一中放的上偏流电阻4R\(_{1}\)调整在0.4毫安左右。3C3是基极旁路电容,集电极通过3R\(_{4}\)接到高放线圈。3R4起抑制寄生振荡使电路稳定的作用,不能用得太大,否则高频增益将受影响。3R\(_{1}\)和3C1组成电源退交连电路。
一般收音机中没有高放级,2241机为什么要加高放级呢?这是为了提高抗干扰的能力,也就是提高该机对中频波道、假像波道、交叉调制和互调等干扰的抵抗能力。对短波来说,还可以在一定程度上提高整机的灵敏度。这里采用的电路,比共发电路具有稳定性高、波段两端增益均匀等优点。高放级的增益因波段而异,约0~6分贝。
信号经高放级放大后,由高放线圈次级经耦合电容3C\(_{5}\)和抑振电阻3R5送到混频管3BG\(_{2}\)的基极。本振电压由电容3C9耦合到3BG\(_{2}\)的发射极。3R8和3C\(_{4}\)组成电源退交连电路。这是一个典型的混频线路,其工作电流由上偏流电阻3R7调整在0.5毫安左右。集电极输出的差频信号(即中频信号)经双调谐中周3B\(_{1}\)2选择后由次级送到第一中放管4BG\(_{1}\)的基极。混频级的增益约20分贝。
由3BG\(_{3}\)担任的本机振荡级采用电感三点式振荡电路(惯称“哈特莱”电路),其工作电流由上偏流电阻3R11调整在1毫安左右。3R\(_{12}\)和3C12、3C\(_{13}\)组成电源退交连电路。这种振荡电路的优点是振荡线圈只需一个绕组就能起振,不需要反馈线圈。因此不会发生反馈线圈接错造成停振的弊病。图中振荡线圈4L6也有一个次级绕组,那仅仅是为了给混频级提供本振注入电压而加的。改变次级绕组的圈数,便可改变混频级的本振注入电压大小。本机长波、中波和短波\(_{1}\)的本振注入电压选在80~100毫伏;而短波2—9则选在100~150毫伏。这是为了达到最佳的信噪比所必需的。图3中中波输入电路串联一个电感线圈L\(_{2}\),主要是为了在使用外接天线时抑制噪声用的。以上是中波段电路分析,实际上各波段的情况是类似的,唯有短波2—9电路稍有变化。
短波\(_{2—9}\)电路简化图如图4。其米段的展宽是用自锁按键3K1来控制的。当自锁键在原位时,三连的每一连都串连进82微微法电容使用。这时三连旋转180°的容量变化范围不再是12~340微微法,而是10~66微微法。这是因为短波\(_{2—9}\)的波段覆盖系数很小(fmax/f\(_{min}\)≈1.36),所以必须对三连的容量变化范围进行压缩。以上是未展宽的情况,收音机的接收频率为各波段正常值。当自锁键按下时,三连的每一连除串联82微微法电容外,还串联一个33微微法电容,此外还并联一个约30微微法左右的电容(固定电容22微微法和微调电容5/15微微法的并联值)。这时三连旋转180°的容量变化范围是26.4~34.6微微法(见图5)。这个变化范围比原来的10~66微微法要小得多了,而且包含在10~66微微法范围之内。由此可见,展宽自锁键按下以后,短波2—9的每一个波段的频率范围都大大变窄了,而且新的频率范围正好是原来频率范围中的一部分。这就意味着波段得到了展宽。如果短波\(_{2—9}\)的频率划分按这样的要求来设计:即①保证每一波段都有一个国际广播米段;②保证每一波段中的国际广播米段都在三连的同一角度范围内,那么,只要适当选择展宽时串、并联电容的容量,总可以使S2—9的每一波段,在按下展宽键钮时将这个波段中的国际广播米段扩展成整个度盘的宽度。2241机正是这样设计的。在图4中,在短波\(_{2—9}\)的每一个线圈上除并联微调电容外还并联了一个固定电容(C10—17、C\(_{26—33}\)、C42—49),这是由于高波段时线圈分布电容减小使微调电容调节范围不够而增加的。这个电容的数值因线圈的分布电容不同而有不同要求。具体数值请看封三图2附表。

二、调幅中放电路
调幅中放部分(部件代号2241—4)是包括:4BG\(_{1}\)、4BG3和4BG\(_{4}\)担任的三级中频放大器;4BG2担任的AGC放大;4D\(_{1}\)、4D2担任的AGC倍压检波;4D\(_{3}\)担任的中频信号检波,以及陶瓷滤波器4LB1、4LB\(_{2}\)等。本机所用的陶瓷滤波器是由多片振子串、并联组成的带通滤波器。不同于一般的两、三端陶瓷滤波器。其通频带4LB1为5~7千赫;4LB\(_{2}\)为8~10千赫,而±10千赫的选择性两种都在40分贝以上。所以整机的通频带和选择性主要靠陶瓷滤波器来保证,而线路中所用的中频变压器,除4B2以外都并联了阻值较低的电阻,因此都是宽频带放大器。这些中周主要起阻抗匹配作用,对选择性帮助不大,但对通频带却免不了有一定的削减作用。
从混频级(3BG\(_{2}\))输出的中频信号送到第一中放管4BG1进行中频放大。这级中放管的工作电流由上偏流电阻4R\(_{1}\)调整在0.5毫安左右,同时又受4R9上的AGC电压控制。4R\(_{7}\)是AGC馈电电阻。第一中放的增益约24分贝。其中频输出由中频变压器4B1次级分成两路。一路经宽、窄带转换按键、陶瓷滤波器送到第二中放管4BG\(_{3}\)。第二中放管的工作电流由上偏流电阻4R22调整在0.8毫安左右,同时又受4R\(_{19}\)上的AGC电压控制。4R20是AGC馈电电阻。第二中放的中频放大增益约10分贝,其中频输出由中频变压器4B\(_{3}\)的次级送到第三中放管4BG4,它的工作电流由上偏流电阻4R\(_{15}\)调整在1.8毫安左右,本级增益约36分贝,其输出由中频变压器4B4送到中频检波器。中频检波器是由二极管4D\(_{3}\)担任的典型的串联负载检波器。4C18、4R\(_{18}\)、4C19组成了π型中频滤波器(其中4C\(_{18}\)不接电源正极而接电源负极是为了抑制单信号哨叫)。4R19是检波负载。检波以后的音频成分和直流成分都加在4R\(_{19}\)上,其中音频成分经过4K10b和4K\(_{11b}\)送到前置低放级射极输出器去,直流成分则经过4R20和4C\(_{2}\)0组成的低通网络加到第二中放管的基极,进行自动增益控制(AGC)。这一路自动增益控制电路我们叫它第二AGC电路。
现在,我们再回过头来看第一中放输出的另一路。这一路是经隔直流电容4C\(_{4}\)送到AGC放大管4BG2的基极。AGC放大器实际上也是个中频放大器。由于第一中放的输出电平太低,还不足以进行自动增益控制,因此必须加一级中频放大器,其工作电流由上偏流电阻4R\(_{5}\)调整在1.5毫安左右,增益约26分贝,这级中放的输出经中频变压器4B2 送到倍压检波器进行倍压检波。4C\(_{9}\)、4R8和4C\(_{1}\)0组成π形滤波器(4C9不接电源正极原因同上)。4R\(_{9}\)是检波负载。由于检波负载阻抗比较高,所以这里采用倍压检波,以便提高检波效率。检波后的直流成分经4R7和4C\(_{1}\)组成的低通网络馈电到第一中放管的基极,进行自动增益控制。这一级自动增益控制电路,我们叫它第一AGC电路。
在高档机里,为了达到较高的指标(例如本机的实际水平是当输入变化40分贝时,输出变化不超过6分贝),受AGC控制的放大器往往在两级以上。这些放大器可以用同一个直流电压来控制,例如高放、第一中放和第二中放都用末级检波器输出的直流分量来控制。这种方法叫做AGC平行控制。也可以采用上面所介绍的方法,即一中放输出的信号经放大后控制一中放本身和高放的增益;而三中放的输出信号控制二中放的增益,这种控制方法叫做AGC分段控制。理论和实践都证明,这两种AGC控制方法的效果是很不一样的。凡是用多级平行控制,由于在强信号调谐点两旁,受控各级的增益(或工作电流)都按同一规律改变,因此高、中频部分的总增益将产生激剧的变化(图6),从而产生了一系列弊病。


而如果采用AGC分段控制,则由于两路AGC的控制电压来自整机的不同级,经过谐振回路的数目不同,因此在调谐时AGC电压的变化率不同,各级增益的变化率也不同。这样高、中频部分的总增益的变化也不像平行控制电路那样迅速(图7),因此消除了双峰现象,也降低了偏调噪声。从图7还可以看出,当采用分段AGC控制的收音机对一个强电台调谐时,高放和一中放的增益在远离调谐点时就开始渐渐降低,而二中放的增益一直要到接近调谐点时才迅速降低。前级增益的先期降低,是保证后级在大信号时不会产生过载失真的重要条件,因此分段AGC控制能减少偏调失真。(未完待续) (北京无线电厂2241设计小组)(执笔 严毅 俞锡良 郁志发 何起蛰)