电视机采用自动关机装置后,就不需要专人管理,只要在打开电视机后,将开关K\(_{1}\)放在自动关机位置,就能够在电视发射台停播节目后自动关掉电源,这对工矿企业等集体单位使用电视机带来很大的方便。现介绍一种电视机的自动关机电路,如图1所示。此电路具有电路简单、省电(总电流约10mA)、容易制作、使用方便等优点。

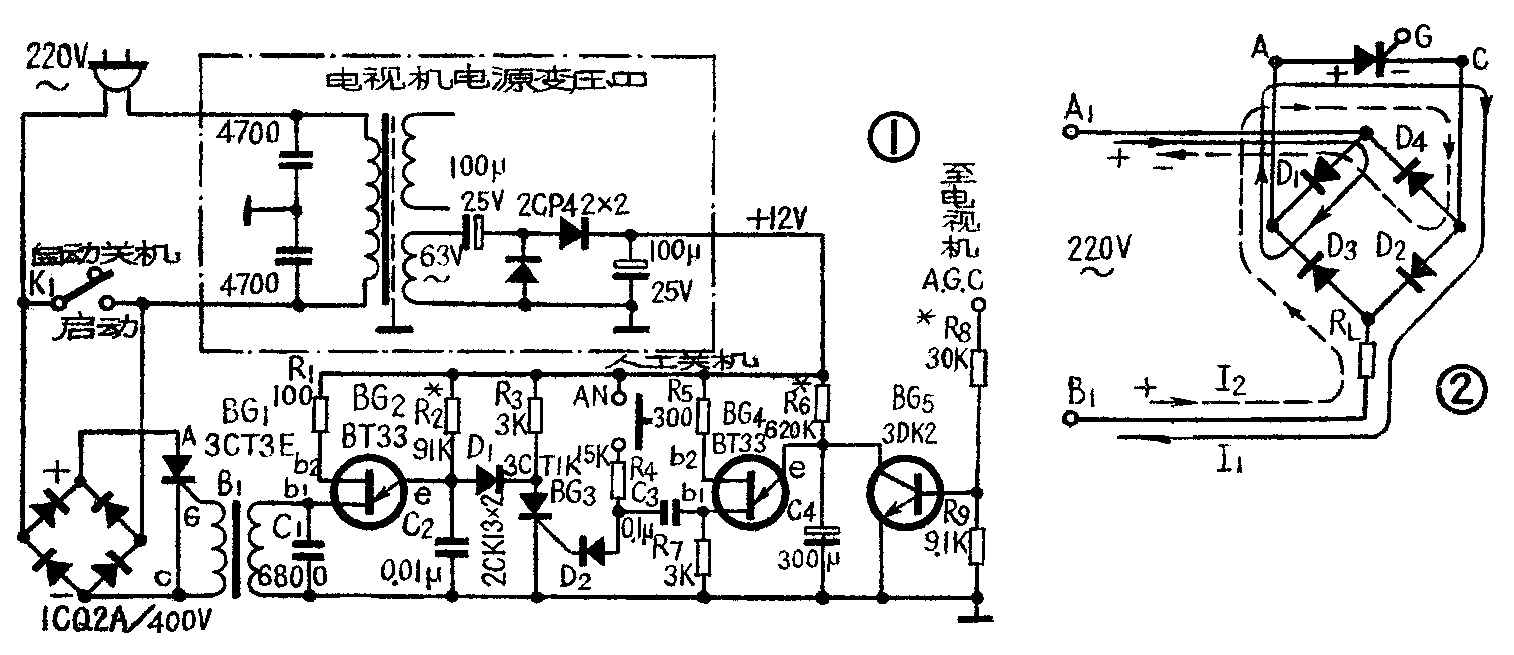
本电路由交流电子开关、脉冲振荡器、延迟振荡器及控制管四部分组成。当接通电源开关K\(_{1}\)时,脉冲振荡器BG2开始振荡,产生约20KHz的触发脉冲,经变压器B\(_{1}\)耦合,去触发可控硅BG1,从而打通交流电子开关,接通电视机的电源。然后,将K\(_{1}\)放在自动关机位置,这样电子开关就代替了电源开关,使电视机和自动关机电路都处在正常工作状态。当电视节目停播后,自动增益控制(A、G、C)电压显著减小,使控制管BG5截止。此时,+12伏电压通过R\(_{6}\)对C4充电,延迟振荡器BG\(_{4}\)开始工作。约五分钟后,BG4第一基极b\(_{1}\)上产生的触发脉冲通过C3、D\(_{2}\)加到可控硅BG3 的G极上,使BG\(_{3}\)导通。电流流过R2、D\(_{1}\)、BG3到地,短路了C\(_{2}\),使脉冲振荡器BG2停振。此时,由于可控硅BG\(_{1}\)失去了触发脉冲而截止,这样交流电子开关被关断,从而切断了电视机的总电源,实现了自动关机。如果需要人工关机时,将按钮开关AN按一下即可。各部分的工作原理如下:
1.交流电子开关:
交流电子开关由桥式整流器(1CQ2A/400V)和可控硅(3CT3E)组成。整流出来的直流电压加到可控硅3CT3E的阳极A和阴极C上,当可控硅控制极G加上正极性触发脉冲时,可控硅就导通,使电子开关被打通。其导通方向如图2箭头所示。当A\(_{1}\)端为正时,电流经过二极管D1、可控硅BG\(_{1}\)、D2、负载R\(_{L}\)1端。当B\(_{1}\)端为正时,电流经过负载RL、D\(_{3}\)、可控硅BG1、D\(_{4}\)回到A1端。所以,负载R\(_{L}\)上流过的是交流电流,得到的是交流电压。要使交流电子开关能正常工作,要求加在可控硅控制极G上的触发脉冲幅度要足够大,否则触发不动可控硅。同时,要求脉冲的重复频率也要足够高,这样电子开关的效率就高。
2.脉冲振荡器BG\(_{2}\):
此振荡器是由单结晶体管BG\(_{2}\)组成的弛张振荡器。利用电容器C2的充放电使单结管导通或截止。当接通电视机电源后,+12伏电压通过R\(_{2}\)对C2充电,C\(_{2}\)上的充电电压达到单结管BG2的峰点电压时,单结管就导通,发射极电流迅速增加,这时C\(_{2}\)又通过eb1结放电。由于放电电流很大,C\(_{2}\)两端的电压迅速下降,使单结管很快截止。然后+12伏电压又重新对C2充电,重复进行以上过程。单结管导通时,在第一基极b\(_{1}\)上产生的正向脉冲电压,用来触发可控硅BG1,把电子开关打开。此振荡器的脉冲重复频率取决于C\(_{2}\)和R2的数值,改变C\(_{2}\)或R2的值都能改变脉冲重复频率。当电容C\(_{2}\)固定后,可改变R2的阻值来改变脉冲重复频率。R\(_{2}\)的阻值越小,重复频率越高。经过试验,重复频率一般为20KHz左右,就能满足电子开关的要求。
3.延迟振荡器BG\(_{4}\):
此振荡器也是由单结晶体管组成的弛张振荡器,工作原理同上。所不同的是振荡器的脉冲周期较长,约为5分钟,即每5分钟产生一个触发脉冲。目的是为了识别电视台产生故障还是节目已经播送完了。一般情况下,电视台产生故障的时间不超过3分钟。为了正确地实现自动关机,此振荡器的脉冲周期必须大于电视台的故障时间才行。所以选脉冲周期为5分钟。脉冲周期的大小决定于R\(_{6}\)、C4的大小,所以通过改变C\(_{4}\)、R6的数值,可调整脉冲周期。
4.控制管BG\(_{5}\):
控制管BG\(_{5}\)是一个开关管,其工作状态(导通或截止)是由电视机的自动增益(A、G、C)电压来控制的。当有电视信号时,就有A、G、C控制电压加到BG5基极上,使控制管导通。这时C\(_{4}\)上的电压因BG5 的导通被短路,使延迟振荡器停振。当电视节目停播时,A、G、C控制电压就会降低,降低到BG\(_{5}\)的截止偏压时,控制管BG5就截止,C\(_{4}\)的电压逐步上升,延迟振荡器就开始振荡。这里控制管采用的是正的A、G、C电压,如果A、G、C电压为负,控制管就需要改用PNP型管,如3AK8、3CK2等。控制管的工作点,应该在不加电视信号时,调整在截止状态,如果不截止,可以改变R8。
自动关机电路工作电压为+12伏,可用电视机里的低压+12伏供给。如果是电子管电视机,可用交流6.3伏灯丝电压经倍压整流后供给(见图1)。有的电视机(如彩色电视机)的+12伏电压是由行输出脉冲整流获得的,此类电视机用这种自动关机装置,还有一个优点,当行输出部分产生故障时,由于脉冲振荡器无工作电压,就会自动切断电视机的电源,防止烧坏电视机。
脉冲耦合变压器B\(_{1}\),可用一般半导体收音机的输入、输出变压器铁心重新绕制。初、次级线圈均用φ0.1毫米的漆包线各绕200圈。为使电视机机壳不带电,变压器初、次级线包间绝缘要良好。

电路印制板图见图3。线路装配完毕后,一般不需要调整就能工作。如果不符合要求,可根据情况分别调整R\(_{2}\)、R6、R\(_{8}\)。(宗听华)