过去介绍的一些先整流、后放大的交流毫伏表,由于整流二极管的非线性,当测量几百毫伏以下的电压时,灵敏度就显著下降。为解决这个问题,进一步提高测量精确度,现在的交流毫伏表多采用深度负反馈电路。本文介绍一种采用电流负反馈电路的简易晶体管毫伏表。

基本原理见图1。由三极管BG组成放大器,R\(_{1}\)为偏置电阻,C2与四只二极管组成电流负反馈回路。晶体管BG取β>100的管子,使基极电流与集电极电流相比是很微小的。如果把 C\(_{2}\)、四只二极管、表头组成的反馈回路看作阻抗Z,就可把图1简化为图2。从图2可以看出,只有当输入电流I入与通过阻抗Z反馈的电流I\(_{反}\)几乎相等时,电路才能平衡,这时流过表头的电流与阻抗Z的大小几乎无关,也就是说,流过表头的电流几乎不受整流二极管的非线性影响。我们进行简单计算,能更清楚地说明这个问题。
I\(_{出}\)=β(I入-I\(_{反}\))…(1)
I\(_{反}\)≈R2R\(_{2}\)+Z·I出……(2)
把(1)式代入(2)式得出
I\(_{反}\)≈I入1+1;β(1+\(\frac{Z}{R}\)\(_{2}\))……(3)
从(3)式看出,当β足够大时,可以认为通过表头的电流I\(_{反}\)等于输入电流I入的绝对值,而表头指示的电流是输入电流的平均值,这个电流与阻抗Z几乎无关。这种交流表的输入内阻与用同一表头构成的直流电压表的内阻相等,例如用50微安的表头构成20000欧/伏的直流电压表,而用上述电路也可构成20000欧/伏的交流电压表,因此这种电路只能改善低电压段的灵敏度和线性,而不能提高内阻。

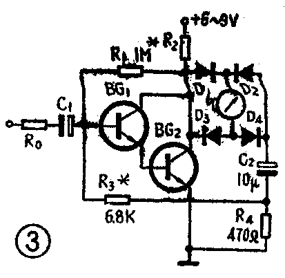
为了提高内阻,可用图3的改进线路,使经晶体管放大后通过表头的电流I\(_{表}\),只分出一部分与输入电流I入抵消。这样,通过表头的电流就比输入电流大若干倍。当β很大时,通过表头的电流I\(_{表}\)是:
I\(_{表}\)≈R4+R\(_{3}\)R4·I\(_{入}\)……(4)
如果R\(_{3}\)=9R4,内阻就增大10倍,用50微安的表头就能作出200000欧/伏的交流毫伏表。因为这个电路要求β很大,所以 BG采用复合管。

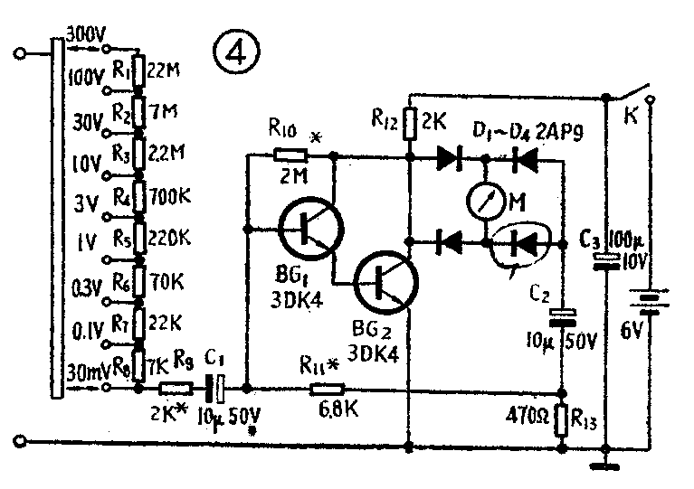
简易晶体管毫伏表的实际电路见图4,灵敏度为100KΩ/V。 BG\(_{1}\)、BG2用3DG或3DK,β值要大。要求C\(_{1}\)、C2的漏电越小越好,否则在没有交流输入时指针可能不回零。各档测量的精确度取决于倍率电阻R\(_{1}\)~R8的精度。当相邻的倍率电阻的阻值的比率为\(\sqrt{1}\)0≈3.16时,可以获得精确的读数。
安装时,换档用的波段开关以及焊在上面的电阻、电源开关、接线柱和表头(用100微安的表头)等装在一块金属板(铝板或铁板)上。放大电路元件装在一小块绝缘板上,并用表头的接线螺丝固定在表头后面。面板用木螺丝安装在一只一面开口的木盒上,电源可以用6伏或9伏的积层电池,也可以用4节1.5伏电池,把电池固定在木盒后部。为避免感应,最好在木盒内衬一层铁皮且接地。
刻度盘的画法:相邻两档的电压满度值之比不是3或10/3,而是\(\sqrt{1}\)0≈3.16,这样各档的分贝刻度就可以用同一标尺,相邻档的分贝数差10。整机外形见图5,刻度盘见图6。


调整步骤:
1.调工作点。调整半可调电阻R\(_{1}\)0,使R12上的电压降为2~3伏。
2.调灵敏度。准备一只交流档准确的万用表,用毫伏表300伏档和万用表( 250伏或300伏档)同时去测量电网电压,调整R\(_{11}\)使两者读数相同(调整时要用绝缘良好的改锥并使毫伏表地线端接零)。
3.校准最低档刻度。可用一只510千欧的电阻和51欧的电阻串联起来接到220电源上组成分压器(51欧那端要接零线),这时51欧电阻上的电压为电网电压的1/10000,约22毫伏。把毫伏表置于30毫伏档并跨接在51欧电阻两端,同时用一只万用表测量220伏电源电压,用绝缘改锥调R\(_{9}\),使万用表与毫伏表上的读数比为10000:1,那万用表指示220伏,毫伏表上指示为22毫伏。
使用时,在刚接通电源或关断电源时,表针都会跳动一次,这是正常现象。减小C\(_{2}\)可以减小跳动的幅度,但低频响应要受影响。
这种毫伏表的高频截止频率主要取决于晶体管的截止频率,当然也要注意安装时接线要短,以减小分布电容。如采用f\(_{T}\)>200兆赫的晶体管可以测到2兆赫左右,频率再高,读数就要下降。(大钧)