在中、小型电子管扩音机中,大多数使用5Z3P和EG1—0.3/8.5(即866)作高压整流管。目前用硅材料做成的高反压、大电流的二极管已大量生产,且这种管子的正向压降小、工作电流大、整流效率高,因此在某些扩音机的生产和修理过程中,已逐步用硅二极管代替电子管整流。
在用硅二极管代替真空整流管或汞气整流管时,应先分清原来的机器是哪一种整流电路和高压输入方式,并根据附表算出反峰压,然后再算出扩音机所需电流。根据反峰压和所需电流,就能查出应该用哪一种硅二极管代换了。下面就以常见的三种扩音机为例,谈谈用2CP系列硅面结型二极管代替5Z3P和EG1-0.3/8.5的方法。
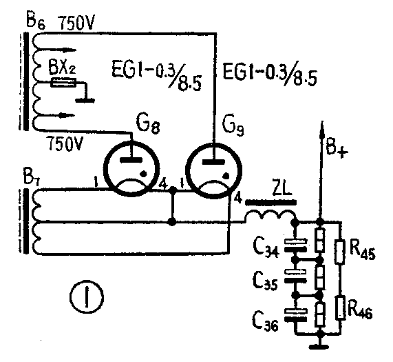
1.飞跃R-150-1型150瓦扩音机。
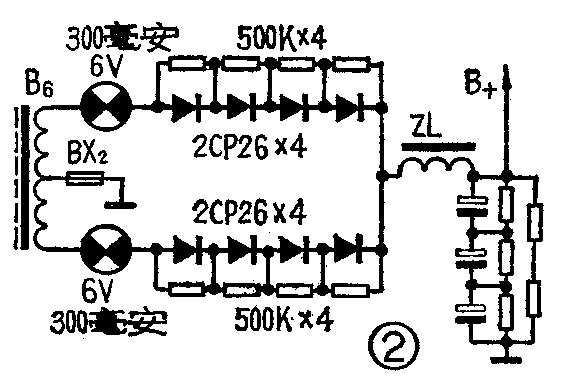
这种扩音机的高压整流电路如图1,它采用两只EG1一0.3/8.5汞气整流管作全波整流。 G\(_{8}\)、G9的交流屏压均为750伏,查附表可知管子的反峰压为2.83×E\(_{有}\)=2.83×750伏≈2120伏;这种机器功放级采用四只FU—7,共需电流480毫安左右。在全波整流电路中,每半边整流管通过的电流为负载电流的一半,从2CP系列二极管的参数中可查知,2CP26额定电流为300毫安,可承受的反峰压为600伏,所以将四只2CP26串联使用,就能代替一只EG1—0.3/8.5管,见图2。


2.飞跃R—50型50瓦电子管扩音机。
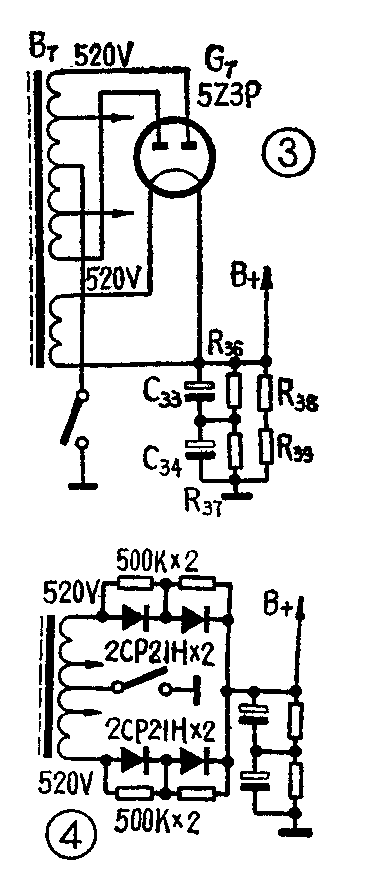
这种扩音机的高压整流电路见图3。加到G\(_{7}\)两屏极上的交流高压为520伏,反峰压为2.83×520伏≈1500伏,功放管采用两只FU-7,所需电流为240毫安左右。从2CP系列参数中可查知,用四只2CP21H代替一只5Z3P是合适的,电路图见图4。

3.美多E40型40瓦电子管扩音机。
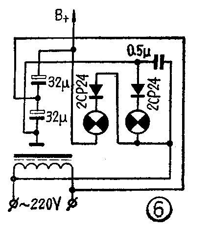
这种机器的整流电路见图5。它采用两只5Z3P作全波倍压整流,经电容输入式的滤波电路后供给功放级高压。此电路不用电源变压器,加到整流管屏极的交流电压为220伏,管子的反峰压为1.414×220伏≈5310伏,功放级采用四只6P3P,需要的电流为240毫安左右。从2CP系列二极管参数中查知,用一只2CP24可代替一只5Z3P,见图6。


在代替时还必须注意以下几点:
①硅二极管的反峰压必须满足原扩音机线路所要求的反峰压数值。若一只不能满足要求,可用同型号的二极管串联起来使用。串联时因二极管的反向电阻不一定完全相同,会造成电压分配不均,因而需要加均压电阻,一般每100伏峰压应并上50千欧~100千欧的电阻。电阻越小,均压性能越好,但在电阻上的损耗越大。反之电阻值越大,均压效果越差,但损耗就越小。
②二极管的电流必须满足原机的要求,若一只不够,可用同型号的二极管并联使用。为了使并联的每只二极管上通过的电流相等,一定要串联均流电阻,一般2CP系列的硅二极管串一个5欧电阻即可。

③在串并联时引线不要小于10毫米,焊接时间要短。在扩音机中安装时要远离变压器等发热元件,不可和电子管同时使用在一个整流电路中。
⑤改后原机输出电压必然高于电子管整流时的输出电压,可根据扩音机的要求作适当的调整。
目前其它系列的晶体管整流二极管(如2CZ系列)已大量生产,可根据具体情况选用。(杨逢汉)

