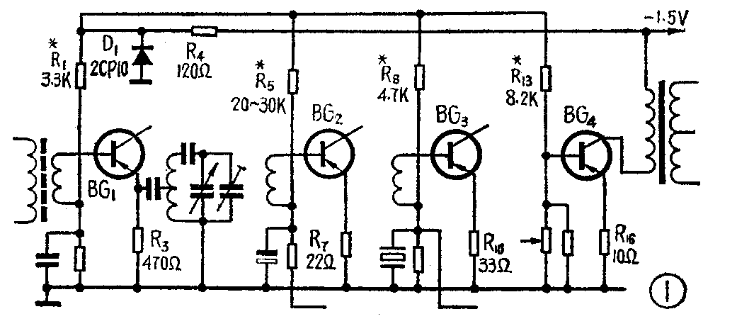
昆仑7015型晶体管收音机,采用1.5伏低电压电源供电,耗电省,效率高,受到广大工农兵群众的欢迎。我们在检修这种收音机的过程中发现比较常见的一种故障现象是:使用一段时间后出现音轻、灵敏度降低。故障原因是基极偏流稳压二极管D\(_{1}\)(见图1)的参数变值,引起基极稳定电压下降,从而使功放级以前各级管子集电极电流普遍减小,造成上述故障。

确定故障的方法是:用万用表直流100毫安档测量整机电流,可发现整机电流低于正常值20毫安,可初步肯定为这种故障。然后进一步检查混频级、两级中放级及低放级的集电极电流。测混频级电流时,可用直流电压档测量BG\(_{1}\)管的发射极对地电压,将它除以发射极电阻值,算出近似的集电极电流数值。二级中放和低放级因其发射极电阻较小,用普通电压档量不准确,可用万用表10毫安档直接串入集电极电路中测量。进行上述测量后,可发现各管集电极电流均较正常值为低(正常值是BG1 0.4~0.5毫安; BG\(_{2}\) 0.4毫安;BG3 0.7~1.2毫安;BG\(_{4}\) 1~2毫安)。最后确定是稳压管D1变质引起的故障。
排除这种故障可取下列三种方法中的一种:
1.测量并记下原变质二极管D\(_{1}\)两端电压(约在0.5~0.7伏之间)。准备若干只2CP型二极管,逐一代替原稳压管D1,焊上后若量得其两端电压比原管高出0.1~0.3伏,则说明此管可用。此时机器的音量和灵敏度便立即恢复。如没有2CP型二极管,可利用损坏的硅三极中好的一个PN结代替。连接时应将基极接原来二极管的正极所接之处,另一极(发射极或集电极,视利用那个PN结而定)接原来二极管负极所接之处,见图2。

2.若没有备用的二极管可供挑选时,可仍用原来的稳压管,但这时要分别调整BG\(_{1}\)、BG2、BG\(_{3}\)、BG4各管的基极偏流电阻,即图1中的R\(_{1}\)、R5、R\(_{8}\)、R13,使之达到正常的集电极电流。这种方法比较麻烦。
3.用一只2AP型二极管,或利用损坏一个 PN结的废锗三极管的未坏的PN结,与原稳压二极管串连起来接入电路,如图3所示。接入后,收音便可恢复正常,一般不需要调整。(林在荣)