稳流器是指输入电压或负载在一定范围内变动时,输出电流不变化的一种电路,它又可称作恒流源。在工业自动化仪表和其它一些电磁电路中,都经常采用恒流源。这里,我们介绍几种用运算放大器作的晶体管稳流器的典型线路。
图1是晶体管稳流器的方框图。取样电阻R一般接在调整管的发射极,I\(_{R}\)为取样电阻中流过的电流,Ib为调整管基极注入电流,I\(_{L}\)为调整管输出电流。稳流器正常工作时取样电压UR与基准电压U\(_{DZ}\)近似相等UR≈U\(_{DZ}\), 因此IL≈I\(_{R}\)=UR/R·I\(_{L}\)=UDZ/R。这是稳流电路的基本关系式。由公式看出:输出电流与基准电压成正比,与取样电阻成反比,与输入电压和负载电阻无关。当输入电压或负载变化时,比较放大单元即将这种微小的变化进行放大并控制调整管的基极电位,使调整管的集电极(或发射极)电位作相应的变化,从而使输出电流维持不变。

图1中的比较放大单元可以采用固体组件运算放大器。运算放大器基本上是一种用反馈控制频率响应特性的增益很高的直流耦合放大器。固体组件运算放大器的优点是:性能好、可靠性高、体积小、重量轻、成本低。
一、采用运算放大器稳流器的原理电路
图2和图3是用运算放大器作成的稳流器的原理电路。图2为正电源供电,图3为负电源供电。现以图2为例说明电路的工作原理。
图2中,A为固体组件运算放大器,作直流放大用。R\(_{1}\)、UDZ组成基准电压电路。R为取样电阻。BG\(_{1}\)、BG2组成复合调整管。R\(_{fz}\)为负载电阻。设A为理想放大器,在正常工作时,Ib为有限值,A的放大倍数很大,输入端的电流近似等于零。在输入端没有电流流过A时 U\(_{a}\)=Ub,即U\(_{ac}\)=Ubc=U\(_{DZ}\)。输出电流IL=I+I\(_{b}\)。 Ib=I\(_{L}\)/β1β\(_{2}\)(β1、β\(_{2}\)为BG1、BG\(_{2}\)的放大倍数),I=Uac/R=U\(_{DZ}\)/R,所以IL=I+I\(_{b}\)=UDZR+I\(_{L}\);β1β\(_{2}\)经整理得:
I\(_{L}\)=UDZR·β\(_{1}\)β2;β\(_{1}\)β2-1≈\(\frac{U}{_{DZ}}\)R即输出电流与输入电压及负载电阻无关。

这里,固体组件A采用了正负电源供电,因输出电流与负电源无关,所以也可以采用单电源供电,这给实际使用带来很大方便。在图2所示电路中,只需将固体组件A的“负电源端子”(—V\(_{ee}\))接地,便可实现单电源供电。而在图3所示电路中,只需将固体组件A的“正电源端子”(+Vcc)接地即可。使用单电源供电时要注意电路的具体要求,如果-V\(_{ee}\)接地后Ua上升一个+V\(_{ee}\)值影响了电路的正常工作电位,则不宜采用。

提高稳流器精度的措施:(1)U\(_{DZ}\)采用稳定性高、温度系数小的稳压二极管,如2DW7C。(2)A采用高增益运算放大器,如BG305、BG303、8FC3、8FC751、5G24、5G23等温度漂移小、失调电压小的组件。(3)调整管BG1、BG\(_{2}\)选用放大倍数较高的晶体管,一般β1=β\(_{2}\)=100。(4)取样电阻应采用精密度,稳定性高的电阻,如RX11型。
二、高精度稳流器

图4所示为用固体组件作成的小功率稳流器。其输出电流为60毫安。这个稳流器的精度很高,当输入电压变化±10%时,输出电流变化优于0.1%;当负载电阻变化±15%时,输出电流变化优于0.01%。
三、扩展输出电流和输出功率
由于负载与调整管相串联,可通过提高稳流器的供电电压和采用大功率三极管作调整管来扩展输出电流和输出功率。这时必须注意:(1)调整管的工作电流、电压和损耗功率都应低于允许值。(2)当负载短路时,调整管的发射极—集电极间所承受的电压U\(_{ec}\)=│U入│-│U\(_{DZ}\)│,损耗功率增大,有可能超过允许值,应采取一定的保护措施。(3)固体组件A的工作电压应低于允许值,一般+Vcc+│-V\(_{ee}\)│≤30伏。如果采用单电源供电,则要求+Vcc或│-V\(_{ee}\)│都不大于30伏。
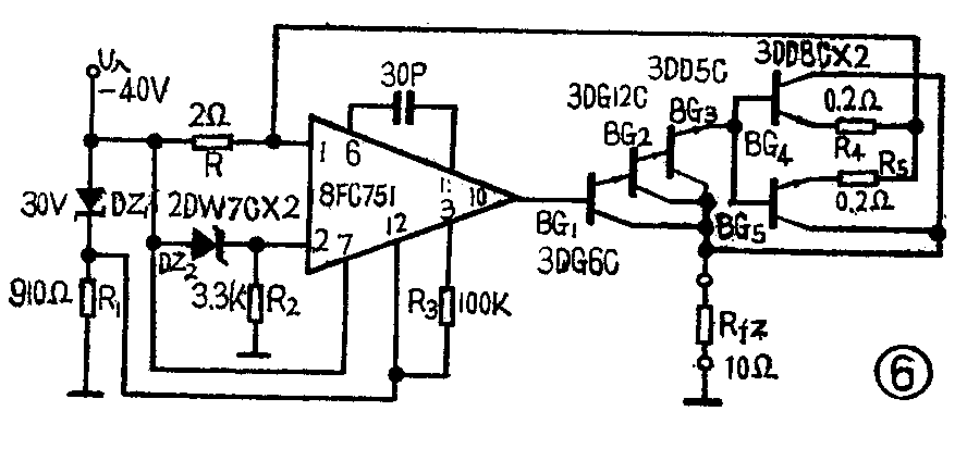
图5和图6是扩展稳流器输出电流和输出功率的典型线路图。
图5所示电路中,固体组件的“正电源端子”(“12”脚)接地。 R\(_{2}\)用以确定组件工作点, Cf为补偿电容。稳流器输出电流2安培、输出功率32瓦,稳流精度优于0.1%。


图6所示电路,输出电流3安培,输出功率90瓦,稳流精度优于0.1%。
如果负载电阻较大,并要求输出一定功率时,可将图6所示电路元件参数作如下变动:
U\(_{入}\)=-65伏,R1=3.6千欧,R\(_{2}\)=6.2千欧,R=60欧姆, Rfz=500欧姆。复合调整管只用 BG\(_{1}\)、BG2和BG\(_{3}\),将 BG3的发射极接至组件的“1”脚。此时,输出电流100毫安、输出功率5瓦,稳流精度优于0.1%。
四、8FC75型运算放大器的特点及使用注意事项:
8FC75型(又称作XFC75型)低功耗通用运算放大器具有功耗低、增益高、工作点稳定、不易起振、补偿简单并有短路保护等特点。 8FC75型包括8F7C750~8F7C753,它们的管脚排列及外形都相同,如图7所示。其中1—倒相输入;2—非倒相输入;3—外接偏置电阻(接在3与12脚之间);4、5—外接调零电位器约30千欧;6、11—外接补偿电容,小于30微微法;7—负电源;8、9—空脚;10—输出;12—正电源。

8FC75型运算放大器使用注意事项:
1.使用前严格检查组件型号及连接方法。
2.弯曲管脚不要靠近底盘,焊接点不应在管脚根部,最好距底盘10毫米,焊接温度不可过高。焊完后仔细检查管脚不得焊错。
3.正常使用工作电压为±15伏,但也可以在±6~±18伏内工作。
4. 外接偏置电阻可以在10\(^{4}\)~106欧姆范围内变动。在大功耗下工作时,开环增益、频率特性参数均有所提高。
5.由于电路增益较高、失调电流较小,要求印刷电路板绝缘电阻大、干燥,否则会引起参数下降。
本文介绍的各种稳流器电路,均采用8FC75型低功耗通用运算放大器。当然也可以采用其它类型的运算放大器,用时将运算放大器的补偿电路、消振电路和调零电路作相应的改变。(屈智新)