交流收音机大都具备两个以上的波段,有中、短波天线线圈和中、短波本机振荡线圈,用波段开关来变换波段,因此接线多,显得复杂,加上有的收音机使用年深日久,容易出现接触不良和断线、短路等故障, 给修理带来一定困难,本文将介绍线圈的一些有关知识和修理体会。
一、介绍几种线圈
过去我国的交流收音机种类较多,所用线圈种类也不少。从形式上分有空心的和调感的;从结构上分有S型和K型的等;从外形上分又有单层的和多层的,平绕的或蜂房式绕法的。这里将几种常见的线圈的性能介绍一下,以供维修时查考。
1.调感线圈LT101S(K)~LT104S(K)系列:这个系列线圈是上海立新无线电元件厂等厂出品。按波段划分,LT101S(K)型线圈适用于550~1600千赫中波段;LT102S(K)型线圈适用于2.3~7兆赫短波段;LT103S(K)型线圈适用于7~22兆赫短波段;LT104S(K)型线圈适用于6~18兆赫短波段。
本系列线圈都配用2×360微微法双连可变电容器,配用4.5~20微微法半可变微调电容器。
按波段不同,这两套线圈在2.3~7兆赫、7~22兆赫、6~18兆赫各短波段应分别配用0.003微法、0.01微法、0.006微法云母电容器作垫整电容。在550~1600千赫中波段,应配用0.00047微法云母电容器。
本系列各型线圈包括S式和K式两种不同结构的线圈。其中每个型号的S式线圈又包括一个天线线圈和一个振荡线圈,其电原理图见图1。S式线圈配用的变频管是6A2、6BE6、6A7P(6SA7)等管。

K式线圈每个型号也包括一个天线线圈和一个振荡线圈。天线线圈的电原理图同S式;振荡线圈见图2。K式线圈可配用6U1、ECH83、6K8等型变频管。

2.空心线圈610S(K)~640S(K)系列:是上海无线电二十八厂等厂出品。各项性能均与前面介绍的LT101S(K)系列的相同,只是中波段垫整电容需配用0.0005微法半可变电容器。
3.553/554型线圈: 这两种线圈都是两波段线圈,适用于550~1650千赫中波段和6~8兆赫短波段。配用的变频管、双连电容器及其他相关元件与上述两种系列的线圈基本相同。其中553型线圈与上述S式线圈相同;554型与上述K式线圈相同。每个型号线圈也包括一个天线线圈(用A表示)和一个振荡线圈(用B表示),S式线圈的电原理图请看图3。

二、线圈的识别和应用
线圈种类虽多,其实大同小异。中波段都是用多股线绕制,圈数较多。短波段线圈都是用单股漆包线或镀银线绕制,圈数较少。下面以610S为例谈谈识别方法。
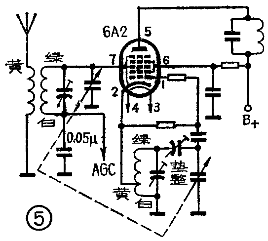
1.天线线圈:天线线圈出厂时各引出端子用不同颜色标志,以示区别(见图4),各端子在电路中连接法见图5。如果颜色标志模糊不清或无标志可辨认,可按以下措施来识别:①上层为次级,下层为初级(图6)。②用万用表R×1档测量两组线圈,欧姆数大(约20欧)的为初级,欧姆数小(约4.5欧)的为次级。③按用线粗细分出初、次级,初级线圈用线细(股数少),圈数多;次级线圈用线粗(股数多),圈数少。④区别出初、次级后,初级线圈靠近骨架的引出头应接天线,外边引出头接地;次级线圈靠近骨架的引出头(头)应接自动增益控制(AGC)电路,外边的引出头(尾)接变频管栅极,如6A2的第7脚。



2.振荡线圈:引出头颜色标志见图7所示。如无颜色标志,可按下列办法识别:①先找中心头,绕线时中心头一般都为双线引出,可根据此特点寻找。②找通地端,从中心头到通地端圈数很少,电阻也小,用万用表测量中心头到线圈两头的电阻,电阻小(约零点几欧)的那部分线圈的引出头就是通地端,另一端也就确定了。

三、线圈故障的修理
1.天线线圈及有关电路故障:
(1)初级断路、短路——故障现象是手握起子金属部分碰击变频管栅极管脚和双连定片均有喀喀声,碰触天线无声,但有时能收到近地强力电台广播。
在其他部分不存在故障的情况下,切断电源,用万用表R×1档测天线对地之间的电阻,正常时约为20欧,若电阻为∞,说明初级线圈开路。故障原因有:线圈断线;波段开关接触不良;天线引出线断;线圈接地不良、假焊等。若测出电阻为0,说明初级线圈短路。可进一步查明原因修复。

(2)次级电路故障——图8中,在正常情况下,a点(6A2栅极)与b点间直流电阻约为4.5欧,若电阻值大于4.5欧或为∞,说明有开路故障存在。原因有波段开关接触不良;次级线圈本身开路;焊点焊接不良。进一步检查,如触碰6A2栅极有声,碰双连定片无声,说明双连和6A2栅间的①部分开路。若6A2栅极和双连均有声,碰次级线圈无声,说明②③点间有开路之处。
a b两点间电阻为0, 说明存在短路,机器无声,此种情况很少发生,可查明原因修复。
a点与c点间的电阻在正常情况下应为∞。若电阻为0或阻值很小,说明有短路,机器无声。引起短路的原因有: ①双连碰片,此种情况常见,可焊下接线单独测量双连进一步确定;②焊点对地短路;③0.05微法滤波电容击穿。
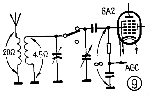
有些收音机天线线圈次级一端是直接通地的。自动增益控制通过一只电阻加到6A2管栅极。此时正常情况下各点的阻值应如图9所示。某点阻值相差过多就是出现故障的所在。

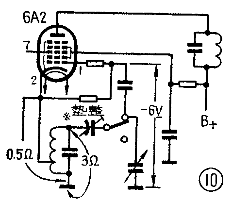
2.振荡线圈及有关电路故障: 振荡电路正常的情况下,振荡栅对地应有-5~-6伏的振荡电压(即负偏压),见图10。如果没有负偏压,说明不起振。振荡线圈引起停振的原因很多,例如相位接反(接错引出头);线圈开路和短路等。

正常情况下,6A2阴极对地应有0.5欧电阻。如果电阻为∞,说明有开路。原因有:波段开关接触不良;焊接不良;线圈断线。阴极开路后的现象是用万用表可测出阴极、振荡栅极对地均有100多伏以上的正电压(表中内阻串入的缘故),机器无声。阴极对地电阻为0,说明线圈有短路故障,振荡栅无负偏压。
垫整电容一端对地正常时为3欧(见图10),如测出为∞,说明线圈有开路。此时机器停振。此外引起停振的原因还有:双连碰片;4/20p微调电容短路;100p交连电容失效等。(安徽省萧县人民广播站 任兴宇)