南京无线电厂生产的红星牌和熊猫牌各型电子管收音机,从电路结构来看大同小异,是属于同一系列的。这类收音机有一些与一般收音机不同的特点,其故障也有不同。这里介绍一些较特别的故障检修方法供参考。
一、变频部分的故障检修
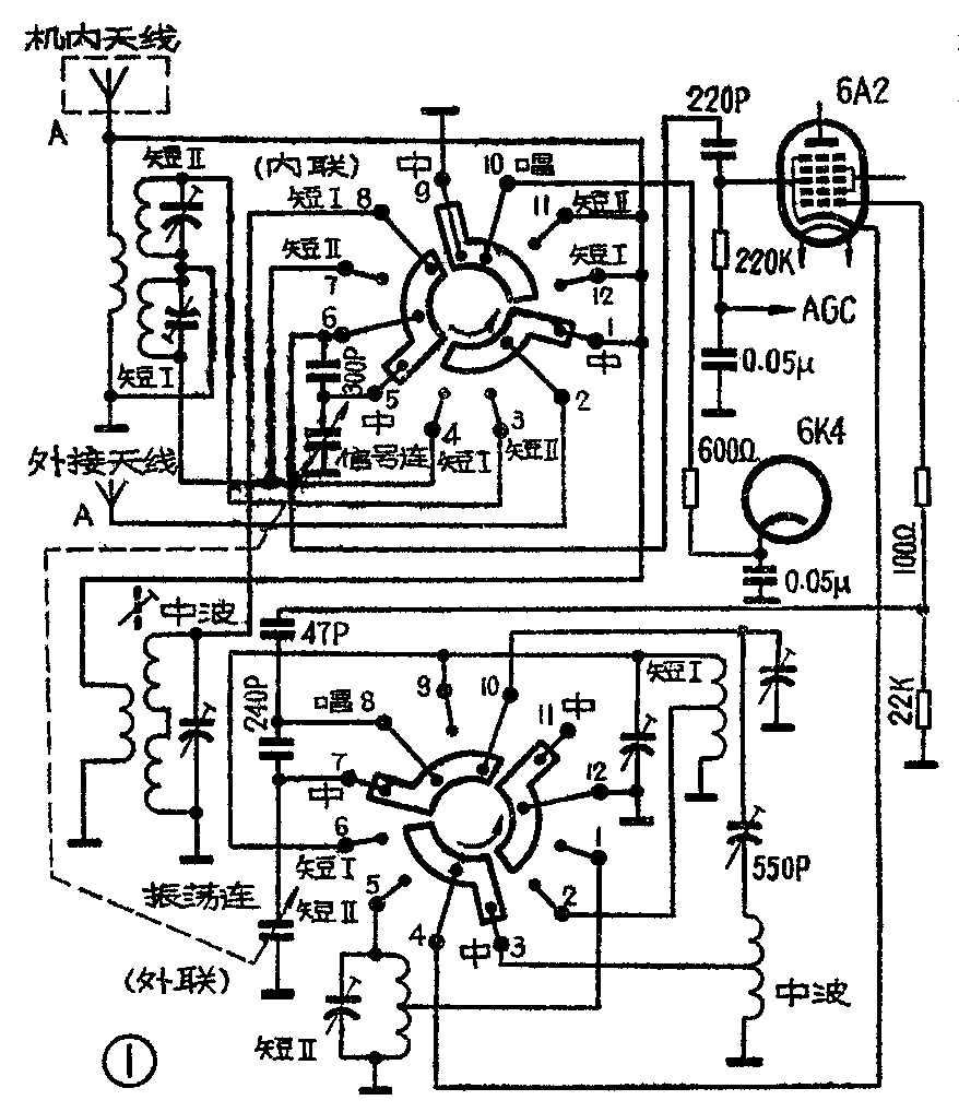
1.波段开关:熊猫机的波段开关比较特殊,其主要特点是当波段开关转换到某一波段位置收音时,还把其他波段不用的线圈和一些信号电路加以短路,以免干扰正在工作的那一波段的信号。因此,波段开关是比较复杂的,接点的转换情况不易记忆。现将熊猫601型机在中波段时波段开关转换到的位置以及接线图画在图1;将短波Ⅰ和短波Ⅱ时的波段开关转换到的位置分别画在图2和图3;并将波段开关转到各位置时所起的作用列在附表,以供维修参考。熊猫牌和红星牌其他各型机的波段开关也与此相差不多,也可参考。


熊猫系列电子管收音机是早期产品,但目前仍有相当数量在广泛使用。它最常见的故障是波段开关接触不良,时响时不响或根本收不到台,以及本机振荡停振等。故障原因是煤烟或腐蚀性气体、灰尘污染波段开关,使接点接触不良。讨厌的是开关内面一联及开关下面的接头要测量,量不到,要焊,烙铁伸不进去,要换一只新的也不方便,没有相同规格的好换,用别种开关则要改接电路。但是,对于这种故障,只要彻底把开关结构和作用弄清楚之后,还是有办法解决的。检修时可采取下述措施:
1.根据图1用R×1档重点测量应该接通的接点是否接通了。量不到的接点可以根据图1看它引到哪个外部零件,就去量那个外部零件的线头。接点的电阻如有零点几欧就有问题了。把开关转动一下,如果接点电阻时大时小,时通时不通也是不成的。如只有一两个接点不好,可以设法把开关的转动片刮干净。用3.0铁丝,一头敲扁,中间开一小槽做成一个小叉子,伸到开关的接点里把它压压紧。
2.用汽油把接点全部清洗一下。
3.遇到问题严重时,应急情况下可重点保证中波段。把中波部分应接通的接点焊死。具体做法应视具体情况而定(参看图1和附表)。如要简单处理,内面一联只要将双连信号连焊一根线到220P交连电容,外面一联只要从双连的振荡连焊一线到550P垫整电容。另从中波振荡线圈的抽头(参看图5)焊一根线到6A2变频管的阴极。这样只焊三根线六个线头实际上就解决问题了。这些线头都是容易找到而且焊接也方便的。其他型号收音机可参照这个办法解决。



2.天线和振荡线圈:熊猫牌系列收音机的线圈大多数是三个波段的线圈绕在一个筒子上。图4和图5画出了有代表性的红星504、505型收音机的天线线圈和振荡线圈的接头位置。天线线圈是底板正放时的位置;振荡线圈是底板朝天、顶头对本人的位置。为明显起见,图中只画出了线圈引出头的相对位置,未画出线圈。这两只线圈最常见的故障是L\(_{1}\)很易断线,其他部分很少出故障。修理时可以把L1重绕。圈数不多,相差一、两圈也不要紧。如只保证中波段收音,也可以把L\(_{1}\)的两个头焊在一起。
线圈上的引出头总是易找易焊的。凡是与线圈连接在一起的零件,如线头不易找到,原则上都可以从线圈头上下手,修理就方便一些。
3.中频陷波器和统调问题:红星504、505和熊猫506、508等型收音机都有中频陷波器(见图4虚线框内所画)。它是一个简单的串联谐振电路。谐振于465千赫,用来防止工作频率在中频的电台的干扰。有些收音机没有中频陷波器。但是已经有了陷波器的收音机,如果损坏了不加修理或拆除就不成了。由于中频陷波器对465千赫谐振,对中频来说它是一个很小的纯电阻,接在天线线圈初级,把中频干扰短路。但对高于中频的中波波段来说,这一电路呈电感性,相当于一个比较大的线圈,它与天线线圈并联,将影响次级线圈的电感量,在设计收音机时已把这个线圈的电感影响考虑进去了。如果陷波器损坏不修或将它拆除,中波段就很难或无法统调好,因为天线线圈次级电感量不合适了。
陷波器的典型故障是C\(_{29}\)开路(失去容量)。检修时只要量一下线圈L9是通的,用信号发生器送入中频,调整线圈的铁粉心,无法使喇叭声音最小,就可以判定C\(_{29}\)开路,换一只即好。遇到线圈断线,可以找一找是否断在外边,也许可以修好。

当陷波器损坏而无法换新时怎么办呢?这时可用图6的办法,在中波无线线圈初、次级之间加一个用粗一点的铜线做成的短路环L\(_{短}\)。由耦合电路的理论可知,在次级线圈上接上一个电感,相当于在初级线圈上串接一个电容,从而抵消初级线圈的一部分电感。现在可以把原来天线线圈的次级线圈L3看作初级线圈,把短路环接近L\(_{3}\)时,相当于减少L3的电感。调整短路环接近L\(_{3}\)的位置,可以恰当地调整L3的电感,保证中波段低端(600千赫)能统调好。如果采用拆去L\(_{3}\)部分线圈的办法也是可以的,但太麻烦了。
众所周知,一部收音机必须做好三点统调才能保证应有的灵敏度与选择性。调整的办法也是大家熟悉的。在调整红星牌和熊猫牌收音机时,如发现中波波段的低端要低到500千赫附近才能使600千赫点统调。这时当可变电容全部转入时还会发生啸叫,就很可能是上述陷波器出了故障。但也有一些线圈(空心的)次级电感量实在过大了,无法做到波段范围按国家标准调好(标准是535千赫到1605千赫,实际上留点余地是525千赫到1650千赫),也同样可以采用加短路环的办法解决。对于553型等其他厂出品的天线线圈,遇到类似的问题用这个办法也是行之有效的。
二、中频部分的故障检修
熊猫牌系列收音机中频放大部分最典型的故障是中频变压器内部云母电容开路。故障现象是时响时不响,声音时大时小。当然遇到这种现象,不一定就是中放部分的故障。为了进一步判断是否正确,可以用信号发生器送进中频,调整中频回路线圈的铁粉心,哪一个回路调整时没有反应,毛病就出在哪一个回路上。但是有时是在时有时无的情况下调整。突然开路的那只云母电容又忽然自动好了。一会儿有,一会儿无,往往弄得无法判断毛病出在哪一只电容上。这时可以干脆一点,将四只电容全部换掉。免得换了一只电容,过些时其他电容又出问题了。熊猫机用在其他地方的云母电容器也易出这种故障。
另外还要注意:第二中周次级线圈一边,旁路电容C\(_{2l}\)和电阻R4都是放在中周外壳内的,见图7。如不注意,在中周壳外测中周次级线圈通不通,将可能作出错误判断,往往误认为不通,而实际是通的。C\(_{21}\)有时也发生开路故障,因而修来修去就是灵敏度低,找不到原因,毛病往往发生在C21上,由于它装在中周壳内,容易被人忽略。

三、整流和低放部分故障检修
红星504—3、505型和熊猫506、507等型收音机,其功放部分的负栅压分两部分供给(见图8),一部分利用6P1阴极电阻R\(_{11}\)产生自给负栅压;另一部分利用高压线圈中心抽头串进一只电阻R13供给固定负栅压。R\(_{11不加旁路电容,是一种串联电流负回授电路,可以减少失真。但如不用R}\)13,仅用R\(_{11}\)而且仍用270欧,则负回授多了一点,影响增益过大。因此把R11用100欧左右,并加R\(_{13}\)。这样C14的负端不能通地,而应通到线圈中心抽头。但有时修理人员未加注意,往往把C\(_{14}\)负端和中心抽头相连K点通地了。这样将短路R13,并使6P1管的板流和帘栅流增大,6P1三管很易衰老。也有人用外壳通负极的铝壳电容,将负端仍照老样子焊在中心抽头上,铝壳却直接固定在底板上,这样还是把R\(_{13}\)短路了。这种情况经常会遇到。我们修理时对这个问题务必加以注意,如换用外壳通负极的铝壳电容,外壳必须绝缘好。

由于这类机子使用多年,增益往往多少要降低一些,有时干脆把C\(_{14}\)负端通地,即将R13短路,把R\(_{11}\)改用270欧或300欧。R11上再并接一只小型电解电容,耐压10伏以上就可以。有一种耐压16伏33微法的很合用。这样取消了电流负回授失真略大一点,但增益也略高一点还是合算的。最主要的是可以防止一些不了解情况的人不注意把R\(_{13}\)短路,以致使6P1烧老。(方锡)