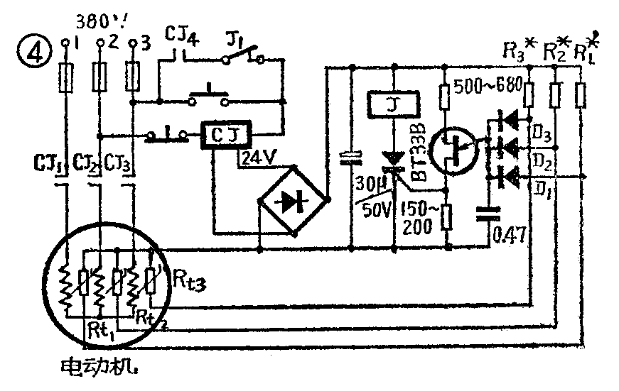
我们用武汉无线电元件厂生产的RZK—2开关型热敏电阻作电动机保护器,电路见图4,图中R\(_{tl}\)、Rt2、R\(_{t3}\)为开关型热敏电阻,它们与R1、R\(_{2}\)、R3分别组成三个分压器,并通过由D\(_{1}\)、D2、D\(_{3}\)组成的或门和单结晶体管的发射极相接。分压器的分压比与热敏电阻的环境温度有关,当某一热敏电阻温度上升即阻值增大到使分压点的电压达到单结晶体管的峰值电压时,单结晶体管导通,发出脉冲触发可控硅导通,继电器动作,切断磁力开关线圈的电源,从而切断电动机电源。

R\(_{1}\)、R2、R\(_{3}\)的阻值,应根据电动机绝缘等级的最高允许温升来选定。例如对于B级绝缘的电机,最高允许温度为130℃,选用居里点Tc为120℃的开关型热敏电阻,装好电路后,将热敏电阻R\(_{tl}\)、Rt2、R\(_{t3}\)一个一个地依次放在130℃恒温槽中,分别调整R1、R\(_{2}\)、R3,使继电器动作,调整完后要作一次电压降低50%试验,这时继电器应仍能动作。继电器可用JRX—10或JRX—3F等额定电压≤12伏的小型继电器。
单结晶体管要选用分压比较低的,可控硅要选用小功率的,如KP2K,KP5型等。变压器可用一般小变压器,对单向运转的电动机,可在磁力起动器的线圈上加绕一组24伏副绕组即可。二极管为反向耐压100伏、正向电流50毫安以上的整流二极管。
如果是单相电动机,只用一个热敏电阻就可以了。如果是三相Y接法的,因为断掉任意一相,总是造成两相过热,所以只装两个热敏电阻就可以了。如果是△按法,则需每相装一个。
由于绕组端部散热条件较差,故热敏电阻应埋放在绕组的端部。为了接线方便,最好埋设在相邻近的不同三相中。埋设的方法是:拆开电动机端盖,如果是E级绝缘,则可用削成匕首状的竹刀,将线圈刺开(最好将电机烘热后再刺),将热敏电阻插入,并使线圈将热敏电阻压紧,再涂上绝缘漆;如果是要重绕的电动机,可以在绕线时嵌在线圈中。
如果电动机断相,但负荷较轻,电动机可能不会过热,此时,这种保护器不动作。由于采用了二极管或门电路,几台电动机可以共用一个保护装置。(湖北电力线路器材厂 王国典 查光宗)