电动机损坏的原因,经常是超负荷、断相、或者电机的传动部分发生机械故障,造成电机绕组发热,温度升高到超过电机的最高允许温度,因而烧坏。电机损坏的原因,最终可归结为绕组发热,因此利用对温度变化高度灵敏的“开关型正温度系数热敏电阻”作为电机的过热保护,是一种比较简单的办法。
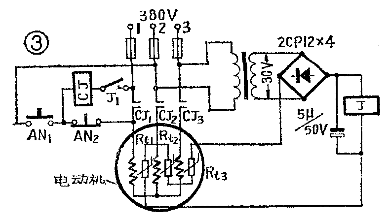
这种保护器采用我厂生产的RZK—2型热敏电阻作为温度敏感元件,这种热敏电阻的电阻—温度特性见图1。从图1可以看到,这种热敏电阻的阻值在某一温度以下时,温度—阻值变化很小,超过这一温度(称为居里点T\(_{c}\))时阻值急剧上升,具有开关的特性。我们可以根据电机的绝缘等级来选用具有不同居里点的热敏电阻。例如B级绝缘电机的最高允许温度为130℃,则保护器所用的热敏电阻的居里点应选在120℃左右。RZK—2型热敏电阻的外型尺寸见图2,它的体积很小,可以埋在电机绕组里发热最厉害的地方。利用热敏电阻的开关特性作为电机保护的电路工作原理图见图3。图中Rt1、R\(_{t2}\)、Rt3为RZK—2型热敏电阻,分别埋在电机三个绕组里,J为直流高灵敏继电器线包,吸合电流18mA,释放电流13mA。CJ为交流接触器线包。在正常情况下,合上闸刀接通380V电源,由于电机没有运转,绕组温度约等于环境温度,这时R\(_{t1}\)、Rt2、R\(_{t3}\)的阻值都为100Ω左右,所以J吸合,常开触点J1闭合,按上AN\(_{1}\)则CJ吸合,电机开始运转。



下面就电机在运转过程中比较常见的故障作例子,来说明保护器是怎样起保护电机作用的。
1、超负荷长期运转或由于电机机械传动故障把转轴卡住,引起三相绕组同时发热,埋在绕组里的热敏电阻R\(_{t1}\)、Rt2、R\(_{t3}\)的阻值随着绕组温度升高而增大,在低于120℃时,(Rt1+R\(_{t2}\)+Rt3)小于1.1KΩ,这时J仍然吸合;当绕组温度高于120℃时,热敏电阻的阻值将急剧增大,从图1可看到:123℃时(R\(_{tl}\)+Rt2+R\(_{t3}\))大于1.8KΩ,这时通过继电器线包的电流迅速减小(小于13mA),使J释放,触点J1断开,CJ释放。即绕组到达123℃时,保护器就把电源切断了。
2、绕组为星形连接的电机,如果在运行过程中断了一相(1),则其他两绕组(2、3)将发热,这时埋在1相中的热敏电阻R\(_{t1}\)阻值没有多大变化,而埋在其他两相中的Rt2、R\(_{t3}\)阻值却急剧增大,从图1看到,当温度升高到125℃时,Rt2+R\(_{t3}\)就大于1.8KΩ,保护器即切断电机电源。
3、绕组为三角形连接的电机,在运行过程中如断了一相,这时三个绕组中只有一个热敏电阻发热,另外两个绕组温升不大,从图1看到,只要温度达到129℃,一个热敏电阻的阻值就大于1.8 KΩ,保护器也就能可靠地切断电源。
综上所述,如果电机在运转过程中发生故障,大量的电能转变为热能而不是转化为机械能而做功,造成电机绕组温度迅速上升,适当选用开关型热敏电阻,可以在电机的温升未达到绝缘允许的最高温度时便可靠地切断电源,保护了电机不被烧坏。(武汉市无线电元件厂热敏电阻应用小组)