金属—氧化物—半导体(简称MOS)集成电路具有集成度高、功耗低、输入阻抗大等优点,特别适于制造小型台式电子计算机、电子钟表、电子秤、医疗电子仪器等中小型或微型计算装置和仪表。在这一篇里,我们来介绍这种电路。
MOS集成电路的基本元件是MOS晶体管。在MOS电路中,依靠电子导电的器件被称为N—沟道器件,而依靠空穴导电的则被称为P—沟道器件。所谓沟道,就是电流通道。无论是P—沟道还是N—沟道器件都还可以分为增强型和耗尽型两种。实际应用中,在零输入电压的作用下截止的称为增强型器件而在零输入电压下导通的则称为耗尽型器件。
在数字电路中,希望单用前级电路的输出电压就能驱动次级电路实现翻转,而不用再增设额外的电压偏置电路。这样就需要一个在零输入信号作用下能保持截止的MOS器件。因此,在数字集成电路中多采用增强型器件。我们在本文中只讲这种最常用的器件及其相应的电路。
MOS晶体管开关
MOS晶体管是构成MOS数字电路的基本器件。这种晶体管必需具备开关的性能。那么MOS管的开关性能是怎样获得的呢?为了回答这个问题,让我们先来看一下MOS晶体管的结构。如图1,整个管子制作在一个经过渗杂处理的高阻N型硅材料(基片)上。通过扩散,在硅基片上形成两个相互间隔开的低阻P型区P+,其中的一个用来注入电流,称为源(S)极,简称源;另一个用来泄漏电流,称为漏(D)极,简称漏。在基片表面上再覆盖上一层很薄的二氧化硅绝缘层,并在它的上面开出窗口,使金属铝引线直接触及源和漏。在基片上,介于源和漏之间的区域称为沟道。在沟道的上面,沿绝缘层再覆盖上薄薄的一层金属,称为栅极金属区,把它用金属引线接出来便是栅(G)极,简称栅。

当栅极电压为零时,即使在D和S之间加上电压(见图2a),无论电压的极性如何,由于总有一个被反向偏置的P—N结存在,所以源和漏之间的电流几乎为零,它们之间存在一个很大的电阻,没有导电沟道。

为了使P沟道MOS(简称P—MOS)开关处于合上状态,必须以足够高的负电压-V\(_{GS}\)加至栅极(图2b)。我们可以形象地将栅极视为电容器的一个极板,而将隔着氧化物在栅极下面的基片的一部分沟道视为另一个极板,两个极板之间的氧化物是电介质。当负栅压逐渐增加到足够大的数值对,在N基片中可以促成一个空穴的薄层,它从源一直伸展到漏,紧贴着氧化物,这个薄层已经不再是N型半导体,相反,它很象一个P型半导体,我们把它叫作P型反型层。
能形成反型层的最低栅源电压叫做开启电压或门限电压V\(_{T}\)。当|VGS|>|V\(_{T}\)|时,一个P型反型层将源和漏联接起来,它就是通常所说的沟道,这时在漏源电压-VDS的作用下就可以形成电流,相当于开关的合上状态。而当|V\(_{GS}\)|<|VT|时,因为没有沟道形成,所以无论有多么大的-V\(_{DS}\)作用都不能引起源至漏的电流,相当于开关的断开状态。可见,通过改变栅极电压-VGS可以控制MOS开关的启闭。
MOS管的基本性能可以用两组特性曲线来描绘。图3的曲线,以VGS为参变量绘出了I\(_{DS}\)与VDS之间的变化关系,称为输出特性。在曲线V\(_{GS}\)=-VT的下面,流过MOS管的I\(_{DS}\)几乎为零,相当于MOS开关处于断开状态。随着VGS变负,反型层逐步形成。此时加上V\(_{DS}\),就会有IDS流过MOS管,形成一个以V\(_{GS}\)为参变量、IDS随V\(_{DS}\)变化的曲线族。在图中标有|VDS|=|V\(_{GS}\)-VT|一根虚线的左方区域,I\(_{DS}\)与VDS基本上呈线性关系,一般称为可调电阻区;而虚线右方的区域,漏极电流I\(_{DS}\)几乎不随VDS变化,称为饱和区。

MOS管的另一个基本特性叫做转移特性(图4)。从该特性可以看出栅源电压V\(_{GS}\)怎样控制MOS开关工作:当|VGS|<|V\(_{T}\)|时,IDS=0,开关断开:而当|V\(_{GS}\)|>|VT|时,开关可以处于合上状态。该曲线的斜率gm=\(\frac{ΔI}{_{DS}}\)ΔVGS称为MOS管的跨导。一个MOS管的转移特性曲线越陡,gm越大,单位V\(_{GS}\)的变化所引起的电流变化ΔIDS越大,说明栅的控制作用越强。

以上讲的是PMOS管。NMOS管的原理也相仿,它的基片是P型材料、所以栅和源之间加正电压后形成N型反型层,这种管子在正常工作时要求漏和源之间加正电压。
在数字集成电路中所采用的增强型MOS管的表示符号如图5a所示:管子的栅极好象电容器的极板,用一根垂线表示;它右面的垂线表示沟道。因为当V\(_{GS}\)=0时,增强型MOS管是截止的,不存在导电沟道,因此这根垂线画成断开的形式。PMOS管用离开反型层的箭头表示:反之,NMOS管用指向反型层的箭头表示。平常也可采用如图5b或5c所示的简化符号。

P—MOS反相器
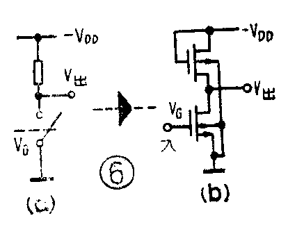
在目前生产的MOS数字集成电路中,PMOS电路虽然速度比较低,但因为工艺性较好,因此仍占有相当的地位。 PMOS中最基本的单元电路是实现“非”功能的反相器。PMOS反相器的理想模型示于图6a,其中开关在实际电路中是一个MOS管,而用另一个MOS管来作负载,如图6b所示。用来当负载电阻的是一个低β、高阻MOS管,而用来驱动下级电路的管子(称为门控管)是一个高β、低阻MOS管。控制信号V\(_{G}\)加在门控管的栅极。当VG足够负时,门控管导通,相当于开关的合上状态,反相器输出高电平;当栅极处于零电位时,门控管截止,相当于开关的断开状态,反相器输出低电平。

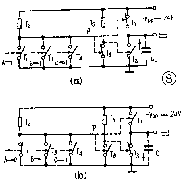
图7示出了一种实际的PMOS与非门电路。左半边是基本与非门,MOS管T\(_{1}\)、T3、T\(_{4}\)为反相器的门控管而T2为负载管。电路的右半边是推挽输出级,其中的两只MOS管T\(_{7}\)和T8总是一个导通、一个截止。MOS管T\(_{5}\)和T6是推挽级门控管T\(_{8}\)的反相驱动级。如果输入端为A=B=C=1(图8a),此时MOS开关T1、T\(_{3}\)、T4断开,P点为低电平;若A=0,B=C=1(图8b),则T\(_{1}\)合上,T3、T\(_{4}\)断开,P点为高电平。在这两种情况下通过推挽输出级T7、T\(_{8}\)分别输出逻辑“0”(低电平)和逻辑“1”(高电平),即这个电路具有与非门的逻辑功能。


互补MOS(CMOS)反相器和传输门
CMOS集成电路除具备PMOS电路的许多优点外,还具有功耗低、速度快、抗干扰能力强等优点,因此成为很有发展前途的一个品种。CMOS电路是在一个硅基片上综合两种极性的MOS管形成的。CMOS电路有两种基础电路:反相器和传输门。关于CMOS电路,将另文介绍,因此本文只讲一讲用模型电路的方法分析上述两种基础电路。
如图9a,CMOS反相器是由一个PMOS管和一个NMOS管串接而成。PMOS管的源极S,被接到正电源V\(_{DD}\),而NMOS管的源极S1则接地或接到某一低于V\(_{DD}\)的电位VSS。当反相器的输入端电位为0V时,PMOS管的V\(_{GS2}\)=-VDD使它导通,NMOS管的V\(_{GS1}\)=0因此它截止,这时输出为高电平(图9b)。反之,若有一数值上接近于VDD的输入电压+V加至输入端,则NMOS管受正偏而通导,PMOS管受反偏而截止,如图9c的模型电路所示,这时输出为低电平。在任意逻辑状态下,总有一个MOS开关是处于截止状态的,因此电路的静态功耗很低。

CMOS传输门及其模型电路示于图10(常用符号TG来表示传输门)。传输门实质上是由一个PMOS管和一个NMOS管并联起来构成的可控双刀单掷开关。如果在栅极外加一个控制电压使开关合上,则接通电阻很低;反之,当控制电压消失,开关断开时,它两端的电阻可以超过100MΩ。控制传输门的驱动电流小到可以忽略不计,因此传输门实质上是一种电压控制的开关元件。

倘若用一个MOS管作传输门(图11),则当其栅极加控制电压VG(一般取V\(_{G}\)≈VDD)时,最大只能容许数值为|V\(_{入}\)|≤|VG-V\(_{T}\)|的输入电压通过。如果V入超过这个数值,会使|V\(_{GS}\)|<|VT|从而使管子转入截止。但我们希望传输门能传送0~V\(_{DD}\)范围内的所有电压,为此,就利用PMOS管和NMOS管的开启电压极性相反的特点,将两种管子并联在一起使用。这样,当被传送的输入电压V入在0~V\(_{DD}\)的范围内变化时,只要在两个MOS管的栅极同时加上适当的控制电压(实际应用时,对两个栅极分别施以幅度接近于VDD、极性相反的方波时钟脉冲CP和CP),就总会有一只管子能保持导通(见图10的模型电路)。这样,我们就能在比较大的范围内实现信号的传送。此外还应指出,两只MOS管组成的传输门和单个MOS管的相比,开关速度较高。(颜超)
