等离子数字显示板是一种新型的平面数字显示器件,它可以做成一位数字显示板,也可以做成多位数字显示板。我厂生产的等离子数字显示板最小的字高只有8毫米,位数达16位,可用在台式电子计算机和仪器仪表中作数字显示用;而大型的等离子数字显示板的字高可达250毫米,可以用于各种需要大型显示的数字仪表,或制成将小型显示转换为大型显示的数字终端显示仪。数字终端显示仪可与各种数字仪表连接使用,与数字仪表的数码管同步显示各被测参数,字体高大,清晰明亮,观察阅读距离可达80余米,为大场所、远距离配合操作的工作人员提供了很大的方便,例如在钢铁生产中用来显示钢水的温度、数字,天车秤中用来显示钢水的重量等等。等离子数字显示的主要优点是视角广、抗震性能强、寿命长、亮度高、功耗小,缺点是工作电压较高。
结构分解

图1是一位等离子数字显示板的结构分解示意图,由两块玻璃板、两层透明介质层、封接框和排气管组成。在前玻璃面板上喷涂的透明电极,称为“位电极”,只用一根引线引出。后玻璃板上制有轮廓尺寸与位电极相同的分段电极,共八段,各有一根引线单独引出,称为“笔划电极”。在位电极和笔划电极上,全部覆盖一薄层透明介质,把电极和工作气体隔离开。将两块玻片字形对准后用封接框溶封,保持两玻片间距为0.2~0.3毫米,以形成空腔。然后,通过排气管抽去空腔中空气,充入以氖为主的混合气体,封闭排气管。
当在位电极和相应的笔划电极之间加上适当的驱动电压时,氖气电离发光,我们就可以看到由笔划电极所组成的0~9十个数字,字形见图2。发光颜色为橙红色。

工作原理

图3a为一位等离子数字显示板的剖面示意图。为便于解释,假设笔划电极都集中起来用一根引线引出。显示板的等效电路相当于三个电容串联,见图3b,其中C\(_{1}\)为电极介质层电容,C2为电极间电容,气体放电就是在C\(_{2}\)空间内进行的。如果在位电极a和笔划电极b之间加上直流电压V,a为正极,b为负极,当所加电压超过充气空间里的气体着火电压Vf值时,气体就开始放电产生辉光。但是这辉光不能持久,瞬息即灭。这是因为放电时气体电离,产生大量的电子和正离子,它们在电场的作用下,电子奔向正极,停留在a的绝缘膜上;正离子则落到了负极b的绝缘膜上,这样就产生了一个和外加电压反向的电压V\(_{B}\),称它为壁电压。壁电压迅速升高,它大大地削弱了外加电压,当V-VB值小于放电维持电压V\(_{S}\)时,放电即停止,所以等离子数字显示板是不能用直流电压来工作的。如果紧接着把外加电压极性反过来,b接正而a接负,这时外加电压与壁电压的极性就相同了,壁电压反而促进了放电,电极间的电压为V+VB,立即又放电一次而后停熄。如果把外加电压正负交变,每一周期放电两回,则有两次光输出,当频率高到一定值时,由于眼睛的视觉暂留关系,我们就能看到连续稳定发光的数字了。
因此只要提供一个比着火电压V\(_{f}\)高的交变驱动电压(着火电压170V,驱动电压180V~200V),等离子数字显示板就能点燃并稳定地发光。驱动电压的波形可以是方波、正弦波或三角波等,一般采用方波最为合适。
显示板的发光亮度与外加驱动电压值有关,电压提高,其亮度也随之增加,但也不能过高地提高外加电压,以免击穿绝缘层,烧毁透明电极。
外加驱动电压的频率对亮度有非常明显的影响,频率提高,亮度也随之增加,两者是直线关系,一位数字驱动频率一般选为10千赫左右,亮度已经足够。
大型终端显示仪
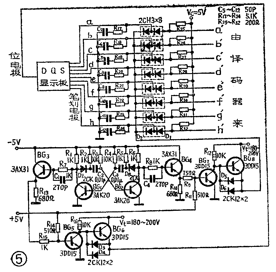
如前所述,等离子数字显示板可用于制造各种数字仪器仪表、数字钟以及用于需大型显示场合的数字终端显示仪等。下面以大型等离子数字终端显示仪为例,讲一讲它是怎样实现数字显示的。显示仪的原理见方框图4,由电源、高压驱动脉冲形成器、寄存器、译码器、笔划驱动二极管组件等组成。其中高压驱动脉冲形成器和笔划驱动二极管组件构成驱动部分,它的原理见图5。BG\(_{1}\)、BG2组成多谐振荡器,产生8千赫的方波信号,相位相差180度的两组方波信号分别从BG\(_{1}\)、BG2的集电极输出,经射极跟随器BG\(_{3}\)、BG4,送到BG\(_{5}\)、BG6和BG\(_{7}\)、BG8两组放大电路,将方波幅值放大到200伏。


可是这个脉冲方波是怎样加到笔划电极上去的呢?
这里我们用了一个存贮电荷时间小的二极管D\(_{1}\),和一个存贮电荷时间大的二极管D2,组合成二极管驱动组件,见图6。它的工作原理是:当A、B两端接一正向电源,则D\(_{1}\)、D2导通,当B端加上大的反向脉冲时,D\(_{2}\)仍呈导通状态,D1则迅速反向阻断,这样外来加上的反向脉冲就可通过D\(_{2}\)由C端加到笔划电极上。

我厂生产的2CH型二极管驱动组件,根据两个二极管存贮时间差的不同,分成2CH2,2CH3、2CH5三种,其存贮时间差分别近似为2μS、3μS、5μS。
显示板的每个笔划电极各与一个2CH组件相连,位电极直接与高压方波脉冲形成器的另一个输出端相连。为使驱动部分的三极管BG\(_{6}\)、BG8和二极管D\(_{3}\)、 D4、D\(_{5}\)、D6负荷均匀,显示仪个位、十位显示板的笔划电极和百位、千位板的位电极连接在一起;个位、十位板的位电极和百位、千位板的笔划电极连接在一起。符号板的相应电极中串联一电阻R,调节它的阻值使符号板亮度和其它显示板一样。
我们以显示数“3”为例来解释:显示板的八个笔划分别用字母a、b、c、d、e、f、g、h表示,其对应电极关系见图7。当数字仪表计数器部分发出“3”指令,终端显示仪的译码器输出信号使b'、d'、e'、g'、h'端开路,其余端接地,这时电源V\(_{c}\)通过R26、R\(_{28}\)、R29、R\(_{31}\)、R32及对应笔划电路中的2CH3、D\(_{5}\)、D6和BG\(_{7}\)到地,2CH3中的D1、D\(_{2}\)正向导通。当BG7基极输入一负脉冲时;BG\(_{7}\)截止,BG8导通,驱动脉冲就加到D\(_{2}\)的负极,由于D2的存贮电荷和存贮时间大,尽管加以反向电压仍能通导一段时间。而D\(_{1}\)却不一样,由于它的存贮电荷和存贮时间小,马上截止。这样高压脉冲通过D2就加到了显示板b、d、e、g、h笔划,使之工作,显示数“3”。

R\(_{17}\)~R24和C\(_{5}\)~C12用来消除由于感应产生的笔划误亮。二极管D\(_{3}\)、D4和D\(_{5}\)、D6采用2CK12,如改用大功率开关管,则D\(_{3}\)、D4和D\(_{5}\)、D6可各用一个管子代替。
因为终端显示仪输入信号一般是从数字仪表“打印输出”的多芯插座引入的,而有些仪表的“打印输出”没有经寄存器直接由计数器引出,为了避免运算过程中显示板闪烁跳动,造成观测困难,所以在终端显示仪中加了一级寄存器,如天水长城电工仪器厂生产的PZ—13型五位数字电压表就属此类。如原仪器有寄存器,数字信号可以直接引入,可省去寄存器这一部分。
另外,等离子数字显示板驱动线路要求正逻辑输入,如果仪器的输出为负逻辑,则需先进行电平转换,把负逻辑信号变为正逻辑信号才行。
译码器的功能是将二进制信号译成笔段信号用以控制各段发光显示数字,与一般常用的八段译码电路原理一样。
上面所讲的是每位数字用一套译码器,称静态驱动。对于显示位数较多的整机,可使用动态驱动,即多位数字扫描显示。
显示器需用±5伏和+200伏三组直流电源,由市电整流稳压后取得。(安阳电子管厂 周子正 顾智企)