如何按照比较简单的电路图来设计印刷线路板,这是初学者经常遇到的问题。下面谈谈自己在实践中的一些体会,供大家参考。
设计时应考虑的几个问题
一、印刷线路板的设计,应与整机的安装统一考虑。例如机壳的尺寸、各种控制开关、调整用的旋钮的布局,与线路板都有关系。
二、元件在印刷线路板上的排列应有一定的次序,应按信号传递顺序依次排列。电路图中每个单元的元件应安排在一起,不可与其他单元彼此穿插,一个单元内的接“地”各点要连接在一起,然后把各单元的“地线”也按信号传递顺序依次接向电源,不可先后颠倒。
三、某些功率大的元件,要装在容易散热的地方,并与别的元件离开些。
四、在设计收音机电路的印刷线路板时,还应考虑防止感性元件的相互耦合,防止分布电容对电路工作的影响,一般要经过试验才能够定型。
设计举例
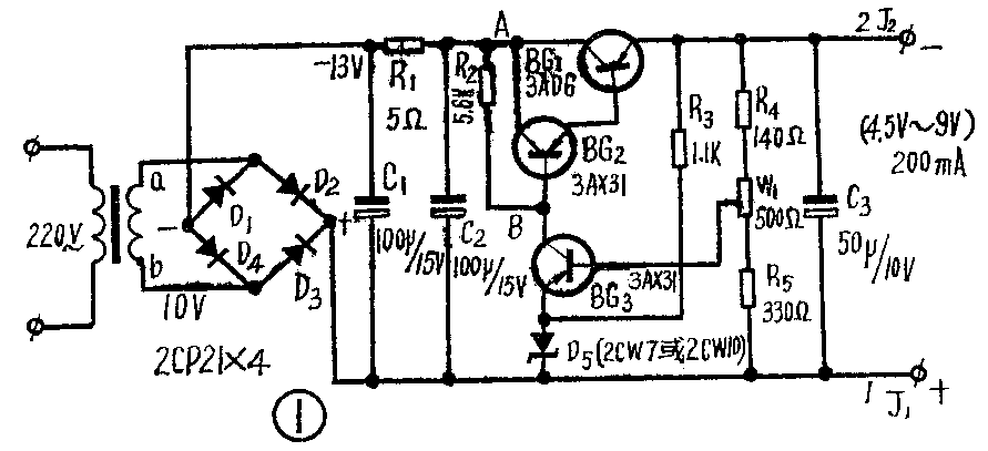
现举串联式稳压电源为例谈谈如何设计印刷线路板。
一、准备工作
1.确定不宜装在印刷线路板上的元件。
稳压电源中电源变压器的体积较大,不适合安装在印刷线路板上。电位器须经常调整,要安装在面板上。因此确定电源变压器和电位器不装在印刷线路板上。
2.确定元件固定方式。
对小型电阻、二极管等元件有直立、横卧二种固定方式,见图2(a)(b)。对于体积较大的电阻,如图1中的R\(_{1}\),宜采用横卧方式。小型电解电容器、低频小功率三极管一般均按图3(a)方式固定。有时为了使元件在焊接时避免过热而烧坏,可把各极引线留长些,并采用图3(b)方式固定。为了便于判断三极管的各个极,也可采用图3(c)方式固定。


大功率晶体管的外壳就是集电极。用螺钉将大功率管固定在印刷线路板上,在螺丝上要套上套管(见图4)。由于此种管子的管脚相对位置已固定,设计印刷线路板时应当画出各极插入孔较准确的尺寸。

二、设计步骤:
1.定出印刷线路板尺寸。
把各元件按照它们的固定方式放在一张纸上(见图5),每个元件之间间隔≥4毫米。把四个固定印刷线路板用的零件画在一边,把七个连接点排在一边。从图5中粗略估计印刷线路板的最小面积为100×43=4300(毫米)\(^{2}\)。为使整个稳压器结构整齐起见,按照变压器的长度来修改印刷线路板的尺寸。我所选用的变压器长度为90毫米,因此把印刷线路板尺寸改为88×50(毫米)2。

2.在印刷电路板上排列元件。
在(88×50)平方毫米的印刷线路板的四个角上留出10×10(毫米)\(^{2}\)作为固定零件所占用位置。把与电源变压器B连接的二个接点位置安排在左边,把与电位器连接的三个接点以及稳压电源两个输出端接点位置安排在右边。
按电路图中各个组成部分从右到左排列元件。先排整流部分的元件(D\(_{1}\)、D2、D\(_{3}\)、D4),这四个二极管平行排列,注意间隔均匀,接着排滤波部分元件C\(_{1}\)、C2和R\(_{1}\),再把调整部分、放大部分以及参考和取样的元件排上。考虑到连接线要尽量缩短,有电气联系的元件尽可能靠近,如电阻R2为BG\(_{3}\)的负载电阻同时又是复合调整管(BG2、BG\(_{1}\))的偏流电阻,从图1电路中可看出R2的一端(A处)与BG\(_{1}\)、BG2有三点连接,另一端(B处)与BG\(_{3}\)有一点连接,因此R2可安排在更近于BG\(_{1}\)、BG2的地方。
初步排好每个元件位置之后,用虚线绘出元件的轮廓,拿走元件,根据图1电路在所画元件虚线轮廓旁边画二个或三个连接点,这样在印刷线路板上共有小圆点36个,检查这些圆点如太集中,可适当调整一下连接点或元件的位置。
3.绘制印刷线路板。
根据图1电路图,把应连接的点用线条连起来,并把连线加宽(大于1毫米),平行的连线间距离均大于1.5毫米。全部连线绘制好后,应检查一下印刷线路板上连接线的分布情况,若有些地方较密或者连接线交叉,可作适当的调整。然后在印刷线路板上打孔。各孔的大小见图6所示。3AD6管的固定螺丝二个小孔直径为3.5毫米。最后画出元件排列图(图7)以及印刷线路图(图8)。



图10(a)(b)画出了整个稳压电源装配结构图,供读者制作时参考。图10中变压器铁心较大,这是由于利用了手头现有的5瓦变压器。读者在选用变压器时容量可适当选小些。(陈明志)

