在路灯电路中,一般都用闸刀开关来控制路灯的点亮或熄灭,一旦忘记拉闸,路灯在白天还会亮着,这样既给国家白白地浪费了电力,又缩短了灯泡的有效利用时间。在工业学大庆运动中,我们配电室的工作人员学习大庆人节约闹革命的精神,在公司党组织的支持下,用普通元件试制成功了光控路灯开关,作到白天路灯自动关闭、黑天自动点亮,经使用效果良好。
工作原理

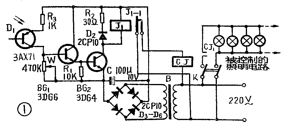
线路见图1。BG\(_{1}\)接成射极输出器,它的上偏置电路由光电二极管D1(用三极管的一个结)和R\(_{3}\)组成,在白天有光照射时,D1的内阻变小(约45千欧左右),BG\(_{1}\)有基极电流使其导通,由BG1发射极输出的电流直接加到BG\(_{2}\)的基极,于是BG2导通。适当地选择I\(_{b1}\)的大小,就可以控制BG2的工作状态使其导通后很快进入饱和。I\(_{c2}\)启动继电器J1,断开其常闭触点J\(_{1—1}\),J1—1一断开,交流接触器GJ通路也断开,于是它的触点CJ\(_{1}\)断开,照明路灯电路与市电断开,路灯熄灭。当天黑时,D1因无光照射内阻增大,BG\(_{1}\)的基极偏置电路相当于开路,BG1截止,BG\(_{2}\)也由饱和转入截止,继电器J1释放,常闭触点J\(_{1—1}\)接通交流接触器CJ的供电回路,接触器的触点CJ1又把路灯电路的市电接通,路灯就自动点亮。
元件选择
D\(_{1}\)可以用3AX71的c、e结代替。使用前,先用万用表测一下晶体管3AX71的c、e结的电阻应在120千欧以上(即暗阻),然后把它的外壳漆皮用小刀刮净,再测c、e结的电阻应下降约为几千欧(即亮阻),在其穿透电流Iceo不大的情况下就可作为光电管用了。
BG\(_{1}\)、BG2采用一般的硅晶体管(β大于40以上均可用)。电源变压器B用一般的电铃变压器,由4只2CP10二极管组成桥式整流,经滤波输出9伏直流电压。
继电器J\(_{1}\)用JRX—13型,由于该型继电器触点电流较小,需要把它的两副触点并联起来使用。交流接触器CJ1用CJO—10型,使用时应把它的四对触点并联起来用,这主要是根据它所带的负荷的大小来决定的。
调整使用

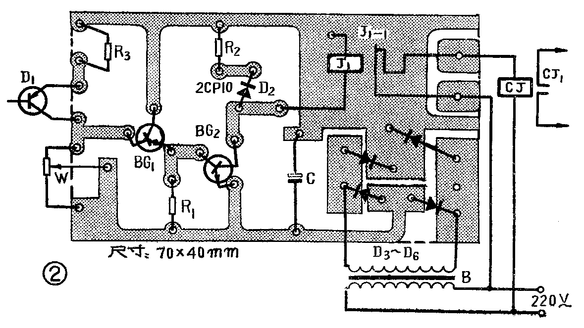
整个线路焊接在如图2所示的印刷板上。安装后检查无误再开始通电调试。先调电位器W,使电路在白天见光的情况下继电器J\(_{1}\)动作;然后用不透光的纸卷成圆筒把D1罩起来使它不见光,这时继电器应释放,就算调好。调试中因D\(_{1}\)对温度变化敏感,所以电位器不得调得太小,以免因温度升高时D1的I\(_{ceo}\)增大,会使J1吸死而失控。
使用光控路灯开关时,可把它固定在12米的电线杆上,让D\(_{1}\)在白天四面都能见到光,放置时,要避开烟囱等物,以免熏黑D1外壳或被烟雾遮住而失控。D\(_{1}\)的外面最好用玻璃管或玻璃瓶等罩起来。在严重的阴天、雨天、下雪天,此开关有时会失控,这时应配合闸刀开关把路灯关闭。(黑龙江绥化地区运输公司肇东公司配电室)