我们这里介绍的小型万次闪光灯线路简单,只用两节五号电池,经济实用,摄影时可作辅助光源。
电路原理
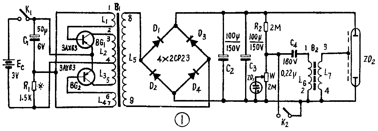
整机线路见图1,它是变压器耦合的双管推挽式自激振荡器。当电路接通3伏直流电源时,振荡器工作,输出矩形波脉冲电压,再经过二极管整流后给电容C\(_{2}\)、C3充电,电容两端的电压大约保持在150伏左右。此时氖管指示灯ZD\(_{1}\)亮。使用时合上开关K2,电容通过L\(_{6}\)放电,在L7上感应出约1万伏左右的高压脉冲,使闪光管的氙气电离,产生弧光放电,作为摄影时的辅助光源。电路中R\(_{2}\)、W组成分压电路,当电容两端电压充到150伏左右时,调W,氖管上约有60伏的电压,指示灯亮,说明电容充电已毕,闪光灯可以工作,振荡器部分工作原理已有很多介绍,此处不再多述。

元器件选择
脉冲变压器B\(_{1}\)的铁心可用一般的晶体管收音机输出变压器的铁心,如截面积为5×5(毫米)\(^{2}\)、5×5.5(毫米)2。绕制时先绕L2、L\(_{3}\),用0.55毫米的漆包线双线并绕25圈;然后加一般的绝缘纸后再用线径为0.27毫米的漆包线双线并绕34圈为L1、\(_{L}\)4;加三层涤沦纸作层间绝缘,再绕L5,L\(_{5}\)用线径为0.08毫米的漆包线绕在最外层,绕2000圈左右。
变压器B\(_{2}\)磁心截面积为6×16(毫米)\(^{2}\),用线径为0.27毫米的漆包线绕15圈为L6,加上涤沦绝缘纸后,外面用线径为0.08毫米的漆包线绕1200图为L\(_{7}\)。
晶体管BG\(_{1}\)、BG2选用BV\(_{ceo}\)≥20伏、β在10以上的3AX63。ZD1选用起辉电压为60伏左右的氖管。微型闪光灯管长约为4厘米,灯管两端的出头接150伏左右的直流电压(本电路中接在C\(_{3}\)两端),管壁上的金属镀层引线接高压,本电路接L7的③端。K\(_{2}\)为按钮开关。C2、C\(_{3}\)也可用一只容量为200微法、耐压150伏的电解电容代替。
图2为1:1的印制板线路图。电池、电容另外装在一块板上见图3,这两块板都装在机壳内。机壳用薄板或有机玻璃胶合而成见图4,体积为9.5×6×5(厘米)\(^{3}\),前面的透光板作成插装式的。闪光管的几个反光面都贴上铝箔或铜箔,以增加反光亮度。



调整
线路焊接后检查无误可加电源,这时若能听到变压器B\(_{1}\)有“吱吱”的尖叫声(约5000赫),说明振荡器已振荡。若无尖叫声,应检查这部分接线,并把B1的接头线调换试之,看是否变压器极性接反造成停振。振荡器工作后,调整R\(_{1}\)使整机工作电流为200毫安左右,这时测量电容两端的直流电压为150伏,调W使氖管起辉。然后合上开关K2,闪光灯起辉闪光,闪光灯的恢复时间约为8秒。若按下K\(_{2}\)闪光灯无光,应检查B2线圈接线并调换L\(_{6}\)或L7的两个引出头接线位置。
调整好以后,就可以在摄影中使用。(郑祥泰)