图1是红旗100型晶体管扩音机原过荷保护电路。它的保护原理是:晶体管BG\(_{17}\)的基极和发射极之间加有三个电压,一是由前级负极电源,经过R61在R\(_{63}\)上获得一个分压,这个分压经电位器W7加到BG\(_{17}\)的基极和发射极之间,对发射结是一个正向偏置;二是由前级负极电源,经R60在W\(_{7}\)上获得一个分压,这个分压经R63加到BG\(_{17}\)基极和发射极之间,对发射结是反向偏置;三是从功放级发射极电阻R50两端引出一个电压,经D\(_{3}\)、C41整流滤波,再经R\(_{65}\)加到BG17基极,这个电压对于BG\(_{17}\)发射结来说是正向偏置。扩音机在正常工作情况下,R50两端电压很小,调整电位器W\(_{7}\),可使BG17的发射结处于反向偏置,管子截止。BG\(_{16}\)此时导通,从发射极输出稳定的直流负电压对前级供电;当扩音机由于某种原因使输出过荷时,流过大功率管3AD18发射极的电流增大,这个电压经D3、C\(_{41}\)整流滤波后加到BG17基极,使BG\(_{17}\)的发射结由反向偏置变为正向偏置,管子马上导通并进入饱和,由于BG17集电极对地电位增高,使得BG\(_{16}\)马上截止,从而切断扩音机前级电源,达到保护的目的。
上述电路有一个缺点,即当保护电路动作后,扩音机不输出电压,R\(_{5}\)0上的电压降马上大大降低,于是BG17又截止,BG\(_{16}\)又导通,使扩音机开始工作。这种周而复始、断断续续地工作,对扩音机的保护电路是不利的。为此,我们对扩音机的保护电路作了个别改动,使其不仅克服了上述缺点,而且增加了过压保护作用。

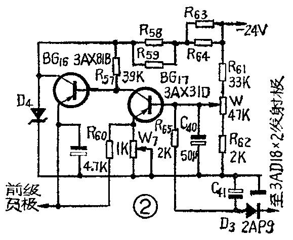
改动后的电路见图2。图中只是比原电路增加了一只47千欧电位器,并将C\(_{4}\)0容量改为50微法,同时使BG17基极的一个偏压,不从原来的前级负电源取得,而是从没有经过稳压的-24伏电源上分压取得。在正常工作时,调整电位器W,使BG\(_{17}\)基极电位稍高于发射极电位0.05~0.1伏,BG17处于截止状态,BG\(_{16}\)处于导通状态。当扩音机发生过荷故障时,BG17基极对地电位降低,使其发射结处于正向偏置,BG\(_{17}\)则马上导通,于是BG16截止,切断前级电源,达到保护的目的。现在我们就来继续分析一下,当保护电路动作后,为什么不再出现周而复始、断断续续的不利的工作情况。由于BG\(_{17}\)发射极通过R60接前级负电源,当保护电路动作后,这一路电压切断,BG\(_{17}\)发射极对地电位必然提高,而接BG17基极的另一路偏压,由于不再从前级负电源取得,而改从-24伏电源上分压取得,电压基本是不变的(在电源电压不变的情况下),即使过荷信号去掉,BG\(_{17}\)的发射极对地电位也比基极对地电位高,发射结仍处于正向偏置,BG17仍然处于导通状态,不会出现周而复始的情况。改动后的线路怎样起到过压保护作用呢?因为在正常工作时,BG\(_{17}\)发射极取自前级负电源的电压经过了稳压,基本不变,而基极的偏压却随着电源电压的变化而变化,当电源电压一旦升得太高时,BG17的基极对地电位将低于发射极对地电位,BG\(_{17}\)便导通,从而保护了机器。
当过荷或过压故障排除以后,只要将扩音机电源开关断开一下再合上,便能恢复正常工作。道理是当扩音机开关断开后,C\(_{4}\)0两端电压通过W和R62放完,当开关合上后,因C\(_{4}\)0容量较大,有一个充电过程,即C40两端电压的建立要有一段时间,所以必然是BG\(_{16}\)首先导通,扩音机开始正常工作,而BG17发射结处于反向偏置,管子处于截止状态。(普陀县人民广播站 陆锐锋)
