当电子管电视机的35厘米70度偏转角显象管坏了要换用23厘米90度偏转角的显象管时,只要把原线路作较小的改动就可观看。根据我们改换的几部电视机来看,仅屏幕小了一些,但清晰度比用35厘米显象管还好些。现将改换方法介绍如下:
偏转线圈
换用23厘米显象管时,仍可用35厘米显象管用的偏转线圈。只要电视机本身工作正常,改换成23厘米显象管以后,一般效果良好,只是枕形失真比较明显,但可用磁铁进行校正。若原机有枕形校正磁铁,可调整其方位,经校正以后。可以达到满意的效果。
显象管灯丝电压
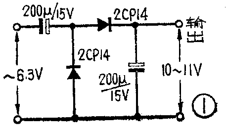
35厘米显象管灯丝是交流6.3伏。23厘米显象管灯丝是12伏,根据实际情况,灯丝可以用直流12伏,也可以用交流12伏。例如北京牌825型电视机,可将电源变压器10\(^{#}\)和12#抽头引出的两组交流6.3伏串联后作为23厘米显象管的灯丝电压。北京牌823型则要由电源变压器12\(^{#}\)和14#引出。又如上海牌104型电视机,没有两组相串联的6.3伏交流电压,可以采用一组6.3伏交流电压,用倍压整流方式获得直流约10~11伏的电压,供23厘米显象管灯丝之用。采用这种方式,当按通电源时,灯丝电压是逐渐增加的,这对延长23厘米显象管灯丝寿命也有好处。具体电路如图1所示。

高压
35厘米显象管的高压为12KV,而23厘米显象管的高压是9KV。为了获得合适的高压,采取两方面的措施:一方面在行扫描输出变压器的7和8而引出头之间并上6800P一0.01μ的电容,增大逆程,降低高压,如北京牌823型的电视机,在7与8两引出头之间并上6800P电容,在上海牌104型电视机上并上0.01μ电容,从而达到降低高压的目的;另一方面将12KV高压输出点与地之间并上一组大阻值电阻(如8只3.6兆欧),采用分压方式,取得9KV高压,如图2所示,电阻功率选1瓦或1/2瓦均可。因并联电阻的分流电流在300μA左右,对1Z11整流管无任何影响。若用大阻值电阻串接在高压回路中,也能降低高压,但高压回路内阻增大,当亮度改变时,光栅幅度也随之改变,效果不好。

加速极、聚焦极电压
35厘米显象管的加速极、聚焦极电压均用560V的提升电压作电源,而23厘米显象管加速极电压为400V,聚焦极电压为0~300V。为此,将560V提升电压用分压方式,分别供给23厘米显象管的加速极和聚焦极,如图3所示。从原35厘米显象管8脚管座第4(或6)脚引出560V电压至分压器的A点,从B点引出400V的加速电压,由电位器中心抽头引出0~300V聚焦电压,供23厘米显象管使用。

显象管座接线
35厘米显象管是大八脚管座,23厘米显象管座是小七脚。为了保持原物,以利换回,另加一个小七脚管座。可以在八脚管座上另外接两条线,一条是从八脚管座的第7脚接到七脚管座的第1脚(阴极),引入视频信号。另一条是从八脚管座的第2脚接到七脚管座的第5脚(栅极),引入亮度控制电压。灯丝电压、加速极电压、聚焦电压从改动后的线路引入,如图4所示。

亮度控制电路的改动
对上海牌104型电视机改换23厘米显象管时,由于23厘米、35厘米显象管栅阴截止电压不一样,在换用时亮度控制电路要作适当调整。具体作法是:对上海牌104型电视机把亮度电位器接地点断开。串接上一个100—150K电阻再接地,以提高栅极电位,否则光栅太暗。对北京牌825型电视机不必更改,而对823型电视机,可在亮度电位器与地之间串联的510K电阻上,并上一个200—510K电阻,以降低阴极电位。
显象管的固定
因为35厘米显象管的固定夹具比较大。而23厘米显象管小,不便固定,所以必须用包装铁皮做一个23厘米显象管的固定夹具,延伸四角与35厘米显象管的大夹具用螺钉固定在一起。偏转线圈要靠近23厘米显象管颈部,注意不要让偏转线圈压显象管尾部,使之受力而损坏,因此要采用适当的支撑措施,将其挂起来。
换上23厘米显象管后,面板有空隙,可用硬壳纸或其他材料做成23厘米显象管屏幕那样大的孔,固定在面板上。(华中师范学院物理系 科安仁)