交直流两用晶体管高频头的电源可用交流6.3伏或直流9~11伏供电。采用交流供电时,它可直接代换一般的电子管电视机高频头,例如直接插在北京牌825-1、825-2或上海牌104等型号的电视机上使用。在晶体管电视机中,采用直流供电,这种交直流两用高频头的电路只要略加改动便能使用。
电路介绍
电路图见图1。此高频头由高放、本机振荡、混频、电源四部分组成。电视信号通过天线送至L\(_{1}\)耦合到L2,并送给BG\(_{1}\)管进行高频放大。放大后的信号同本机振荡管BG3产生的高频振荡信号一起,送至BG\(_{2}\)混频管,混频后得到的中频信号经过L6、L\(_{7输出。}\)

电源部分的D\(_{1}\)、D2组成倍压整流电路,电容C\(_{17}\)、C19、C\(_{2}\)0、C22及晶体管BG\(_{4}\)组成“滤波器”。6.3V交流电压经整流滤波后变成约10伏左右的直流电压,供给高频头各晶体管用。
为了制作简单容易,此高频头只设置了一个频道。输入电路为300Ω平衡输入式。L\(_{3}\)、L4采用紧耦合,用双线并绕,以展宽通频带。L\(_{6}\)、L7是混频级的输出线圈,采用平绕,适当选择初、次级之间的圈数比,可使晶体管的输出阻抗与电子管中放级的输入阻抗相匹配。本振回路采用调电容式频率微调,本振信号通过C\(_{15}\)送至BG2基极进行混频。
元件的选择、制作
四只三极管全部使用硅管,如3DG4、3DG6或2G210、2G910等,在二频道时用3DK7也能胜任。BG\(_{1}\)、BG2、BG\(_{3}\)的β值在40~130左右。对于晶体管的特征频率fT的要求,视使用的频道不同而异。一般f\(_{T}\)值只要大于使用频率的一倍即能满意地工作。BG4的β值只要大于20即可,但最好稍高一些,这样滤波效果更好些,对BG\(_{4}\)的其它参数没有特殊要求。四只管子的Iceo越小越好,尤其是BG\(_{1~3}\)。晶体管。D1、D\(_{2}\)采用2CP10、2CP11等。
频率微调电容可以自制或用一般的空气微调电容代用,也可用晶体管收音机用的短波微调电容,只要容量变化范围在0.5~3P左右即可。其它微调电容是一般收音机用的20/5P的小型瓷介微调电容。
电感线圈L\(_{1}\)~L5都绕成空心线圈,线径和圈数如附表所示。绕制时,找一根直径Ф3.2或Ф0.35mm的钻头杆做骨架,在其上密排绕线。绕L\(_{1}\)、L2时,先绕L\(_{2}\)线圈,在L2上再绕L\(_{1}\);L3、L\(_{4}\)采用双线并绕。绕好后抽去钻头即成空心线圈。绕线圈L6、L\(_{7}\)时,用一般电子管电视机中周骨架,用MXO400、M6×0.75螺纹磁心。其中L8(初级)用直径Ф0.38mm的高强度漆包线绕18圈,然后垫一层聚脂薄膜或黄蜡绸,再用Ф0.12mm的丝包线或高强度漆包线密绕24圈作为L\(_{7}\)(次级),在6圈处抽头。用于电子管电视机时,中频信号由24圈两端输出。附表中给出了不同频道的线圈数据,供制作参考。
附表: 各频道频率及各线圈数据
电视 频率范围 本振频率 线圈圈数及线径(mm)
频道 (兆赫) (兆赫) L\(_{1}\)Ф0.51 L2Ф0.51 L\(_{3}\)Ф0.44 L4Ф0.64
1 48.5-56.5 84 2+2 13 16 17
2 56.5-64.5 92 2+2 11 15 15
3 64.5-72.5 100 2+2 10 13 14
4 76-84 111.5 2+2 10 12 12
5 84-92 119.5 2+2 8 12 10
6 167—175 202.5 2+2 8 11 6
7 175—183 210.5 2+2 8 11 60.5
8 183—191 218.5 2+2 7 10 4
9 191-199 226.5 2+2 7 10 3.5
10 199-207 234.5 2+2 7 10 31
11 207-215 242.5 2+2 6 9 31.5
12 215—223 250.5 2+2 6 9 32
注:表中圈数右下角标注数字为圈与圈间距,如:31即圈数为3圈。 每圈间间距约1mm。
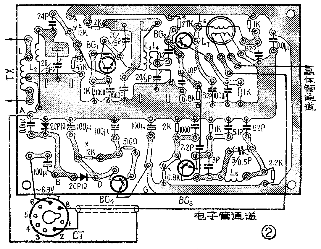
高频头的印刷电路板见图2。

高频头的外壳可用制作印刷电路板用的敷铜板边角料制作,将有铜箔的一面向内,并将接缝处焊接起来,将高频头装入固定即可。
高频头结构图如图3。

制作中应注意的问题
1.印刷电路板最好采用环氧玻璃纤维板,若用纸胶板时,在腐蚀完以后一定要清洗干净。应先清洗保护漆,然后钻孔,最后用少量的酒精或汽油擦干净,再涂上松香水。焊接时,不要用焊锡膏等带腐蚀性的助焊剂。
2.线圈可用少量高频性能良好的聚苯乙烯溶液(聚苯乙烯颗粒溶于甲苯溶液制成)封固,不能用凡立水或万能胶等。
3.电源部分的电容C\(_{2}\)0、C22的作用,是消除50赫交流调制的高频信号。若去掉C\(_{2}\)0、C22,虽然能同样收看,但有时会在荧光屏上出现一道道上下移动的黑滚条,所以不能省去C\(_{2}\)0、C22。
4.选用晶体管时,除BG\(_{4}\)可用β>150、Lceo比较小的管子外,BG\(_{1}\)~BG3各管的β值最好在40~130之间,不可过大。若都用β值很高的晶体管,会使通频带变窄,甚至造成自激,造成图象和伴音不能兼顾,产生严重的网纹干扰等。
调整
检查元件等焊接无误后,将插头插入电视机高频头插座上,打开电视机电源开关,测量印刷板上的A、B两点的交流电压是否为6.3伏,再用万用表直流电压档测A、G两点的电压应为9~10.5伏左右,如A、G两点电压偏低或偏高,可以调整电阻R\(_{14}\),将此电压调整合适以后即可进行下面的调整了。
BG\(_{1}\)、BG2、BG\(_{3}\)的集电极电流都调在1.5~2毫安左右,这时测量各级晶体管发射极对地电压应在1.5伏左右,其它各极电压也应基本符合图1中所标的数据。如果某只管的发射极对地电压偏高或偏低,可以分别调整各有关电阻(R2、R\(_{5}\)、R12)。整个高频头的总电流小于10毫安。
各级电压、电流调整合适以后,即可检查本振级是否起振。方法是:用内阻比较高的万用表直流2.5伏或2伏电压档测量电阻R\(_{1}\)0(即图中R)两端的电压应在1.5~2伏左右,此时用手捏住L5或用改锥将频率微调电容动、定片进行短路,如果万用表所指示的电压数据减小一定幅度,则表示电路已起振。如不起振,可仔细检查电路及元件。如因本振管BG\(_{3}\)的fT过低(尤其是6~12频道),可将该管电流略调大些或换一只管试试。
电路起振后,将电视机对比度钮开到最大。用手捏住改锥金属部分,分别去碰BG\(_{3}\)、BG2、BG\(_{1}\)的基极和天线输入端,扬声器中应发出“咯咯”声,荧光屏上也有反应,表明电路工作基本正常。这时可接上天线,转动微调,看能否收到图象或伴音。若收不到时,可用一个磁心或一段小铜棒,分别去靠近线圈L5或在线圈管内慢慢地放进、拉出,当在某位置时,可收到图象或伴音,说明线圈电感量不对。如果是铜棒放进一定位置能收到信号则须减少L\(_{5}\)的圈数或将线圈略拉开一些,若是磁心放在某一位置时收到图象和伴音,则应增加线圈圈数或压紧线圈。
然后分别调整C\(_{23}\)、C4、C\(_{1}\),使图象和伴音最好。C1的容量增加时,回路Q值降低,频带加宽,灵敏度降低。C\(_{1}\)容量减小时,频带变窄,灵敏度高。最后再与L6、L\(_{7}\)配合起来调整,使图象和伴音两者兼顾。
调整完以后,如果觉得增益过高时,可以适当增加C\(_{1}\)的容量或适当增加R4的阻值,以降低高频头增益。
如果将此高频头用于晶体管电视机,用直流供电时,可将9~12伏的直流电压直接接到图1、2中构A、D两点或A、G两点上。接在A、D两点时,BG\(_{4}\)等将对直流电再作一次滤波。为了与晶体管电视机图象中放的输入阻抗相配合,高频头中频信号由L7的抽头(6圈)处输出,其它不变。(唐宗理)