LY—321型磁带录音机是一种全晶体管化录音机,可对宽度为6.25毫米的磁带作半个幅面的录音。机内采用录、放、抹三个磁头,在录音时能监听已录声音,从而使录音过程中发生的不正常现象能及时发现。
本机交直流两用,适宜外出采访及在没有交流电源的地方使用。机内结构紧凑,操作简单,维修方便。机械系统由直流电动机带动,用晶体管稳速电路来稳定直流电机的转速,从而保证录音质量良好。
本文仅对LY—321晶体管录音机的电路特点及其常见故障的维修作一介绍。
一、技术指标
1.音轨形式:单道双轨。
2.带速:9.53厘米/秒;4.75厘米/秒。
3.带速误差:±2%。
4.失调率:≤0.4%(带速为9.53厘米/秒);
≤0.5%(带速为4.75厘米/秒)。
5.输入电平:话筒输入1.5~2毫伏;
线路输入50~100毫伏。
6.额定输出功率:250毫瓦(负载为8欧时)。
7.谐波失真度:3%(在1000赫时)。
8.信号噪音比:≥40dB(带速为9.53厘米/秒时);
≥38dB(带速为4.75厘米/秒时)。
9.频率响应:
80赫~8000赫时±3dB(带速为9.53厘米/秒);
100赫~4000赫时±4dB(带速为4.75厘米/秒)。
10.倒带时间:≤3分钟。
11.电源电压:直流15伏(1号电池10节);交流220伏(50赫)。
12.耗电:≤4.5瓦。
13.工作条件:环境温度为-10℃~+40℃;相对湿度为≤80%;大气压力为750±30毫米水银柱;连续工作时间8小时(交流)。
14. 外形尺寸:320毫米×280毫米×120毫米。
15.重量:9.5公斤(带整流器)。
二、线路特点
1.录音电路

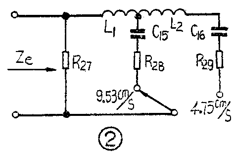
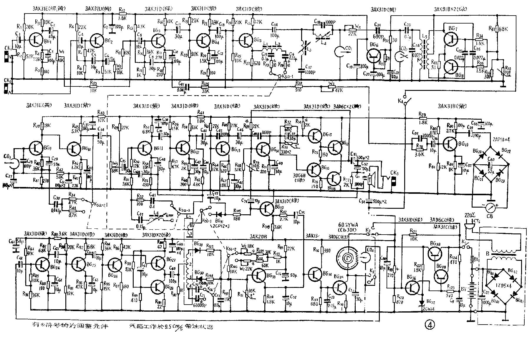
整个录音过程可用图1表示。话筒将声能转变成微弱的电信号,由话筒插孔输入录音机,经BG\(_{1}\)、BG3、BG\(_{4}\)、BG5四级放大器放大后,送到录音头,在录音头线圈内流过足够的录音电流对磁带进行磁化,于是就将电能转换成磁能储存在磁带上,这就是录音的全过程。在由声能转成电能,由电能转成磁能的过程中,信号会产生高频损失。为了解决这个问题,有一部分高频损失是在录音电路中加以补偿的。如图2所示,在录音电路末级(BG\(_{5}\))加了一个高频提升网路,图中L1、C\(_{15}\)对应9.53厘米/秒带速,L2、C\(_{16}\)对应4.75厘米/秒带速。把这个网路并接在BG5发射极电阻上,就可以降低BG\(_{5}\)发射极高频负反馈深度而提升高频。

例如,当频率很低时,电容C\(_{15}\)(或C16)近似于开路,阻抗无限大(X\(_{c}\)≈∞),设接在BG5发射极回路里的总阻抗为Z\(_{e}\),则Ze≈R\(_{27}\),此时负反馈系数β为定值;当频率逐渐增高时,C15(或C\(_{16}\))不能再视为开路,而是有一个阻抗值并联在R27上,使Z\(_{e}\)渐减,于是负反馈系数β也渐减,该级的放大倍数就会增高;当信号频率f=fr时(9.53厘米/秒带速时,f\(_{r}\)=\(\frac{1}{2π}\)\(\sqrt{L}\)1C\(_{15}\);4.75厘米/秒带速成,fr=1;2πL\(_{2}\)C16),L\(_{1}\)和C15(或L\(_{2}\)和C16)的串联阻抗X=X\(_{L}\)-Xc=0,Z\(_{e}\)等于R27与R并联(9.53厘米/秒带速成,R=R\(_{28}\)+R′,R′为L1的直流电阻;4.75厘米/秒带速时,R=R\(_{29}\)+R″,R″为L2的直流电阻),因为R\(_{27}\)》R,所以Ze≈R,此时β最小,对应f\(_{r}\)的这个高频频率也得到最大提升;当信号频率很高时,电感L1(或L\(_{2}\))近似于开路(XL≈∞),Z\(_{e}\)≈R27,β又为定值。高频提升的谐振频率f\(_{r}\),一般是对应带速工作频响上限频率的1.1倍左右,例如,对应9.53厘米/秒,fr=8000赫×1.1=8800赫。
高频提升量取多大为好?这取决于录音头及磁带高频损失的大小和录音头与磁带之间的间隔。根据我厂目前生产情况,9.53厘米/秒带速时,8800赫对1000赫提升量为13~16dB;4.75厘米/秒带速时,4400赫对1000赫提升量为15~18dB(提升量指流过录音头的电流而言)。录音电路的频率特性如图3所示。

BG\(_{3}\)与BG4之间的低频提升网路(见图4中R\(_{125}\)、C83)是为了使低频段频响平坦。

图中的W\(_{4}\)为偏磁电压调节电阻。调节W4可使录音头获得最佳的偏磁。C\(_{18}\)和L4组成并联谐振阻波器,C\(_{17}\)和L3组成串联谐振陷波器,分别调节L\(_{3}\)和L4,能使它们的谐振频率与超音频偏磁电压的频率相同,这样就可以防止超音频电压干扰影响录音放大电路。
BG\(_{6}\)与C19、C\(_{22}\)组成一个电子滤波器,这种滤波器滤波效果较好,能有效地防止电源的杂音串入录音放大器,保证录音放大器正常工作。
2.放音电路
放音电路的作用,是将已录在磁带上的磁信号,通过放音头转换成微弱的电信号,再加以放大后去推动扬声器,将电信号还原为声音。整个放音过程可用图5来表示。

为了降低放音放大器的噪音电平,并且使放音头感应到的信号少损失一些,要求放音电路的输入级噪音电平低,输入阻抗高。因此,放音电路的第一、二级采用了直接耦合式的级联放大器(见图4),BG\(_{1}\)0发射极电阻R46、R\(_{47}\)构成一个分压电路,从R47上取得一部分分压,经C\(_{31}\)、R42、C\(_{27}\)滤去交流成分,通过放音头线圈,供给BG9偏置电流。这种电路的优点是使该级的直流工作点更稳定一些,基本不受温度的影响。BG\(_{9}\)的发射极电阻中,R41未加旁路电容,目的是加大对交流信号的负反馈,虽牺牲了一定的放大倍数,但提高了输入阻抗,使失真也进一步减小。调整R\(_{42}\),可改变BG9基极偏流的大小,但应注意此时BG\(_{9}\)集电极负压也要发生变化,又影响了BG10基极偏流的大小,所以调整时要注意两管电流的变化情况。两只管子的工作点一般调得较低,一些电阻均采用热噪音较小的金属膜电阻。
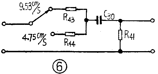
为了补偿放音过程中的低频损失,在放音电路中采用了相应的低频提升网路(R\(_{41}\)、R43、R\(_{3}\)0对应9.53厘米/秒带速;R41、R\(_{44}\)、C30。对应4.75厘米/秒带速),如图6所示。

当频率很低时,电容C\(_{3}\)0近似于开路(Xc≈∞),负反馈系数β≈0,BG\(_{9}\)和BG10组成的两级放大器的放大倍数为K=K\(_{0}\)(K0是无负反馈时这两级的放大倍数);频率渐高时,X\(_{c}\)渐减,β逐渐增高,K渐减;频率相当高时,电容C30近似于短路(Xc≈0),β近似于一个定值(9.53厘米/秒带速时,β=\(\frac{R}{_{41}}\)R41+R\(_{43}\);4.75厘米/秒带速时,β=R41R\(_{41}\)+R44)。而K=K\(_{0}\);1+K0β,故低频得到提升。
频率由低而高的渐增过程中,有某一个频率提升量为3dB,这个频率称为转折频率,用f\(_{0}\)表示。f0=\(\frac{1}{2πτ}\)=1;2πRC,τ=RC称为时间常数,R是负反馈电阻,C是负反馈电容。
在磁性录音机中,转折频率f\(_{0}\)在国际上是有规定的。为了叙述方便,常用时间常数来反映转折频率的高低。根据我厂的实际情况,在LY-321录音机上,在9.53厘米/秒带速时,
τ=R\(_{43}\)·C30≈221微秒;
而4.75厘米/秒带速时,
τ=R\(_{44}\)·C30≈385微秒。
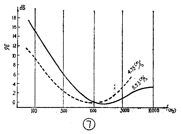
放音电路的频率特性如图7所示。

C\(_{37}\)、C41、R\(_{52}\)、R55和L\(_{6}\)组成一个高频提升网路,这里就不多讲了。
为了减小失真,改善频率响应,放音电路的功率输出级采用了无变压器输出电路,BG\(_{15}\)、BG17组成一个复合管,BG\(_{16}\)、BG18组成一个复合管。由输出端通过C\(_{52}\)、C53和R\(_{77}\)反馈一个电压到末前级,这样可使输出阻抗很低,成为定压输出。负载阻抗允许在4欧到600欧之间变化,可以开路,但绝对不能短路,以免功率放大管烧坏。
3.超音频振荡器
超音频振荡器能产生一个比整机上限工作频率高五倍的正弦波频率(45000赫),来供给抹音头一定的抹音电流和录音头一定的偏磁电流。
为了改善超音频电流的波形及其对称性,振荡器采用推挽电路(见图4),由BG\(_{7}\)、BG8及有关元件组成。L\(_{5}\)的初级绕组是BG7和BG\(_{8}\)的负载,C25、C\(_{26}\)是耦合电容,保证经两级放大后反馈到初始点的相位相同,即是正反馈。BG7、BG\(_{8}\)采用共发射极接法,其放大倍数K>1,所以Kβq>1,这样就能产生振荡。振荡频率取决于L5次级绕组的电感量、抹音头CO\(_{2}\)的电感量以及C24数值的大小。R\(_{34}\)~R38组成基极偏置电路,R\(_{38}\)是一个热敏电阻,起温度补偿作用。调节R37可改变晶体管基极偏流的大小。R\(_{33}\)为发射极温度补偿电阻。
4.电平指示电路
此电路由一级放大、桥式整流和指示电表组成。
当把录音放大器调整到额定录音电平时,就会向电平指示电路输入一定的信号,调整W\(_{3}\)使电表指针指在红蓝线之间,以表示额定录音电平。
C\(_{59}\)的作用是将音频信号耦合到桥式整流器,用整流后的直流去驱动直流电表CB工作。C60为滤波电容,可使电表指针摆动稳定。(未完待续)(上海录音器材厂技术组)