(一)直放式图象通道
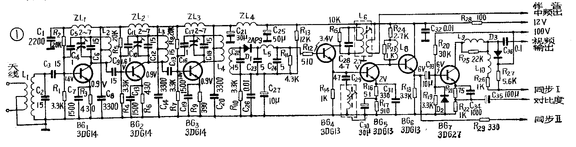
图1所示线路是一种直放式电视机图象通道。它包括输入回路、高频放大、视频检波、视频放大等电路。23厘米以上的电视机均可使用。灵敏度可达0.5mV,在离电视发射台8~10公里的范围内,用机上鞭状天线或简易室内无线可获得较满意的电视图象。

输入回路
线路中由L\(_{1}\)、C2等组成变压器耦合调谐式输入回路。输入回路的阻抗为平衡式300欧,输入端任何一端对地的阻抗均为75欧。可采用300欧平行馈线输入,也可用75欧的鞭状天线直接输入。天线系统与输入回路的匹配,由L\(_{1}\)初、次级以一定匝数比构成变压器来实现。输入回路与晶体管的匹配是通过C3与其输入电容分压来实现。实际制作时,为了达到阻抗匹配,提高回路的Q\(_{0}\)值,减小信号损耗,要求L1初级绕组应在次级绕组中间。象双线并绕形状一样。线圈用φ0.44~0.8毫米漆包线直接脱胎绕制。避免使用各种套管以减小高频损耗,引线不要弯成直角状,也不宜太长。各频道线圈的数据与绕制见表1。

高频放大器
该线路采用三级共射极高频放大器。采用三级高放的目的是在满足一定频带宽度的情况下,尽量提高检波前的增益,以提高信噪比,减小检波失真。实践与计算都表明,三级共射放大器在带宽为4~5兆赫时,一般增益为40~46dB(即电压放大倍数为100~200倍),如果要求加到视频检波器上的高频电压不小于100毫伏,那么电视机的灵敏度也只有1mV~0.5mV,因为两级高放的增益仅有25~30dB(25倍左右),灵敏度为4mV左右,为了保证图象的清晰度不能用压缩频带的方法来提高增益。因此通常采用三级高放再加上高增益的视频放大级才能得到较好的接收质量。第三级采用双调谐回路形式,可获得双峰谐振曲线,与前二级参差调谐放大器配合,获得较好的总通带曲线,如图2所示。三级高频放大器的直流偏置均用分压式电流负反馈偏置电路。电路中L\(_{2}\)、L3及L\(_{4}\)初级绕组均采用中间抽头方式,以使晶体管输出阻抗与调谐回路匹配。ZL4、C\(_{2}\)0,ZL3、C\(_{14}\),ZL2、C\(_{3}\),ZL1、C\(_{1}\)以及C25、C\(_{21}\)组成多级π型去偶电路,防止各放大器通过电源回路产生自激。C4、C\(_{1}\)0、C16为中和电容,用来中和晶体管高频运用时的内部反馈,以保证获得较高增益和消除自激。BG\(_{1}\)~BG3应选用f\(_{T}\)≥300兆赫,β值为50~100的高频管,如3DG6C、3DG8C、3DG14、3DG11等。应尽量采用fT>300兆赫的超小型芝麻管3DG14。当工作在高频道时(如第八频道),BG\(_{1}\)~BG3的f\(_{T}\)应大于600~800兆赫,否则增益较低。工作状态应调整在Ic=2~4毫安较为有利。

视频检波器
视频检波器由D\(_{1}\)、C23、R\(_{11}\)、C26等组成。D\(_{1}\)通过R10、R\(_{12}\)、R13加以一定的正偏置,降低检波器的起始工作电平,从而提高检波效率,减小失真。C\(_{23}\)、L5、C\(_{24}\)组成π型低通滤波器,用来滤除残余高频信号。检波器除完成视频检波任务外,还起混频作用,使伴音载频与图象载频差拍产生6.5兆赫的伴音中频信号。检波管D1应选用正向电阻小、反向电阻大、工作频率高的二极管,可用2AP9、2AP10或2AK1~2AK4等。对于同一型号的二极管,如果工作频率基本相同,应首先选用正向电阻小的(反向电阻大于50K即可),这样可提高检波效率。
视频放大器
本电路视频放大由BG\(_{4}\)、BG5、BG\(_{6}\)、BG7四级组成。其中BG\(_{4}\)、BG6为射极跟随器,电压增益接近于1,起阻抗变换作用。因为从采用三级高放的最高灵敏度考虑,加于检波器上的高频电压应为100毫伏,经检波可得到50毫伏左右的视频电压。为了推动显象管工作,一般要求30V\(_{pp}\)~50Vpp以上的调制电压,这就要求视频放大器应有55~60dB(600~1000)的增益。显然用单级放大器作带宽4~5兆赫的视频放大是无法满足要求的,故通常用两级共射极放大电路。为了使检波器能在较高的负载阻抗下工作,避免共射极电路的视频放大器低输入阻抗对它的影响,因此检波器与视频放大器之间接入一级射极跟随器(BG\(_{4}\))。同样,为了使第一级视频放大器获得良好的通频带特性,避免第二级视频放大器低输入阻抗对第一级负载影响,它们之间也接入一级射极跟随器(BG6)。从检波器到BG\(_{6}\)全部采用直接耦合方式,以减小低频耦合失真,并可简化电路节省元件。L8与晶体管的结电容、分布电容等组成并联谐振回路,谐振于3~5兆赫,以进行频率补偿。使通频带曲线有一小峰突起,得到较好的频率特性。但是Q值不能太大,否则将造成过补偿,反而使电路产生衰减振荡,叠加进视频信号中,图象就会产生多层起伏镶边现象。为降低Q值并联上电阻R\(_{23}\)。L9、R\(_{25}\)组成串联补偿电路,L10与分布电容组成并联补偿电路,其作用与L\(_{8}\)、R23一样。L\(_{5}\)~L10线圈的数据和绕制如表2所示。D\(_{2}\)用来防止负脉冲将BG7发射结击穿,可用硅三极管的eb极代替。D\(_{3}\)的作用是防止显象管内电极放电将BG7集电极击穿。D\(_{3}\)用耐压大于60伏,开关特性较好的二极管,如2AP5~2AP7、2CK2~2CK6、2AK10、2AK1E等。图1中对于同步信号的取得可在两个地方,同步Ⅰ是在视放末级取出负极性(正方向)大幅值的视频同步信号,供电子管同步分离电路用;同步Ⅱ在第二视预放射极上经R29取出正极性(负方向)小幅值的视频同步信号,供PNP型管作正向同步分离电路时用。BG\(_{4}\)~BG6可用f\(_{T}\)≥50兆赫,β=30~100的硅小功率管。在选超小型管时,应特别注意Iceo≤5~10微安,否则电路不但难调整而且噪声大,甚至不能工作。BG\(_{7}\)选用β=30~100、BVceo≥80伏、 P\(_{cm}\)≥500毫瓦的管子,如3DG27、3DG12、3DK4等。

图3是图1电路的印制电路板图,该电路板的固装可用插入式,便于调整和维修。图中虚线是屏蔽罩示意,制作时高放级的屏蔽罩不一定要象图中所示那样用封闭式的,可用三块级间屏蔽板,材料用0.1~1毫米厚的铜或铁皮,应使屏蔽板与印制板的铜箔接地线焊接良好(注意:印制电路板图中只设计有同步Ⅰ的取出,而没有同步Ⅱ)。

(二)超外差式图象通道
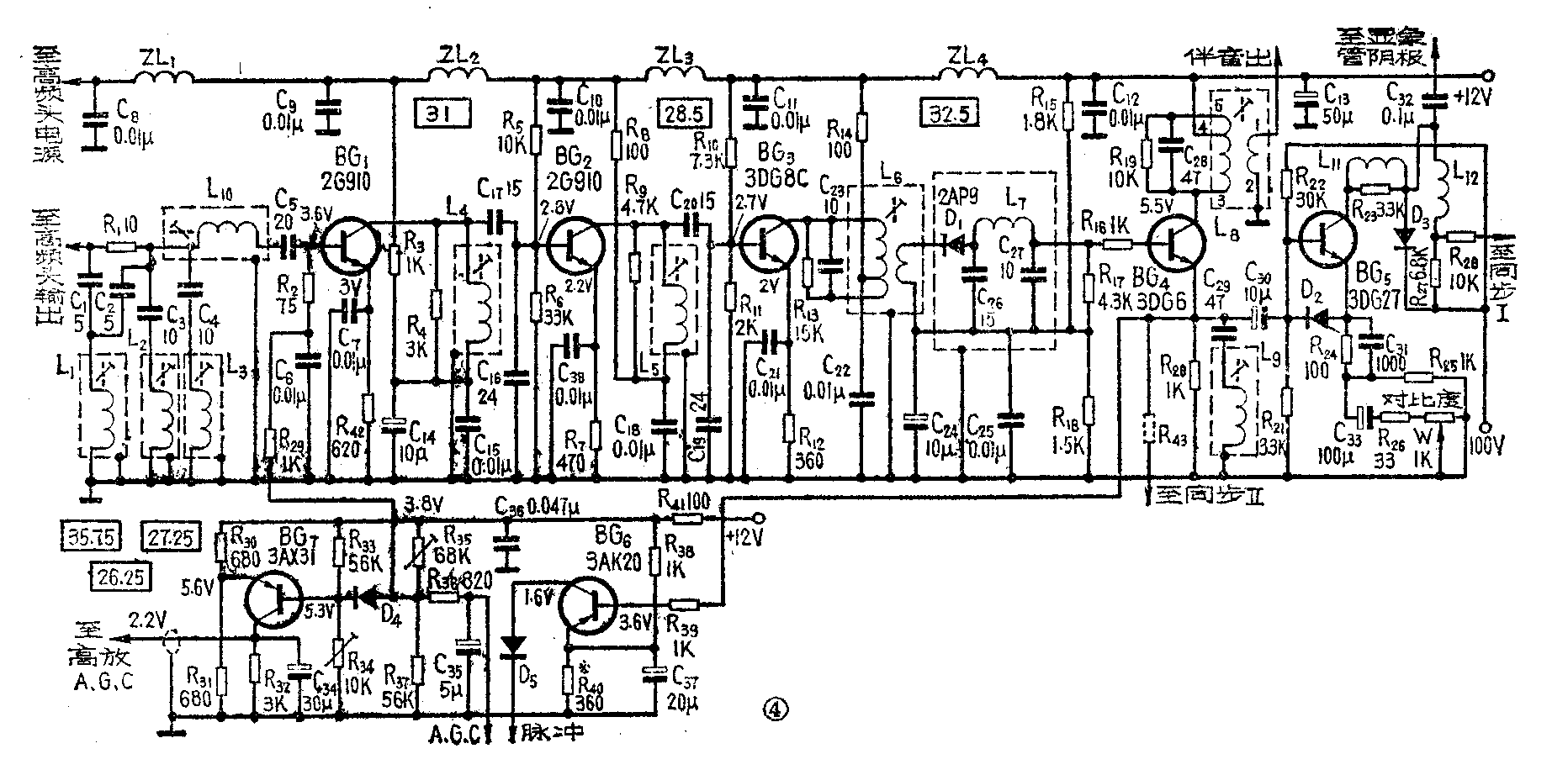
图4所示电路是一种超外差式图象通道。它包括图象中频放大器、视频检波器、视频放大器等。23厘米以上的电视机均可用。图象中频放大器的增益为60dB,视频检波器的增益为-5dB,视频放大器的增益为40dB。若视放要求输出40~60伏调制电压,则灵敏度可达40μV。用简易半波振子或折合振子天线,可在30公里的范围内获得比较满意的图象。

图象中频放大器由BG\(_{1}\)、BG2、BG\(_{3}\)等组成三级参差调谐共发射极放大器。其特点是:①由L10、C\(_{5}\) 及晶体管BG1的输入电容组成的输入回路,与高频头混频器输出回路B\(_{2}\)等联合构成双调谐耦合电路。它具有双峰谐振曲线。②由于高频头与图象中频放大器分开安装,故其间连线要用低阻抗(75Ω)的同轴电缆,以减少外来信号的干扰。如果高频头与图象中频放大器距离不超过50毫米,可用普通导线代替,并且在导线与地之间共上一个15P的电容。如果超过50毫米,在200毫米以内,可用普通较粗的金属屏蔽线或双股绞合线代替,实践表明效果尚可。③由C1、C\(_{2}\)、R1、L\(_{1}\),C3、L\(_{2}\),C4、L\(_{3}\)组成三个串联吸收回路,分别谐振于35.75兆赫、27.75兆赫、26.25兆赫三个频率上,以对邻近低频道伴音载频、本频道伴音载频、邻近高频道图象载频进行吸收。使输入回路具有较好的邻近频道选择性和伴音抑制比。吸收回路集中在输入端是为了改善交叉调制现象。由于晶体管特性曲线的线性范围有限,当输入信号较大时,就会进入非线性工作区如图5所示,这样就会产生检波作用。检波后产生的低频信号如果在输入端再去调制输入信号,会使输出信号波形严重失真,这就是所谓交叉调制现象。如果再调制信号是邻近频道干扰信号,在图象上会出现象条纹状影带。如果再调制信号是本频道低频成分或场同步信号,就会使场同步破坏或伴音产生“蜂音”。为了减小各种交叉调制现象,应抑制掉邻近频道信号的干扰和适当减小伴音载频的幅度。另外第三级图象中频放大器的输入信号幅度比较大,这一级最容易产生交叉调制,故一般采用增大BG3管集电极电流(即将R\(_{14}\)阻值减小,提高管子工作电压)的方法,以扩大动态范围,从而减小交叉调制现象。④三级图象中频放大器的调谐回路分别调谐于31兆、28.5兆、32.5兆三个频率上,构成参差调谐图象中频放大器。⑤第一图象中频放大器采用键控式正向自动增益控制电路。BG1管的偏置由R\(_{35}\)、R37分压决定,调节R\(_{35}\)的大小可改变BG1的偏置。一般对于正向控制,在静态时,取I\(_{c}\)=5毫安左右。

图象中频放大器的BG\(_{1}\)、BG\(^{2}\)晶体管选用fT≥600兆赫,BV\(_{ceo}\)≥12伏,噪声系数较小的管子。如2G910、2G911、3DG11、3DG18等。BG1管最好选用具有正向A,G、C特性的晶体管,如2G210、DG204等。BG\(_{3}\)选用fT≥300兆赫、P\(_{cm}\)≥200毫瓦的管子,如3DG8C、2G211等。以上晶体管的β值在30~150均可。BG6选用PNP开关管,如3AK20、3AK11等。BG\(_{7}\)可用任何型号的PNP小功率管,要求Iceo≤100μA。BG\(_{8}\)、BG7的β值以30~80为宜。二极管D\(_{4}\)、D5可用2AP1~7、2AP9~10等检波二极管。
超外差式图象通道的视频检波器与视频放大器的电路结构与直放式的基本相同,所不同的是视频放大级少了一级视预放和一级视放电路。这是因为超外差式电路有足够的增益,经视频检波级后一般都能输出1V\(_{pp}\)的全电视信号,故采用一级预视放和一级视放其增益已满足了要求。视放级晶体管的选用同直放式电路,其中末级晶体管的β值要大于50。
图4所示电路各线圈的绕制及数据见表3。图6为印制电路板图。其中视频检波级最好加屏蔽罩,以防止检波产生的中频信号高次谐波辐射出来,进入中放或高放级引起干扰和自激。屏蔽罩用0.2~0.3毫米厚的铜片或铁皮制成,高约15毫米左右,并要与印制电路板的接地铜泊焊牢。印制板装接也可用插入式。同步Ⅰ输出的信号供电子管同步分离级用的。同步Ⅱ处输出的信号经R\(_{43}\)(虚线所示)供使用NPN型晶体管作同步分离级用的。(王德湲)

