双向可控硅是一种特殊的可控硅元件,它的外形和普通可控硅相似,管芯是由NPNPN五层半导体构成,引出三个电极,分别是第一极C、第二极A和控制极G,其内部结构和电路符号如图1所示。

双向可控硅的功用相当于两个普通可控硅反向并联,如图2所示。它工作在交流回路中时,无论正半周还是负半周电压均可作可控导通,从而能够方便地进行交流调压或作为交流无触点开关。由于它只有一个控制极,只需一套触发线路,这就使双向可控硅比普通可控硅反向并联线路简单、经济、设计维护方便、运行可靠,具有推广应用价值。

根据双向可控硅的原理,不仅管子在正反向电压时都能导通,而且控制极在正负脉冲作用下也都可以触发。实践证明,图3(a)和(b)的触发状态控制灵敏度最高,应用最多。

图4是双向可控硅交流开关的基本线路。双向可控硅的控制极通过限流电阻R由交流电源获得触发信号。当按钮AN揿下时,由于主电路和控制极触发信号用同一电源,所以主电路在双向可控硅加正反向电压的同时,控制极也有正反向的交流信号进行触发,以维持主电路的导通。当放开按钮AN时,控制极电流为零,主电路交流电压过零点时,双向可控硅自行关闭。根据这个特点,按钮AN可采用继电器、行程开关、微动开关等以实现各种不同用途的自动控制。下面介绍双向可控硅无触点开关的几种典型应用线路和调试使用时应该注意的几个问题。

典型应用
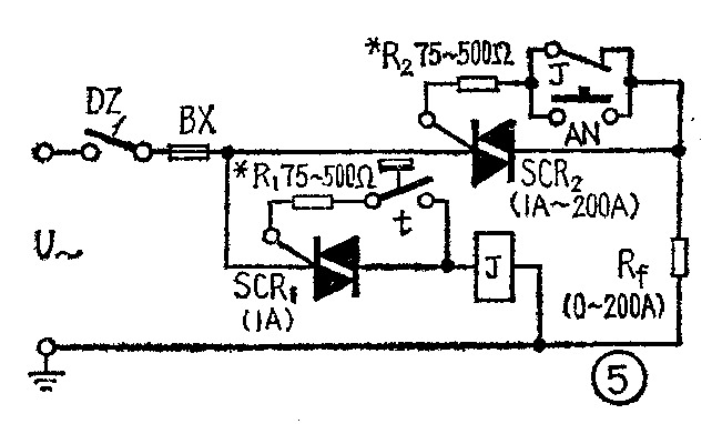
1.单相电阻性负载
图5是双向可控硅交流开关应用于电阻性负载电路中的典型线路图。当t采用WXG型水银电接点温度计的触点时,可以进行300℃以下、精确度达±0.5℃~±2℃的恒温控制,可用于各种恒温箱、电热炉、烘箱,恒温设备等。将水银电接点温度计调节至所需要的温度,当工作温度低于整定温度时t断开,辅助双相可控硅SCR\(_{1}\)截止,继电器J失电,其常闭触点接通SCR2的控制极回路,使SCR\(_{2}\)触发导通,负载Rf正常工作。当工作温度高于整定温度时,t闭合,SCR\(_{1}\)触发导通,常闭触点J打开,SCR2截止,负载R\(_{f}\)断电停止工作。SCR1是用来保护水银触点的,可采用1安培的小管子。J采用一般小型继电器均可。

如果我们用各类温度调节仪或电子电位差计来代替水银温度导电计,可以在0℃~1600℃范围内调节控制各类型单相热处理电炉(如图6所示)。

2.单相电感性负载
图7是双向可控硅应用于电感性负载电路的典型线路。由于电感性负载在电源通、断的瞬间会产生自感电动势,电压上升率较大,容易造成可控硅元件的误导通和损坏,因此在使用大电感性负载时需在SCR旁并联RC吸收装置以限制电压上升率。该线路可用作各种变压器的初、次级断路开关;交流弧焊机、点焊机、单相电动机的电源开关。将按钮AN引出装在电焊机等焊枪手柄或踏脚上,在焊机空载时切断电源以减小变压器空载损耗,节约用电。

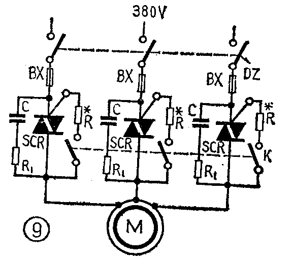
3.三相负载
4.功率放大
利用双向可控硅作为功率放大,能将集成电路的小功率输出放大去驱动大功率的执行元件,实现无电弧转换,提高系统的可靠性。图10所示是MOS、HTL、TTL三种集成电路的转换线路,它们都是利用小型继电器J的触点,去接通、断开图5~图9的各种交流开关,实现自动控制。

调试
图11是单相使用的双向可控硅的调试线路图。用万用表交流档测U\(_{AC}\),在控制极回路中串接一个固定电阻R和一个电位器W。合上DZ、AN,调节W使UAC下降。一般电源电压为220伏时,U\(_{AC}\)调到小于1~5伏即可。此时测出总电阻R\(^{*}\)的值(R*=Rw+R),用一固定电阻换上。R值一般在75欧~5千欧,功率小于2瓦。

对于电源是三相交流电的,可用上法调节各相的电阻R\(^{*}\),使各相的U\(_{AC}\)值相同且都小于1~5伏。
使用及注意事项
1.元件转折电压的选择:双向可控硅能承受过电压而不被损坏,因此不需加过大的安全系数,一般选双向可控硅的正、反向转折电压大于电网峰值电压即可。
2.元件额定电流的选择:双向可控硅的额定电流是以有效值计算的,元件额定电流的选择只要大于最大负载电流有效值即可。
3.关于过流过压问题:双向可控硅可以承受过电压,一般不需加过电压保护。但双向可控硅过流能力比普通可控硅小,要特别注意选择元件的额定电流值,并要加快速熔断器。
4.触发电流:本文所述的交流开关,不用晶体管触发电路,仅用一个电阻,从负载取得触发信号,调整交连触发电阻就能使元件正常工作,对元件的选择要求不高。一般选择触发电流大的元件,能提高电路的抗干扰能力。
5.电感性负载:电感性负载电路中存在自感电动势,容易产生过电压而使元件误导通,因此要选择转折电压较高的元件。另外双向可控硅的电压上升率比普通可控硅高,可以达到500伏/微秒。在大电感负载电路中可以在双向可控硅的A、C极间并联R—C吸收装置(如图7、图9所示)。一般R取100欧姆,C取0.1微法,就可把电压上升率限制在元件允许的使用范围内。(沈琦)

