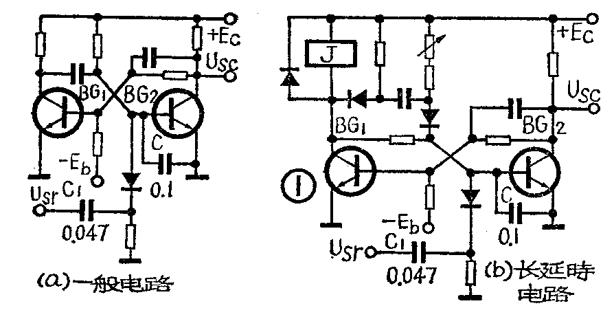
有些简单的时间程序控制装置中,采用图1所示的单稳态电路来完成每道工序的自动定时或延时的作用。但在具体使用时,往往发现由于外界电器设备的干扰,如电机启动、继电器的吸合释放、闸刀开关的启闭等,都可能产生一个干扰信号,足以使电路受误触发而造成失控,影响整个工序的正常进行。

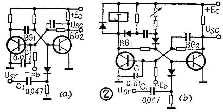
我们在实践中发现,采用图2这样的办法,把图1中接在常态导通管BG\(_{2}\)的b—e极之间的电容C改接到常态截止管BG1那边去,可以增强电路的抗干扰能力。我们作了个比较,在图1的电路中,C采用0.1μf尚不能排除干扰的同样条件下,在图2的电路中仅用0.01μf的电容,一般就足以排除干扰信号所引起的误触发了。

BG\(_{2}\)是常态导通管,把电容C接在BG2的b—e极间,由于导通管的发射结电压很低(硅管约为0.6V,锗管约0.3V),常态下电容C两端的电压仅为BG\(_{2}\)的b—e结电压。当输入端出现干扰脉冲时,只要它能使电容C稍稍放电到低于BG2导通所需的阈值电压,BG\(_{2}\)就会截止,电路就会迅速翻转,整个电路就会出现误动作。
把电容C改接到BG\(_{1}\)的b—e极间,因BG1是常态截止管,它的基极接有截止偏压,若要使BG\(_{1}\)翻转,必需使电容C两端的电荷放完并反向充电到BG1导通所需要的阈值电压。所以当窄的干扰脉冲出现时,只要电容C由BG\(_{1}\)截止时的电位放电,然后再达到BG1导通时的电位的时间,大于干扰脉冲的作用时间,电路就不易发生误翻转。
这样接法会使电路的触发灵敏度有所降低,但用在简单时间程序控制电路中,关系不大。电容C的容量一般取0.01μf~0.1μf之间,可由实际调试决定,只是当C取值较大时,应适当加大触发电路中C\(_{1}\)的值。
与图3所示的较为复杂的防干扰单稳态电路相比,我们在令电路延时脉冲宽度分别为零点几秒到几秒时观察,图2的接法对于外界干扰的抑制能力仍较强。

这种电路不宜用在对脉冲波形要求严格,或需要高速状态工作的装置中。(黄立人)